TX 1000 Wide Track Compact Tool Carrier
Información sobre productos
- Nº Modelo: 22328
- Nº Serie: 400000000 - 400413999
- Tipo de producto: Compact Utility Loaders
Cargando...
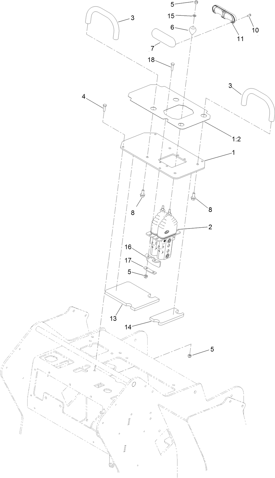
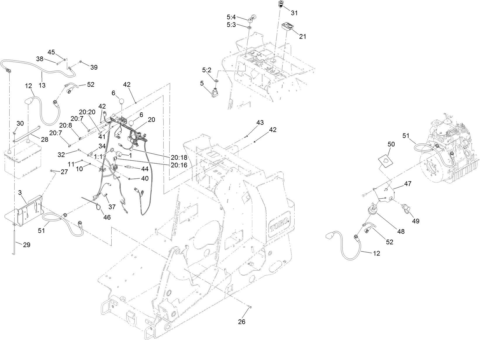
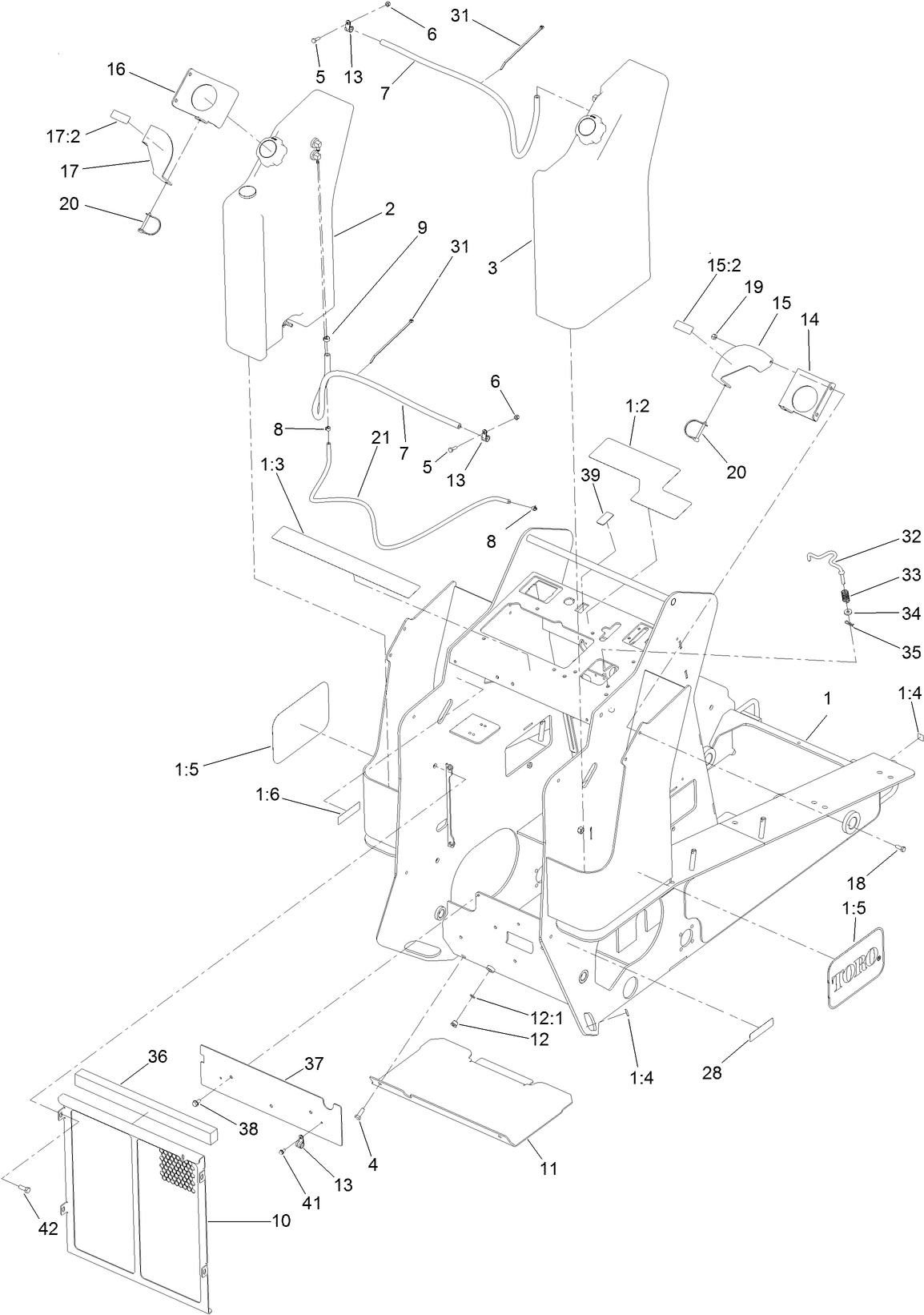
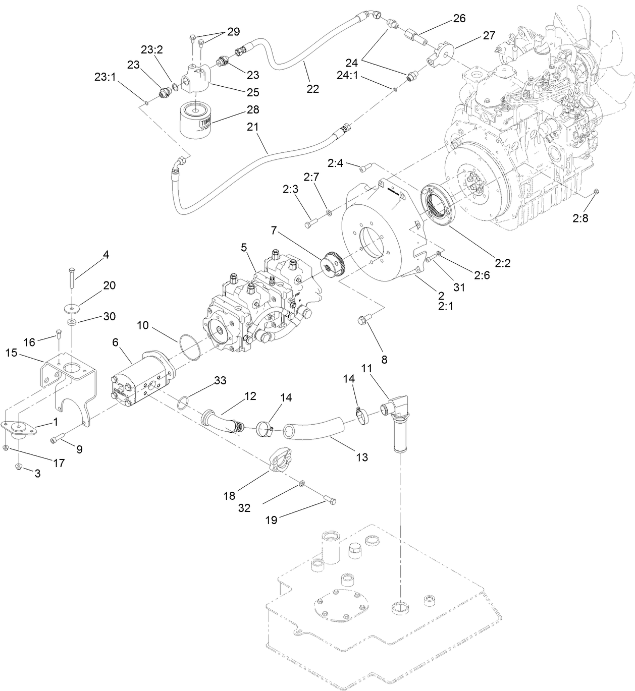
Dibujos de ensamblaje
Buscar una piezas en los dibujos de ensamblaje:
-
Manual del operador
-
Catálogo de piezas
-
Declaración de Conformidad UE
Light Kit, TX 1000 Compact Tool Carrier (Número de pieza 131-9247)
Accesorio de cazo 0,1 m3 (Número de pieza 22340)
Utilice este cazo de serie para mover tierra, piedras, arenas u otros materiales dentro y fuera de la obra. El filo de corte de acero endurecido mejora la capacidad de corte y de excavación, especialmente en condiciones difíciles, y reduce el desgaste. Capacidad = 1 m³.
Adjustable Forks, TX 1000 Compact Utility Loaders (Número de pieza 22341)
Accesorio de cazo 0,25 m3 (Número de pieza 22342)
Diseñado para el Dingo® TX 1000, volumen = 0,25 m3. Este cazo de gran volumen es ideal para mover tierra, piedras, arena y otros materiales dentro y fuera de la obra. Ideal para trabajos con grandes cantidades de material a mover.
Accesorio de cazo para materiales ligeros para minicargadoras (Número de pieza 22410)
Diseñado para mover materiales ligeros, tales como virutas de corteza, mulch, nieve y mantillo. La mayor capacidad del cazo, de 0,2 m³ es ideal para manejar cargas grandes de materiales ligeros. El filo de corte de acero endurecido mejora la capacidad de corte y de excavación, especialmente en condiciones difíciles, y reduce el desgaste.
Accesorio de pala utilitaria (Número de pieza 22414)
La pala hidráulica del Dingo de Toro aumenta enormemente la versatilidad de su sistema Dingo. Este accesorio increíblemente versátil puede utilizarse para diversos trabajos de movimiento de tierras o nieve. Ideal para rellenar zanjas después de plantar filas de árboles o instalar tuberías de riego. Su pala hidráulica puede seguir trabajando durante el invierno, limpiando la nieve de las aceras en una sola pasada.
Accesorio de perforadora (Número de pieza 22420)
La perforadora Dingo® de Toro® permite perforar por debajo de aceras y caminos de acceso para simplificar la instalación de tuberías de riego y cables. Las varillas más cortas y la capacidad de bajar el cabezal de perforación por debajo del nivel del suelo le permiten trabajar en lugares tanto abiertos como de espacio reducido, aumentando su productividad.
Kit de varilla y escariador (Número de pieza 22421)
Perfore fácilmente por debajo de caminos de acceso y aceras para simplificar la instalación de sistemas de riego y el tendido de cables. Se utiliza con la perforadora modelo 22420. Profundidad de trabajo: 48 cm. Barrenas y escariadores de hasta 8,9 cm de diámetro.
Multi-Purpose Tool, Dingo (Número de pieza 22423)
Accesorio de rastrillo giratorio (Número de pieza 22426)
El Rastrillo giratorio de Toro es la herramienta perfecta para la preparación de lechos de siembra y lechos para tepes. El tambor rotativo del rastrillo giratorio pulveriza el suelo, elimina los baches y rellena los huecos en una sola pasada, mientras retira piedras y residuos. El diseño de los dientes de carburo puro produce el mejor subsuelo de siembra posible, fomentando la retención de humedad y el rápido crecimiento de las plantas.
Accesorio de desbastador de tocones (Número de pieza 22429)
El desbastador de tocones del Dingo® de Toro® se acopla fácilmente a las minicargadoras Dingo o Dingo TX. Desbastar tocones es más rápido y más productivo con el accesorio de desbastador de tocones para la Dingo de Toro.
Accesorio de horquilla para árboles (Número de pieza 22438)
Las horquillas hidráulicas para árboles del Dingo de Toro pueden ayudarle a plantar árboles y arbustos grandes rápidamente y sin esfuerzo, además de transportar toda clase de materiales por su jardín o vivero. La minicargadora Dingo es especialmente fácil de manejar, y le ayuda a transportar y posicionar árboles y arbustos con precisión.
Accesorio de hormigonera (Número de pieza 22442)
Este exclusivo accesorio puede mezclar y verter hasta 90,7 kg de cemento seco. El tornillo sinfín de diseño especial de la hormigonera mantiene el cemento dentro del tambor durante la mezcla. Este mismo diseño del sinfín permite verter el cemento en los hoyos preparados para postes de vallas ¡con los postes ya colocados!
Accesorio de motocultor (Número de pieza 22445)
El accesorio de motocultor para el Dingo de Toro aumenta enormemente la productividad y el rendimiento de su sistema Dingo. Rompa suelos duros hasta una profundidad de 15,2 cm. Evite que se obstruya el motocultor usando un sencillo control manual para invertir la dirección de las fresas y despejar atascos causados por rocas o residuos.
Snowthrower, Dingo and Dingo TX (Número de pieza 22456)
Recogemigas (Número de pieza 22464)
Diseño de muelle, accesorio de zanjadora para facilitar la limpieza de las zanjas
Trench Filler, Compact Utility Loader (Número de pieza 22472)
Accesorio de zanjadora de alto par (Número de pieza 22473)
El cabezal de zanjadora con sistema de transmisión profesional de alto par garantiza un gran rendimiento en los suelos más exigentes, desde roca hasta caliche. Excava zanjas de hasta 127 cm por debajo de la superficie. El cojinete de rodillos delantero de servicio pesado y el brazo reversible resistente a la abrasión proporcionan años de servicio fiable.
Accesorio de zanjadora de alta velocidad (Número de pieza 22474)
Ideal para abrir zanjas de manera rápida y eficiente en la mayoría de las condiciones de suelo. Ideal para cables, tuberías o instalaciones de riego.
Accesorio de cazo estrecho (Número de pieza 22520)
Ideal para obras de construcción y remodelación de dimensiones reducidas, al poder pasar sin problemas por puertas de 91,4 cm. Este cazo de 88 cm de ancho le permite pasar por espacios estrechos, incluyendo cancelas y puertas. Mueva tierra, piedras, arenas u otros materiales dentro y fuera de la obra. Ideal para cualquier modelo Dingo® equipado con ruedas y neumáticos estrechos.
Grapple Rake, Compact Utility Loaders (Número de pieza 22521)
Accesorio de ahoyador de alto par (Número de pieza 22805)
En cualquier cabezal de transmisión, a mayor potencia (par) se obtiene menos velocidad (revoluciones por minuto), y viceversa. El cabezal de alto par transmite un par muy elevado a la barrena a una velocidad más lenta. Gracias a esta mayor par motor, el Dingo puede efectuar perforaciones de 76,2 cm de diámetro a una profundidad máxima de 1,8 m en arcilla, gravilla, arenisca y muchos otros materiales en los que otros cabezales menos potentes se atoran.
Accesorio de ahoyador para minicargadoras (Número de pieza 22806)
Este accesorio pivota en todas las direcciones, permitiendo crear perforaciones verticales en terrenos irregulares. La mayor velocidad de este cabezal de taladro es ideal para taladros de hasta 61 cm de diámetro. Cambie de barrena rápidamente para crear hoyos de diferentes tamaños para postes, cimentaciones, cabezales de riego y más.
Barrena 46 cm (Número de pieza 22814)
La barrena de 46 cm requiere el accesorio de cabezal de barrena 22805 o 22806.
Barrena 61 cm (Número de pieza 22815)
La barrena de 61 cm requiere el accesorio de cabezal de barrena 22805 o 22806.
Barrena 76 cm (Número de pieza 22816)
La barrena de 76 cm requiere el accesorio de cabezal de barrena 22805 o 22806.
Extensión de barrena de 30 cm (Número de pieza 22818)
Añada una extensión a cualquier barrena para aumentar la profundidad.
Extensión de barrena de 24” (Número de pieza 22819)
Añada una extensión a cualquier barrena para aumentar la profundidad.
Barrena continua 15 cm (Número de pieza 22820)
La barrena continua de 15 cm requiere el accesorio de cabezal de barrena 22805 o 22806.
Barrena continua 23 cm (Número de pieza 22821)
La barrena continua de 23 cm requiere el accesorio de cabezal de barrena 22805 o 22806.
Barrena continua 30 cm (Número de pieza 22822)
La barrena continua de 30 cm requiere el accesorio de cabezal de barrena 22805 o 22806.
Barrena continua 38 cm (Número de pieza 22823)
La barrena continua de 38 cm requiere el accesorio de cabezal de barrena 22805 o 22806.
Accesorio de arado vibratorio (Número de pieza 22911)
El accesorio de arado vibratorio del Dingo® de Toro® reduce enormemente el tiempo necesario para la instalación de sistemas de riego y cables. Diseñado y fabricado exclusivamente por Toro para su uso específico con el Dingo, el arado vibratorio optimiza el rendimiento en el tendido de tuberías a la vez que minimiza los daños al césped durante la instalación. La cuchilla acanalada y el portabobinas sirven para instalar alambre o cable.
Accesorio de cultivador de suelo (Número de pieza 23102)
La cultivadora es el accesorio imprescindible para la preparación del suelo. Este accesorio increíblemente versátil puede utilizarse para preparar y nivelar el suelo, y para homogeneizar materiales de jardinería, compost y fertilizante. Este accesorio también entierra residuos como piedras, terrones de suelo y hierba. Transforma un terreno sin tratar, dejándolo listo para sembrar en una sola pasada.
Concrete Breaker, Dingo Compact Utility Loaders (Número de pieza 23135)
Accesorio de niveladora (Número de pieza 23165)
Esta herramienta versátil de alta productividad es un accesorio imprescindible para cualquier obra. Utilícelo para nivelar, distribuir y dar acabado a los materiales de jardinería, rellenar zanjas y romper el césped. Asimismo, es muy útil para transportar materiales por la obra.
Double Detent Valve (Número de pieza 23171)
-
Nº Modelo
22328 -
Nº Serie
400000000 - 400413999 -
Nombre del producto
TX 1000 Wide Track Compact Tool Carrier -
Marca del producto
Toro -
Tipo de producto
Compact Utility Loaders



























































