3.06 m3 MH-400 시리즈 흩뿌림 방식 배토기
제품 정보
- 모델 번호: 44954
- 일련번호: 401252001 - 402500000
- 제품 유형: Top Dressers
로드 중...
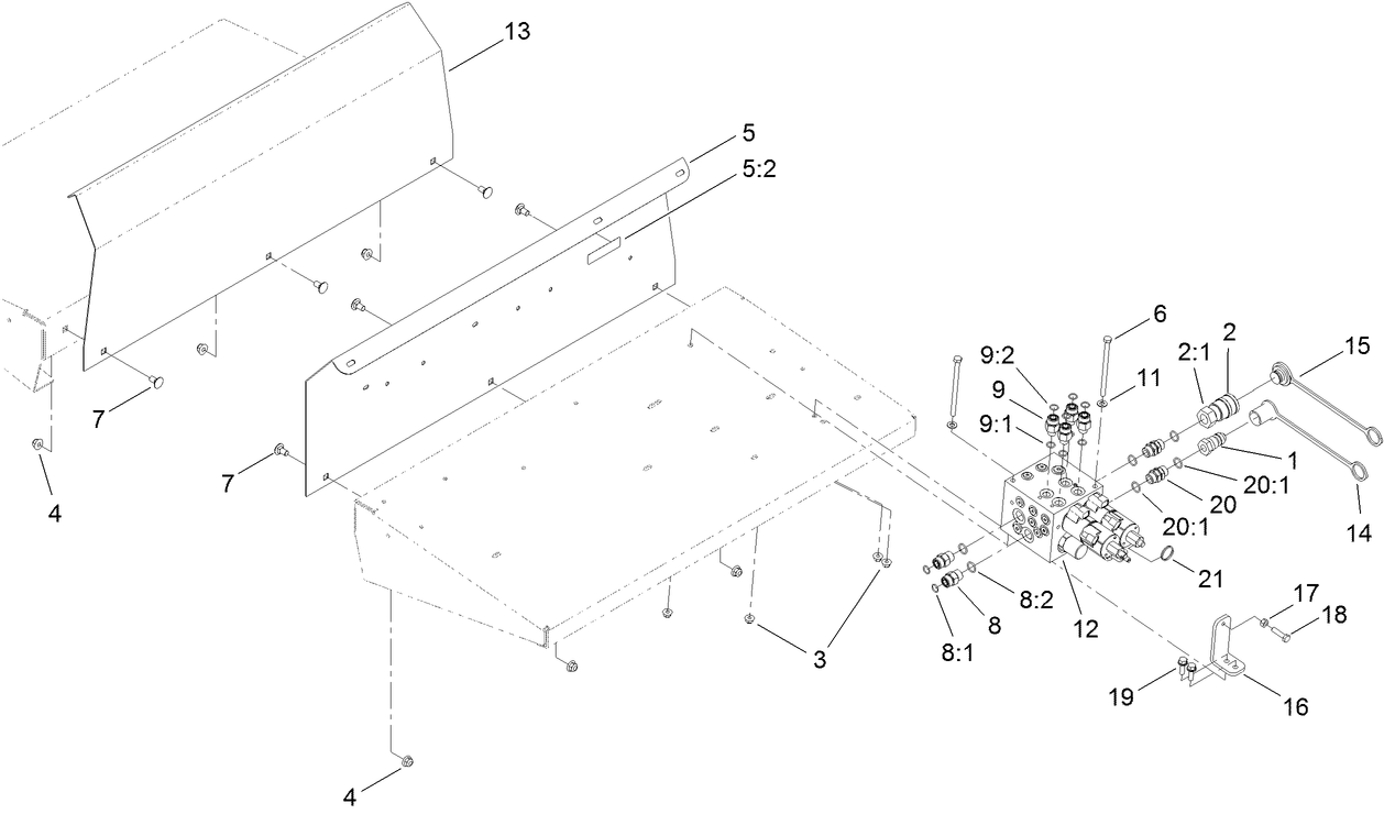
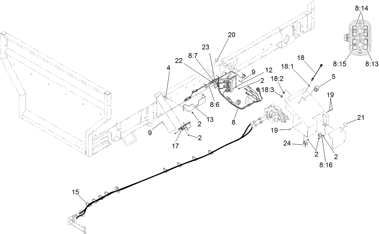
조립 도면
조립 도면 내의 부품 검색:
-
사용 설명서
-
부품 카탈로그
-
EU 적합성 선언서
-
도면 - 전기
-
도면 - 유압
TETHERED CONTROL ASM (부품 번호 163-3510)
Red Spray Paint - Case of 6 (부품 번호 361-10)
Red Paint - Gallon Can (부품 번호 361-11)
PAINT-SPRAY, TORO SEMI-GLOSS BLACK (부품 번호 361-9)
Hopper Vibrator Kit, ProPass Top Dresser and MH-400 Material Delivery (부품 번호 44723)
MH-400 Conveyor/Swivel/Caddy (부품 번호 44938)
SH/EH Twin Spinner, MH-400 Material Delivery Unit (부품 번호 44944)
2-Wheel to 4-Wheel Brake Conversion Kit, MH-400 Material Delivery Unit (부품 번호 44945)
-
모델 번호
44954 -
일련번호
401252001 - 402500000 -
제품명
3.06 m3 MH-400 시리즈 흩뿌림 방식 배토기 -
제품 브랜드
Toro -
제품 유형
Top Dressers
























