Dust-Control 66in Rake-O-Vac Sweeper
제품 정보
- 모델 번호: 07055
- 일련번호: 403250001 - 405699999
- 제품 유형: Sweepers
로드 중...
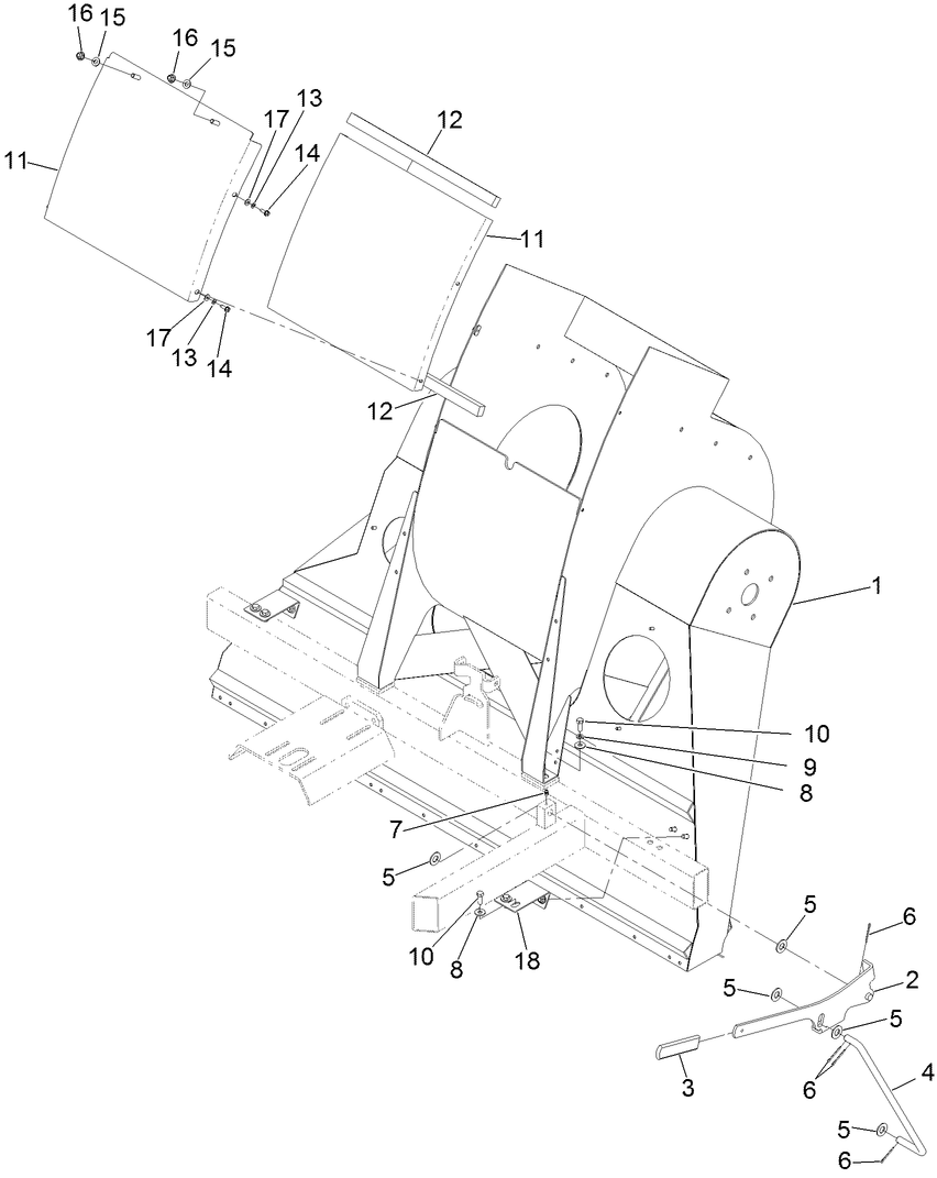
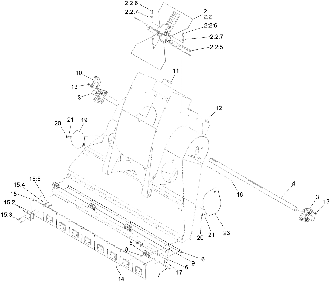
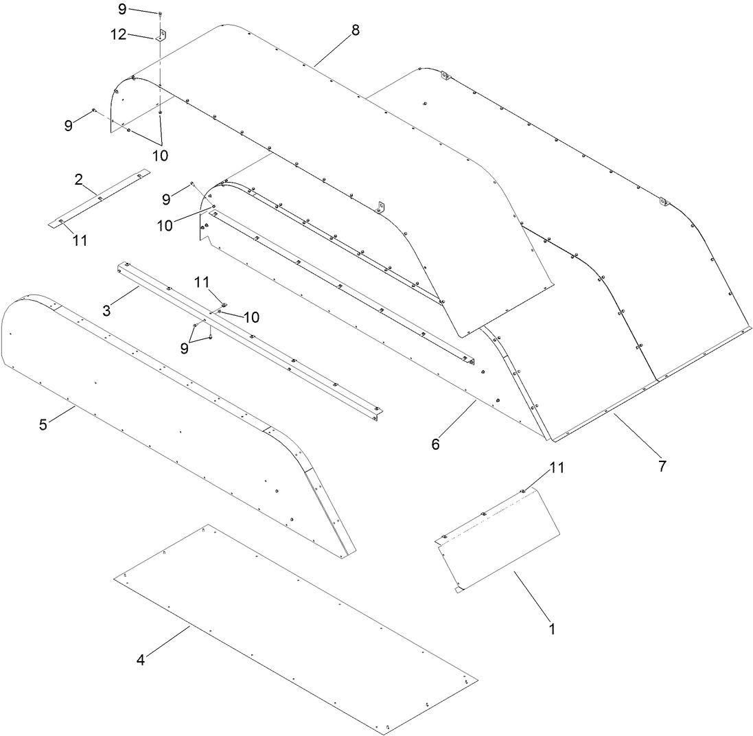
조립 도면
조립 도면 내의 부품 검색:
-
사용 설명서
-
부품 카탈로그
-
EU/UK 적합성 선언서
66" Street Broom, Rake-O-Vac (부품 번호 07162)
Guard Kit [ROV] (부품 번호 137-6600)
Red Spray Paint - Case of 6 (부품 번호 361-10)
Red Paint - Gallon Can (부품 번호 361-11)
PAINT-SPRAY, TORO SEMI-GLOSS BLACK (부품 번호 361-9)
SCREEN - SPARK ARRESTOR (부품 번호 94-8157)
-
모델 번호
07055 -
일련번호
403250001 - 405699999 -
제품명
Dust-Control 66in Rake-O-Vac Sweeper -
제품 브랜드
Toro -
제품 유형
Sweepers





















