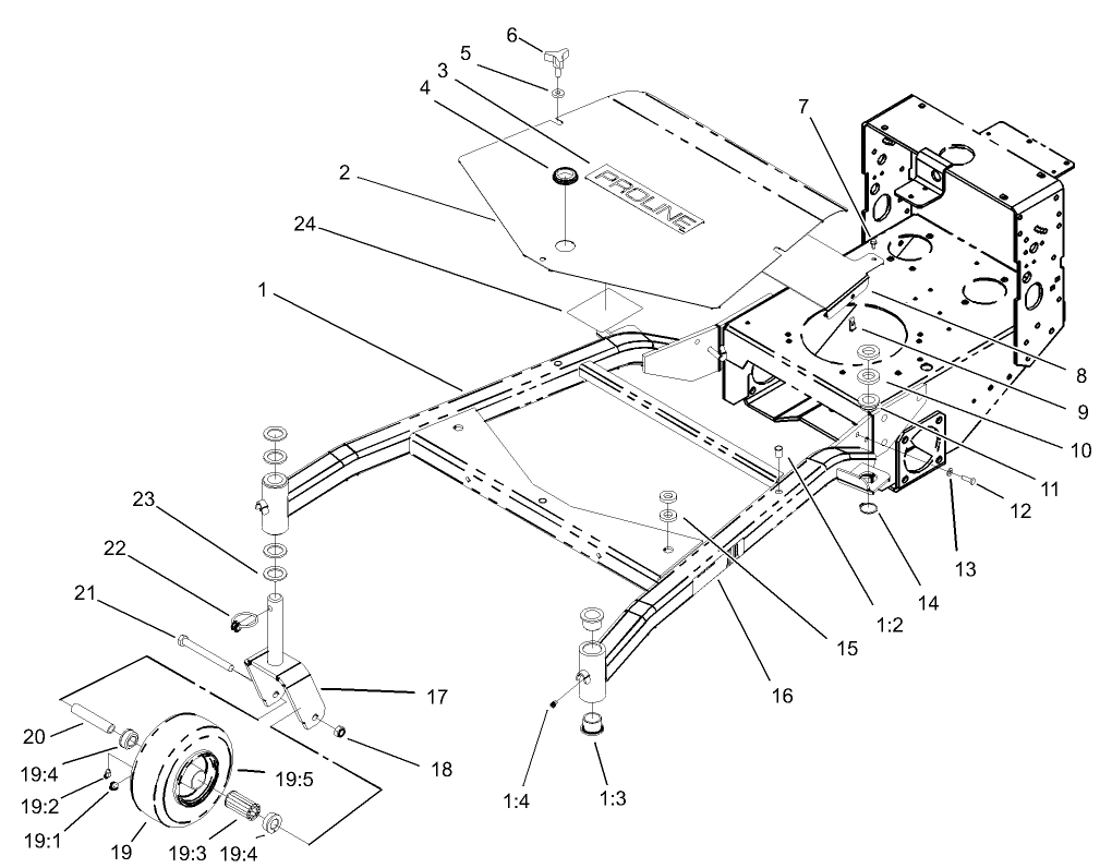
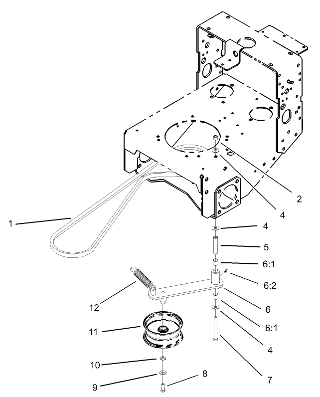
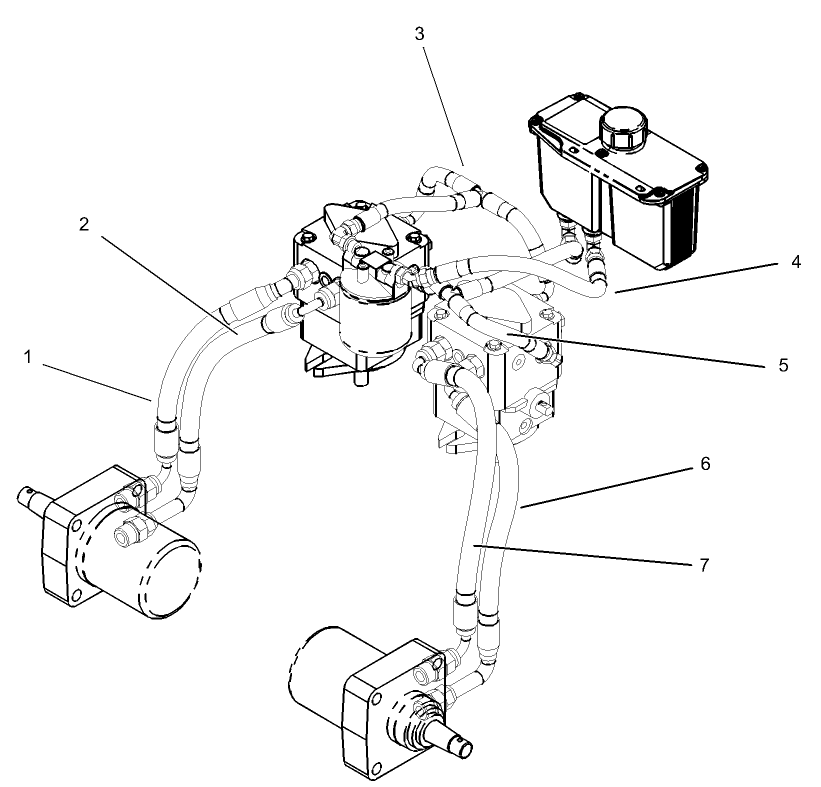
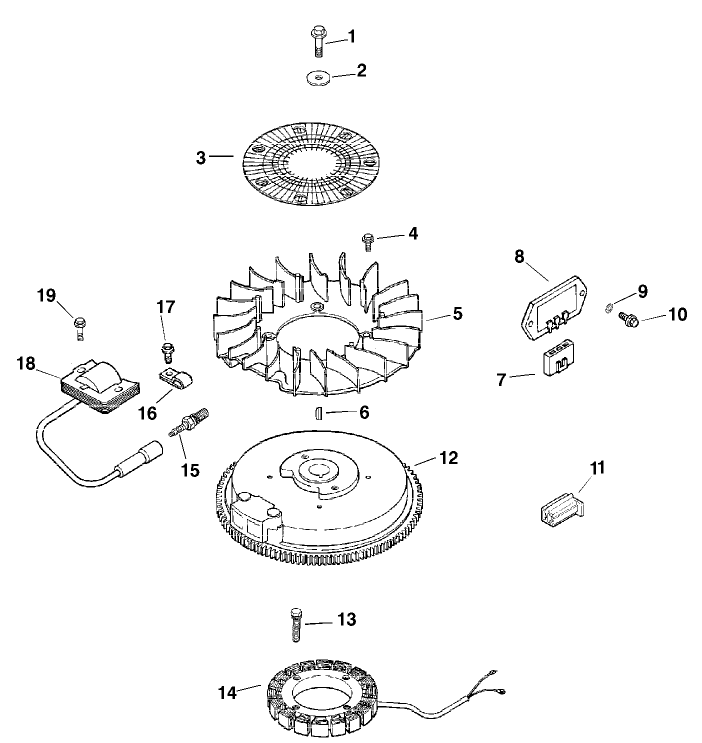
Mid-Size ProLine Pistol Grip Hydro, 15 hp w/ 36" SD Mower
Información sobre productos
- Nº Modelo: 30433
- Nº Serie: 230000001 - 230999999
- Tipo de producto: Walk Behind Mowers
Cargando...
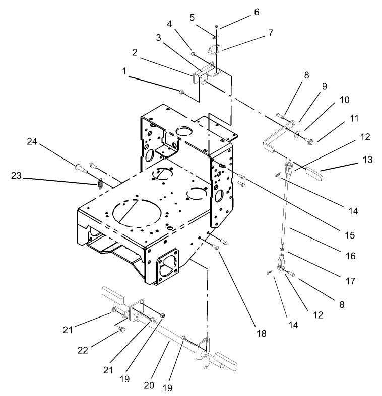
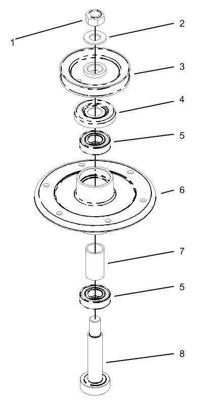
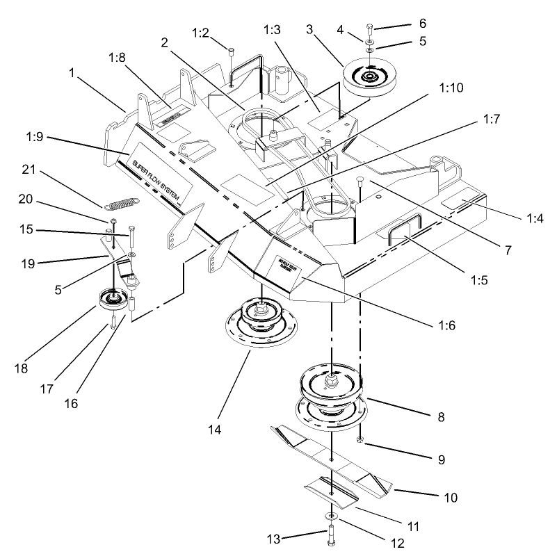
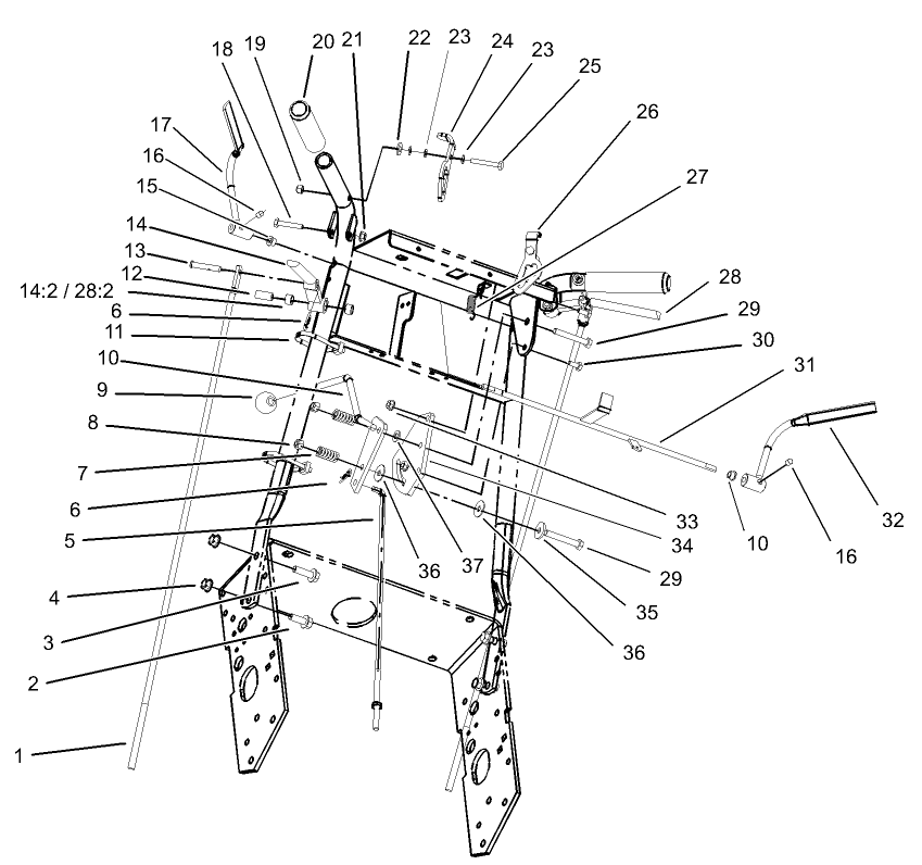
Dibujos de ensamblaje
Buscar una piezas en los dibujos de ensamblaje:
-
Manual de mantenimiento
-
Manual del operador
-
Catálogo de piezas
BLADE-ATOMIC (OPTIONAL) (Número de pieza 104-1301)
Electric Starter Kit (Número de pieza 104-8580)
36" Recycler Kit (Número de pieza 105-3180)
3bu. Soft Bagger, 36" and Larger Mower Decks (Número de pieza 30104)
Steel Grass Catcher (Número de pieza 30107)
Tru Trak Sulky (Número de pieza 30110)
-
Nº Modelo
30433 -
Nº Serie
230000001 - 230999999 -
Nombre del producto
Mid-Size ProLine Pistol Grip Hydro, 15 hp w/ 36" SD Mower -
Marca del producto
Toro -
Tipo de producto
Walk Behind Mowers -
Serie del producto
Mid-Size ProLine Mower -
Tipo de chasis
Mid-size - Floating Deck -
Anchura
36 inch -
Descarga
Side -
Fabricante del motor
Kohler -
Potencia del motor
15 hp -
Tipo de motor
4 Cycle CARB2, EPA2 -
Sistema de arranque del motor
Recoil -
Tipo de transmisión
Hydrostatic
-
Drive System: Ground Speed
Fwd. 0 - 6.0 Rev. 0 - 2.5 mph -
Engine: Engine Speed
3600±100 RPM -
Engine: Spark Plug Gap
.040"/ 1.02mm -
Chassis: Height of Cut Range
1" - 4.5" (25-114mm) -
Engine: Ignition Coil Air Gap
.0078-.0118" / .2-.3mm -
Chassis: Tire Pressure
12-14 psi rear / 25-30 psi front -
Drive System: Gearbox Lubricant
67 oz. (2.0 liters) Mobil 1 15w-50 synthetic motor oil -
Engine: Engine Oil Type
64 oz. (1.9 Liter) SAE 10W-30 -
Engine: Spark Plug
Champion RC12YC or Champion Premium Gold 2071

























