Workman® HDX 2WD
Información sobre productos
- Nº Modelo: 07384
- Nº Serie: 315000001 - 315000500
- Tipo de producto: Vehicles
Cargando...
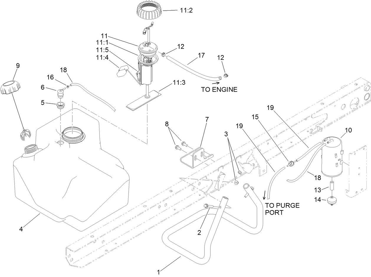
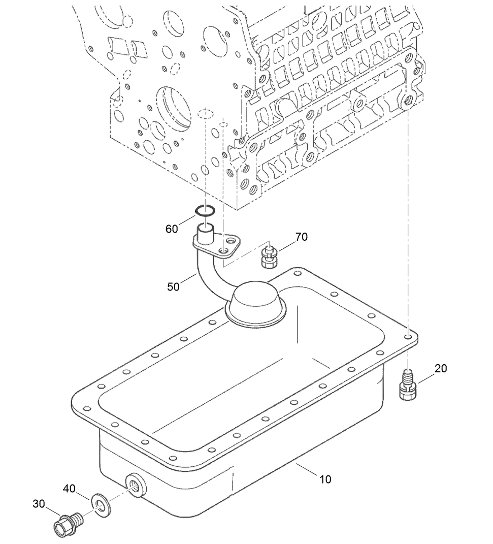
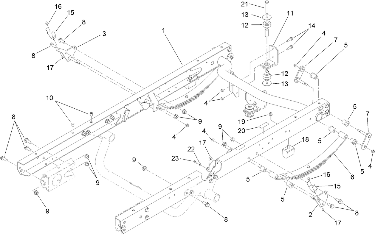
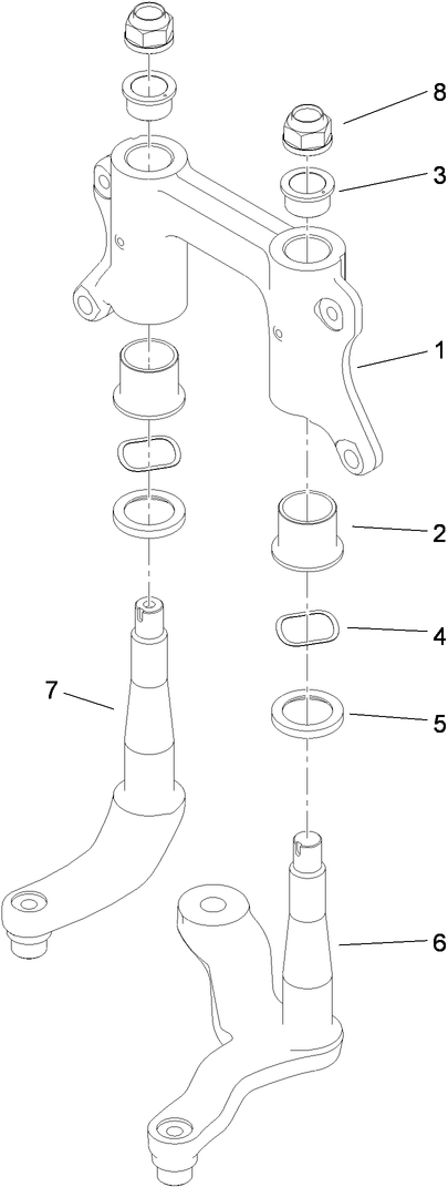
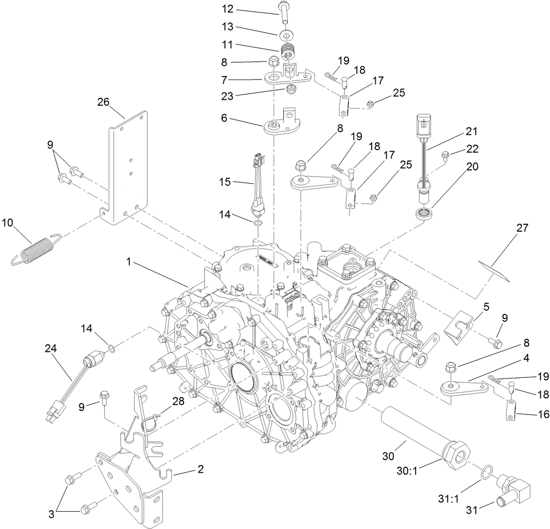
Dibujos de ensamblaje
Buscar una piezas en los dibujos de ensamblaje:
-
Manual de mantenimiento
-
Manual del operador
-
Catálogo de piezas
-
Garantía de emisiones evaporativas del motor
-
Esquema eléctrico
-
Esquema Hidráulico
-
Boletín de mantenimiento
Pro Sweep 5200 Turf Sweeper (Número de pieza 07066)
Full Area Flatbed, Heavy-Duty Workman Utility Vehicle (Número de pieza 07301)
Full Area Flatbed Side Kit, Workman (Número de pieza 07302)
Fold Down Side Kit, Workman (Número de pieza 07303)
High-Flow Hydraulic Kit, Workman HD/HDX/HDX-D Series Utility Vehicle (Número de pieza 07316)
2/3 Area Flatbed, Workman Heavy Duty Utility Vehicle (Número de pieza 07321)
2/3 Area Flatbed Side Kit, Workman (Número de pieza 07322)
Bed Liner, Workman (Número de pieza 07331)
CAB-HD WORKMAN (Número de pieza 07339)
1/3 Area Flatbed, Workman Heavy-Duty Utility Vehicle (Número de pieza 07341)
1/3 Area Platform Lift, Workman Heavy-Duty Utility Vehicle (Número de pieza 07347)
MD/HD HEATER KIT-LIQUID COOLED ENGINE (Número de pieza 07349)
CANOPY-HD WORKMAN (Número de pieza 07372)
WINDSHIELD-HD WORKMAN (Número de pieza 07373)
CAB DOOR KIT-SLIDING WINDOW/HD WORKMA (Número de pieza 07375)
CAB DOOR KIT-SOLID WINDOW/HD WORKMAN (Número de pieza 07376)
Hitch Frame Kit, Workman HD/HDX/HDX-D Utility Vehicle (Número de pieza 07377)
4 POST ROPS-HD WORKMAN (Número de pieza 07378)
HAND THROTTLE KIT (HDX KUBOTA) (Número de pieza 07388)
Rear PTO Kit, Heavy-Duty Workman Vehicles (Número de pieza 07419)
Synthetic Turf Conditioner, Tow-Behind Accessory (Número de pieza 08791)
ProCore Processor (Número de pieza 09749)
Backup Alarm Kit, 2004 and After Workman Heavy-Duty Utility Vehicles (Número de pieza 107-8037)
PREMIUM ATF DRUM (Número de pieza 108-1185)
PREMIUM ATF PAIL (Número de pieza 108-1186)
PREMIUM ALL PURPOSE GREASE (Número de pieza 108-1190)
Remote Hydraulics Manifold Kit, Heavy-Duty Workman Vehicles (Número de pieza 110-2626)
Rear Tire (Número de pieza 110-5132)
Spark Arrestor Kit, Groundsmaster 7200/7210 Traction Unit (Número de pieza 112-1688)
WHEEL-12X8.0 (Número de pieza 114-8260)
Horn Kit, Workman MD/MDX/HD/HDX/HDX-D Vehicle (Número de pieza 115-7825)
Side Mirror Kit, 2009 and After Heavy Duty Workman Vehicle (Número de pieza 115-7849)
ROPS SIGNAL KIT-HD WORKMAN (Número de pieza 117-4825)
Worklight Kit, 2009 and After Heavy Duty Workman Vehicle (Número de pieza 117-4827)
REMOTE HYD FLOAT KIT-HD WORKMAN (Número de pieza 117-4828)
MIRROR KIT, CAB (Número de pieza 117-4830)
Receiver Hitch Kit, Workman HD/HDX/HDX-D Series Utility Vehicle (Número de pieza 117-4831)
TRAILER SIGNAL KIT (Número de pieza 117-4836)
TIRE AND WHEEL ASM 24X13-12 (Número de pieza 117-4838)
Canopy for Four-Post Roll-Over Protection System Kit, Workman HD/HDX/H (Número de pieza 119-9457)
Road Light and Homologation Kit, Workman HD Utility Vehicle (Número de pieza 120-5030)
Brake and Signal Light Kit, Workman HD Utility Vehicle (Número de pieza 120-5045)
High Air Intake Kit, Workman HD/HDX/HDX-D Utility Vehicle (Número de pieza 121-6285)
Trailer Brake Kit, Workman HD/HDX/HDX-D Series Utility Vehicle (Número de pieza 125-0123)
1/3 AREA COVER KIT (Número de pieza 127-8739)
Spreader Base Unit, 2002 and later Workman 3000 and 4000 Series (Número de pieza 41253)
VICON SPREADER (Número de pieza 41256)
Recebadora 1800 0,5 m³ (Número de pieza 44225)
El Topdresser 1800, que tiene una capacidad de 0,5 m³, se monta en un Toro Workman o en otro vehículo utilitario y receba de manera precisa y productiva a una velocidad de hasta 13 km/h. Una palanca remota de conexión/desconexión permite una aplicación y un control precisos desde el confort del compartimento del operador.
Core Harvester Adapter Kit, Heavy-Duty Workman Vehicles (Número de pieza 44242)
Recebadora 2500 0,7 m³ (Número de pieza 44507)
Para obtener el máximo de rendimiento, elija la Toro® Topdresser 2500: una unidad autónoma con tracción integral, remolcada por un Toro® Workman® u otro vehículo utilitario. Con la capacidad de 0,7 m³ y una velocidad de trabajo de 13 km/h, podrá abordar los trabajos de recebo más exigentes.
Pro Force Debris Blower (Número de pieza 44538)
Road-Ready Pro Force Debris Blower (Número de pieza 44539)
ProPass 200 Top Dresser with Twin Spinner and Wireless Control (Número de pieza 44700)
Recebadora ProPass™ Serie 200 de 0,54 m³ (Número de pieza 44701)
La recebadora centrífuga Toro ProPass™ 200 ofrece patrones de distribución desde ultraligero para aplicaciones superficiales, hasta ultradenso para el llenado de los orificios que deja la aireación, con toda precisión. Un controlador inalámbrico ofrece el método más sencillo de ajustar y controlar las funciones de distribución de material. Disponible en una versión para montar en un vehículo utilitario y una versión remolcada.
Series/Modelos:
- ProPass 200 – Remolcada o montada en la plataforma
- ProPass 200 – Remolcada o montada en la plataforma con controlador inalámbrico
Automatic Tailgate Release Kit (Número de pieza 92-1220)
Fuse Block (Número de pieza 92-2641)
PTO Over Running Clutch Kit, Workman 3000 (Número de pieza 92-2655)
Lift Kit, Topdresser 1800 (Número de pieza 92-4452)
Mid-Mount Kit for Platform Lift, Workman 3000 Series (Número de pieza 93-3741)
Rear 1/3 Area Mounting Kit (Número de pieza 93-9249)
Tire-Rear (Número de pieza 98-2993)
TIRE - REAR, INDUSTRIAL (Número de pieza 99-1091)
-
Nº Modelo
07384 -
Nº Serie
315000001 - 315000500 -
Nombre del producto
Workman® HDX 2WD -
Marca del producto
Toro -
Tipo de producto
Vehicles -
Serie del producto
Workman Series










































































