Workman® HDX-D 4WD
Información sobre productos
- Nº Modelo: 07387
- Nº Serie: 400000000 - 401420000
- Tipo de producto: Vehicles
Cargando...
Dibujos de ensamblaje
Buscar una piezas en los dibujos de ensamblaje:
-
Manual de mantenimiento
-
Manual del operador
-
Catálogo de piezas
-
Esquema eléctrico
-
Esquema Hidráulico
-
Boletín de mantenimiento
Pro Sweep Turf Sweeper (Número de pieza 07068)
Full Area Flatbed, Heavy-Duty Workman Utility Vehicle (Número de pieza 07301)
Full Area Flatbed Side Kit, Workman (Número de pieza 07302)
Fold Down Side Kit, Workman (Número de pieza 07303)
High-Flow Hydraulic Kit, Workman HD/HDX/HDX-D Series Utility Vehicle (Número de pieza 07316)
2/3 Area Flatbed, Workman Heavy Duty Utility Vehicle (Número de pieza 07321)
2/3 Area Flatbed Side Kit, Workman (Número de pieza 07322)
Bed Liner, Workman (Número de pieza 07331)
1/3 Area Flatbed, Workman Heavy-Duty Utility Vehicle (Número de pieza 07341)
1/3 Area Platform Lift, Workman Heavy-Duty Utility Vehicle (Número de pieza 07347)
MD/HD HEATER KIT-LIQUID COOLED ENGINE (Número de pieza 07349)
CANOPY-HD WORKMAN (Número de pieza 07372)
WINDSHIELD-HD WORKMAN (Número de pieza 07373)
4 POST ROPS-HD WORKMAN (Número de pieza 07378)
Cab Kit, Workman HDX and HDX-Auto Utility Vehicle (Número de pieza 07392)
Door Kit with Sliding Window, Workman HDX Utility Vehicle (Número de pieza 07393)
Hand Throttle Kit, Serial Number 400000000 and After Workman HDX Utili (Número de pieza 07408)
Rear PTO Kit, Heavy-Duty Workman Vehicles (Número de pieza 07419)
Hand Throttle Kit, 2004 and Later Heavy-Duty Workman Vehicles (Número de pieza 07420)
Aggressive Tire Kit, Workman HD Series Utility Vehicle (Número de pieza 07422)
Synthetic Turf Conditioner, Tow-Behind Accessory (Número de pieza 08791)
ProCore Processor (Número de pieza 09749)
Backup Alarm Kit, 2004 and After Workman Heavy-Duty Utility Vehicles (Número de pieza 107-8037)
PREMIUM ATF DRUM (Número de pieza 108-1185)
PREMIUM ATF PAIL (Número de pieza 108-1186)
PREMIUM ALL PURPOSE GREASE (Número de pieza 108-1190)
Remote Hydraulics Manifold Kit, Heavy-Duty Workman Vehicles (Número de pieza 110-2626)
Rear Tire (Número de pieza 110-5132)
WHEEL-12X8.0 (Número de pieza 114-8260)
Horn Kit, Workman MD/MDX/HD/HDX/HDX-D Vehicle (Número de pieza 115-7825)
Side Mirror Kit, 2009 and After Heavy Duty Workman Vehicle (Número de pieza 115-7849)
ROPS SIGNAL KIT-HD WORKMAN (Número de pieza 117-4825)
Worklight Kit, 2009 and After Heavy Duty Workman Vehicle (Número de pieza 117-4827)
REMOTE HYD FLOAT KIT-HD WORKMAN (Número de pieza 117-4828)
Receiver Hitch Kit, Workman HD/HDX/HDX-D Series Utility Vehicle (Número de pieza 117-4831)
TRAILER SIGNAL KIT (Número de pieza 117-4836)
Manual 4-Wheel Drive Control Kit, Workman HDX/HDX-D Utility Vehicle (Número de pieza 119-0817)
Canopy for Four-Post Roll-Over Protection System Kit, Workman HD/HDX/H (Número de pieza 119-9457)
Road Light and Homologation Kit, Workman HD Utility Vehicle (Número de pieza 120-5030)
Brake and Signal Light Kit, Workman HD Utility Vehicle (Número de pieza 120-5045)
High Air Intake Kit, Workman HD/HDX/HDX-D Utility Vehicle (Número de pieza 121-6285)
Front Differential Interrupter Kit, Four-Wheel Drive Workman HDX/HDX-D (Número de pieza 121-6337)
Trailer Brake Kit, Workman HD/HDX/HDX-D Series Utility Vehicle (Número de pieza 125-0123)
Tailpipe Extension Kit, Workman HD/HDX/HDX-D Series Utility Vehicle (Número de pieza 127-7397)
1/3 AREA COVER KIT (Número de pieza 127-8739)
Exterior Mirror Kit, Workman MD/MDE/MDX/HDX Cab Kit (Número de pieza 130-5448)
Interior Mirror Kit, Workman MD/MDE/MDX/HDX Cab Kit (Número de pieza 130-5449)
Beacon Kit, Workman MD/MDE/MDX/HDX Cab Kit (Número de pieza 130-5484)
Work Light Kit, Workman MD/MDE/MDX/HDX Cab Kit (Número de pieza 130-5485)
Windshield Washer Fluid Kit, 2015 and after Workman MD/HD Series Utili (Número de pieza 130-5615)
HITCH ASM (Número de pieza 131-3462)
TIRE/WHEEL ASM (Número de pieza 131-8432)
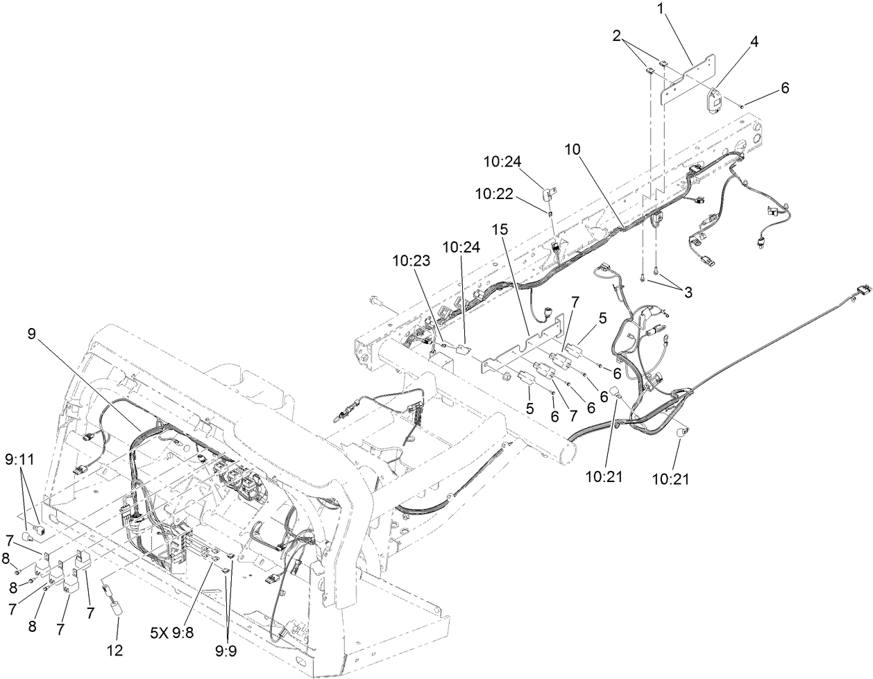
Wire Harness Kit, Workman HDX-D 4-Wheel Drive Utility Vehicle with Bed (Número de pieza 132-6774)
LED Worklight Kit, Workman MD or HD Series Utility Vehicle (Número de pieza 133-0554)
ROPS Beacon Kit, Workman MD or HD Series Utility Vehicle (Número de pieza 133-0609)
BRACKET-LIGHT, CANOPY (Número de pieza 133-0627)
Fumigador de césped Multi Pro® WM (Número de pieza 41240)
El sistema de fumigación Multi Pro WM para los vehículos utilitarios Workman® Serie HD de Toro aprovecha al máximo la avanzada capacidad de fumigación de la línea Multi Pro de Toro, y combina funcionalidad con controles de fumigación intuitivos y de tecnología puntera. Este fumigador de 757 litros que se monta en la plataforma de un vehículo utilitario es el más avanzado, eficiente y preciso de este sector del mercado. Este fumigador lo tiene todo: una agitación agresiva, una respuesta más rápida, tasas de aplicación uniformes y precisas y un sistema de configuración intuitivo.
Spreader Base Unit, 2002 and later Workman 3000 and 4000 Series (Número de pieza 41253)
VICON SPREADER (Número de pieza 41256)
Recebadora 1800 0,5 m³ (Número de pieza 44225)
El Topdresser 1800, que tiene una capacidad de 0,5 m³, se monta en un Toro Workman o en otro vehículo utilitario y receba de manera precisa y productiva a una velocidad de hasta 13 km/h. Una palanca remota de conexión/desconexión permite una aplicación y un control precisos desde el confort del compartimento del operador.
Core Harvester Adapter Kit, Heavy-Duty Workman Vehicles (Número de pieza 44242)
Recebadora 2500 0,7 m³ (Número de pieza 44507)
Para obtener el máximo de rendimiento, elija la Toro® Topdresser 2500: una unidad autónoma con tracción integral, remolcada por un Toro® Workman® u otro vehículo utilitario. Con la capacidad de 0,7 m³ y una velocidad de trabajo de 13 km/h, podrá abordar los trabajos de recebo más exigentes.
Soplador de residuos Pro Force® con control remoto inalámbrico (Número de pieza 44552)
El soplador de residuos Pro Force® tiene un caudal de aire mayor que el de cualquier otro soplador de residuos tipo turbina de una sola tobera actualmente disponible. Un control remoto inalámbrico permite arrancar y parar el motor, ajustar el acelerador del motor hacia arriba o hacia abajo para operar en un régimen de altas o bajas revoluciones, y girar la tobera 360 grados – todo desde el asiento del operador de un vehículo utilitario Toro® Workman® o similar. Este soplador ofrece alta productividad y mayor eficiencia a la hora de limpiar caminos de carritos y otras zonas pavimentadas, soplar recortes de hierba, terrones de aireación y broza u otro tipo de residuos orgánicos.
Pro Force® Debris Blower (DOT-compliant) (Número de pieza 44553)
The Pro Force® debris blower provides greater air volume flow than any single nozzle turbine-type debris blower currently available. A wireless RF remote provides the capability to start and stop the engine, adjust engine throttle up and down for low to high RPM range of operation, and rotate the nozzle 360 degrees – all from the operator’s seat in a Toro® Workman® or similar utility vehicle. This blower delivers superior productivity and greater efficiency in jobs ranging from cleaning cart paths and other maintained paved areas, to blowing grass clippings, aeration cores or chaff, or other organic debris.
Soplador de residuos Pro Force™ con controlador cableado (Número de pieza 44554)
Recebadora ProPass™ Serie 200 de 0,54 m³ (Número de pieza 44701)
La recebadora centrífuga Toro ProPass™ 200 ofrece patrones de distribución desde ultraligero para aplicaciones superficiales, hasta ultradenso para el llenado de los orificios que deja la aireación, con toda precisión. Un controlador inalámbrico ofrece el método más sencillo de ajustar y controlar las funciones de distribución de material. Disponible en una versión para montar en un vehículo utilitario y una versión remolcada.
Series/Modelos:
- ProPass 200 – Remolcada o montada en la plataforma
- ProPass 200 – Remolcada o montada en la plataforma con controlador inalámbrico
Recebadora ProPass™ Serie 200 de 0,54 m³ (Número de pieza 44751)
La recebadora centrífuga Toro ProPass™ 200 ofrece patrones de distribución desde ultraligero para aplicaciones superficiales, hasta ultradenso para el llenado de los orificios que deja la aireación, con toda precisión. Un controlador inalámbrico ofrece el método más sencillo de ajustar y controlar las funciones de distribución de material. Disponible en una versión para montar en un vehículo utilitario y una versión remolcada.
Series/Modelos:
- ProPass 200 – Remolcada o montada en la plataforma
- ProPass 200 – Remolcada o montada en la plataforma con controlador inalámbrico
12" Rear Wheel Weights (Número de pieza 81115)
Automatic Tailgate Release Kit (Número de pieza 92-1220)
Fuse Block (Número de pieza 92-2641)
PTO Over Running Clutch Kit, Workman 3000 (Número de pieza 92-2655)
Lift Kit, Topdresser 1800 (Número de pieza 92-4452)
SCREEN - SPARK ARRESTOR (Número de pieza 94-8157)
Tire-Rear (Número de pieza 98-2993)
TIRE - REAR, INDUSTRIAL (Número de pieza 99-1091)
-
Nº Modelo
07387 -
Nº Serie
400000000 - 401420000 -
Nombre del producto
Workman® HDX-D 4WD -
Marca del producto
Toro -
Tipo de producto
Vehicles


















































































