Recebadora ProPass™ Serie 200 de 0,54 m³
Información sobre productos
- Nº Modelo: 44701
- Nº Serie: 415100000 - 999999999
- Tipo de producto: Top Dressers
Cargando...
Dibujos de ensamblaje
Buscar una piezas en los dibujos de ensamblaje:
-
Manual del operador
-
Catálogo de piezas
-
Esquema eléctrico
-
Esquema Hidráulico
-
Declaración de Conformidad para la UE / el Reino Unido
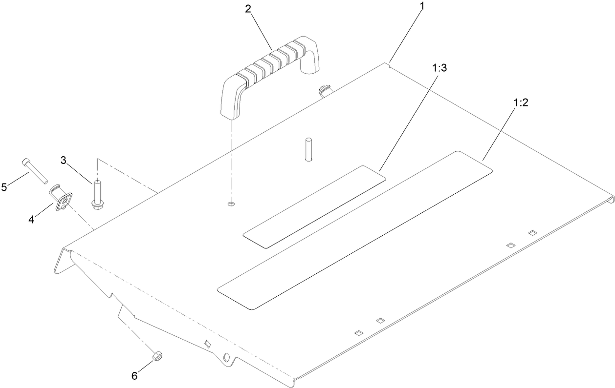
EXTENSION-HOPPER, FRONT (Número de pieza 120-9393-01)
Safety Chain Kit (Número de pieza 139-3179)
KIT-QUICK CONNECT HOSE ADAPTER (Número de pieza 145-7646)
Red Spray Paint - Case of 6 (Número de pieza 361-10)
Red Paint - Gallon Can (Número de pieza 361-11)
PAINT-SPRAY, TORO SEMI-GLOSS BLACK (Número de pieza 361-9)
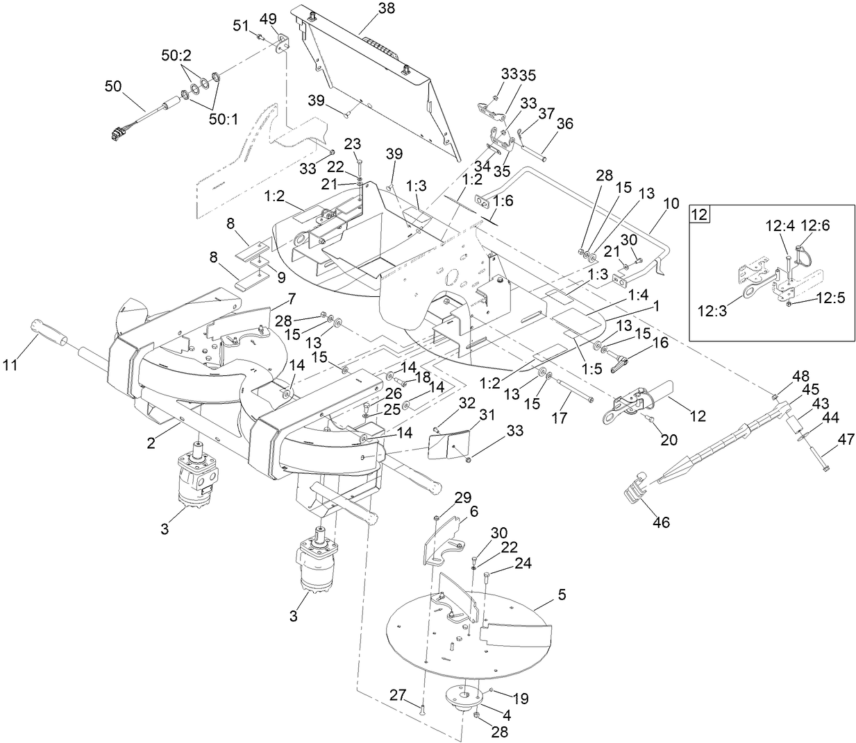
Twin Spinner, ProPass 200 Top Dresser (Número de pieza 44702)
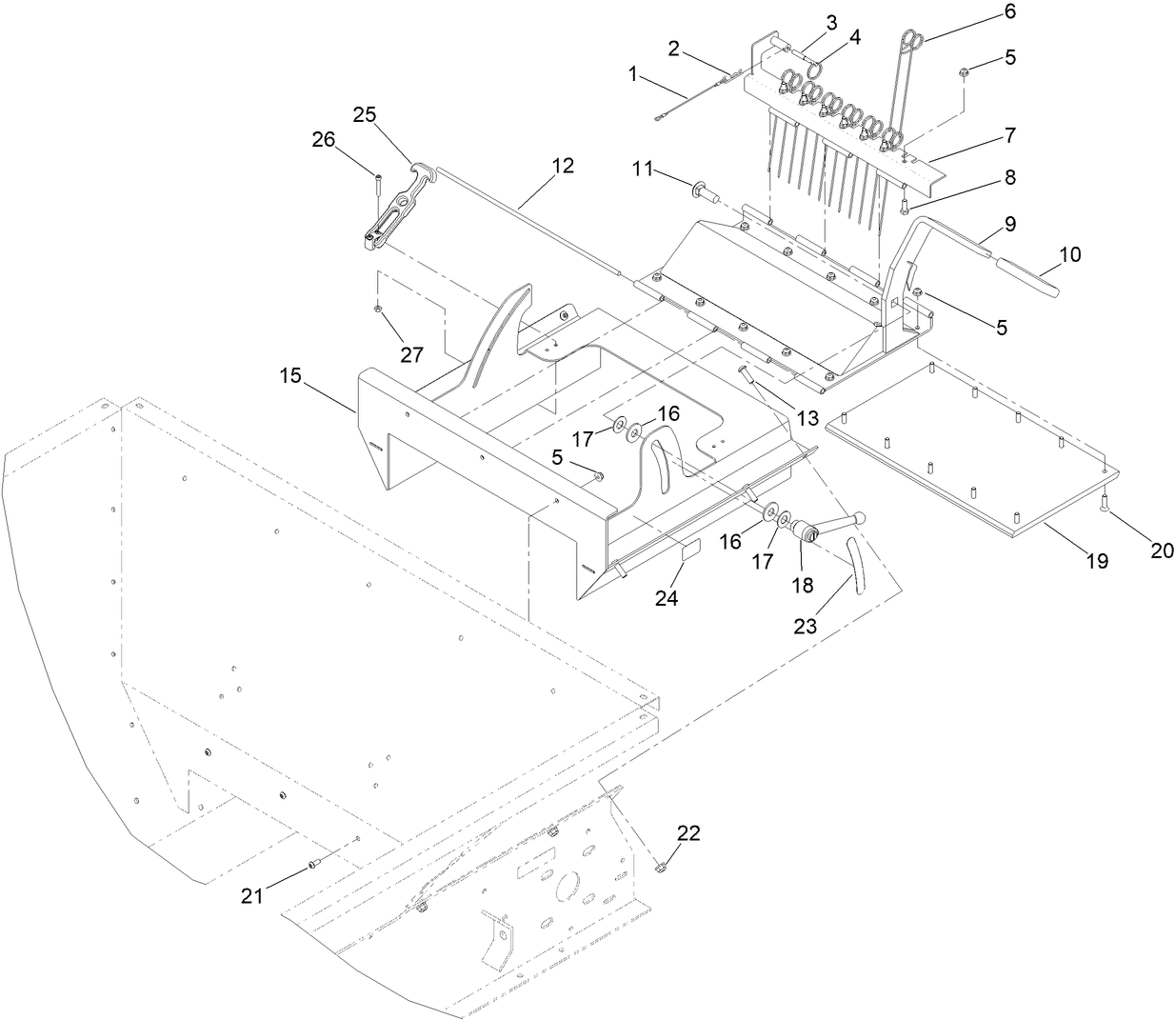
Conveyor and Swivel Kit, ProPass 200 Top Dresser (Número de pieza 44703)
Hose Assembly Kit, Tow-Type Chassis for ProPass 200 Top Dresser (Número de pieza 44706)
Toro Workman Chassis, ProPass 200 Top Dresser (Número de pieza 44707)
Storage Stand, ProPass 200 Top Dresser (Número de pieza 44712)
Hydraulic Power Pack, ProPass 200 Top Dresser (Número de pieza 44713)
PROPASS DEERE PRO GATOR MOUNT KIT (Número de pieza 44714)
Hopper Vibrator Kit, ProPass Top Dresser and MH-400 Material Delivery (Número de pieza 44723)
Tow Chassis and Fender Kit (Número de pieza 44724)
-
Nº Modelo
44701 -
Nº Serie
415100000 - 999999999 -
Nombre del producto
Recebadora ProPass™ Serie 200 de 0,54 m³ -
Marca del producto
Toro -
Tipo de producto
Top Dressers










