Groundsmaster 3280-D Traction Unit
製品情報
- モデル番号 30344
- シリアル番号 400000000 - 402409000
- 製品のタイプ: Riding Products
読み込み中です...
アセンブリ図
アセンブリ図の中でパーツを検索する:
-
サービスマニュアル
-
オペレーターズマニュアル
-
パーツカタログ
-
EU 規格適合証明書
-
回路図 - 電気系統
-
回路図 - 油圧系統
Premium Trans/Hyd Tractor Fluid Drum (パーツ番号 108-1183)
Premium Trans/Hyd Tractor Fluid Pail (パーツ番号 108-1184)
PREMIUM ALL PURPOSE GREASE (パーツ番号 108-1190)
Armrest Adapter Kit, Groundsmaster 3320 and 3280-D (パーツ番号 108-9687)
Wheel Weight Kit (パーツ番号 11-0440)
Implement Flow Control Kit, Groundsmaster 3320 and 3280-D (パーツ番号 110-5699)
Blower Drive and Mounting Kit, Groundsmaster 3320/3280-D (パーツ番号 110-8539)
Attachment Frame Kit, Groundsmaster 3320/3280-D (パーツ番号 110-8540)
ELEMENT-SAFETY, 5 INCH (パーツ番号 114-4057)
Snowthrower Drive and Mounting Kit, Groundsmaster 3320/3280-D Traction (パーツ番号 114-4140)
V-Plow Mounting Kit, Groundsmaster 3320 and 3280-D Traction Unit (パーツ番号 115-4917)
Mounting Kit, Model 30823 Debris Blower for Groundsmaster 3280D/3320 T (パーツ番号 115-4929)
Mounting Kit, Model 2670 Debris Blower for Groundsmaster 200 Series Tr (パーツ番号 115-4932)
Mounting Kit, Model 2670 Debris Blower for Groundsmaster 300 Series Tr (パーツ番号 115-4935)
WHEEL (パーツ番号 119-2863)
WHEEL AND TIRE ASM (パーツ番号 119-2864)
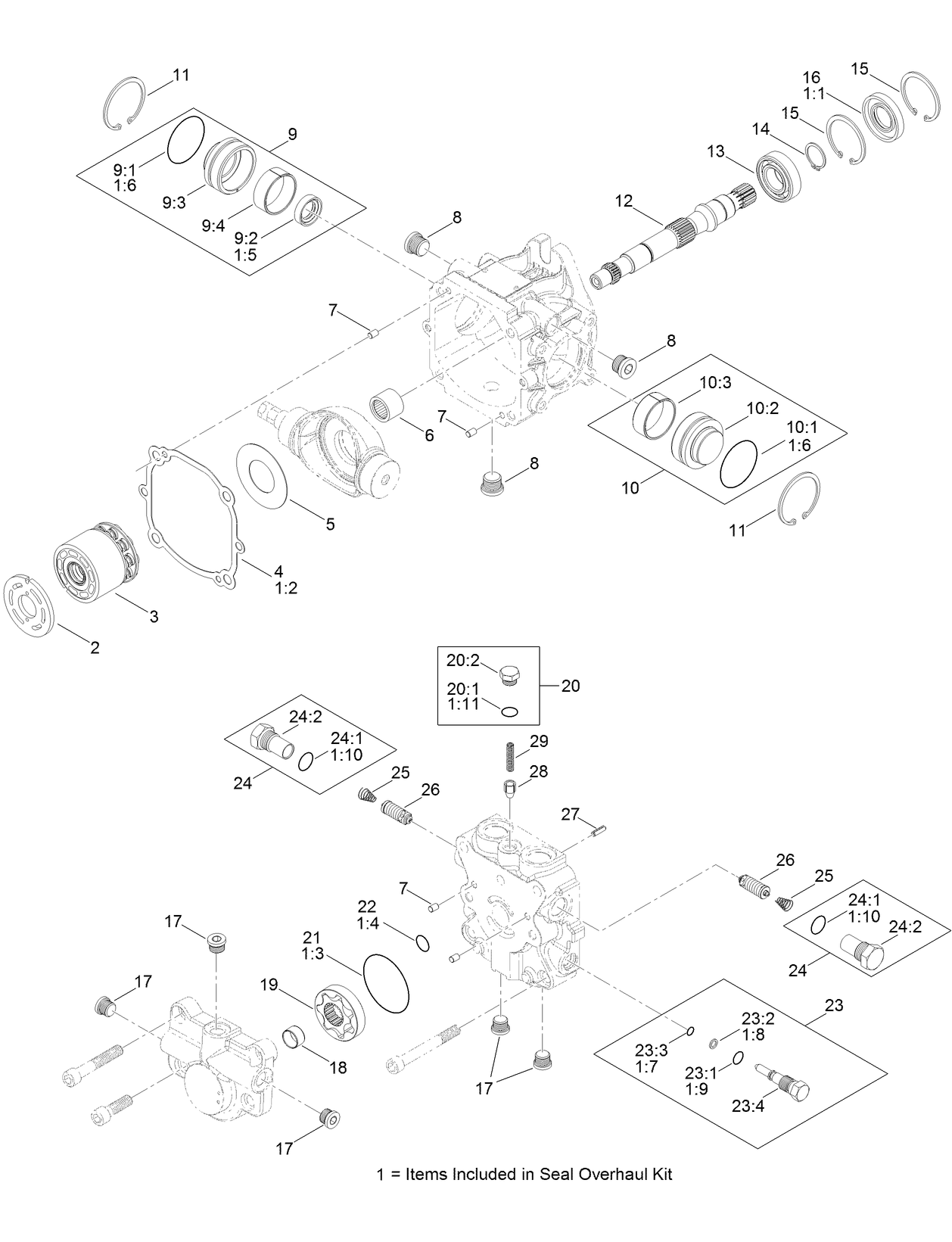
Auxiliary Valve Kit, Groundsmaster 3320 and 3280-D Traction Unit (パーツ番号 120-6590)
Auxiliary Valve Kit, Groundsmaster 3280-D Traction Unit (パーツ番号 120-6640)
Castor Wrench, Groundsmaster Traction Unit (パーツ番号 121-3874)
PREMIUM ENGINE OIL 10W30 (55 GAL) (パーツ番号 121-6392)
PREMIUM ENGINE OIL 10W30 (5 GAL) (パーツ番号 121-6393)
PREMIUM ENGINE OIL 15W40 (55 GAL) (パーツ番号 121-6394)
PREMIUM ENGINE OIL 15W40 (5 GAL) (パーツ番号 121-6395)
TIRE (パーツ番号 231-95)
Rear Weight Kit, Groundsmaster 300 Series (パーツ番号 24-5780)
400-hour Filter Maintenance Kit, Groundsmaster 3280-D Traction Unit (パーツ番号 30051)
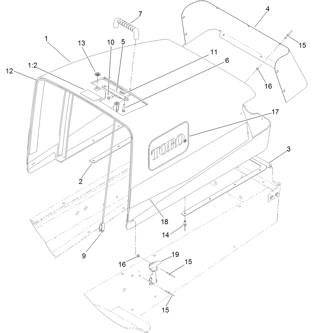
Cab Kit, 2015 and After Groundsmaster 3280-D 4-Wheel Drive Traction Un (パーツ番号 30298)
Mechanical Seat Suspension Kit, Groundsmaster 3320 and 3280-D (パーツ番号 30312)
Pneumatic Seat Suspension Kit, Groundsmaster 3320 and 3280-D (パーツ番号 30313)
15 Cubic Foot Bagger Kit, Groundsmaster (パーツ番号 30356)
60" BLOWER KIT-GM 3280D (パーツ番号 30357)
Bimini Sunshade for 2-Post Roll-Over Protection System (パーツ番号 30358)
Hardtop Sunshade, Groundsmaster and Reelmaster Traction Units (パーツ番号 30359)
60in Side Discharge Mower, Groundsmaster 3320 and 3280-D (パーツ番号 30366)
72in Side Discharge Mower, Groundsmaster 3320 and 3280-D (パーツ番号 30368)
Auxiliary Power Unit, Groundsmaster 3280-D and 3320 (パーツ番号 30382)
Standard Seat Kit, Groundsmaster 300 (パーツ番号 30398)
Base 62in Mower, Groundsmaster 3320 and 3280-D (パーツ番号 30403)
Base 72in Mower, Groundsmaster 3320 and 3280-D (パーツ番号 30404)
52 Inch Blower Kit (パーツ番号 30502)
62in Blower Kit, Groundsmaster 200 Series Side Discharge Mowers (パーツ番号 30506)
62in Side Discharge Mower, Groundsmaster 200, 3320 and 3280-D Series T (パーツ番号 30551)
52" Side Discharge Mower, Groundsmaster 200 Series (パーツ番号 30555)
Arm Rest Kit (パーツ番号 30707)
48" V-Plow, Groundsmaster 72 and 200/300 Series (パーツ番号 30750)
Debris Blower, Groundsmaster 200 Series (パーツ番号 30823)
GM3280 CE KIT (パーツ番号 31204)
TIRE (パーツ番号 69-9880)
Spark Arrestor Screen (パーツ番号 75-6880)
WEIGHT-WHEEL (パーツ番号 77-6700)
Tire Chains23x9.50-12 (パーツ番号 82531)
-
モデル番号
30344 -
シリアル番号
400000000 - 402409000 -
製品名
Groundsmaster 3280-D Traction Unit -
製品のブランド
Toro -
製品のタイプ
Riding Products























































