Reelmaster® 3575-D
Información sobre productos
- Nº Modelo: 03821
- Nº Serie: 402530001 - 403300000
- Tipo de producto: Riding Products
Cargando...
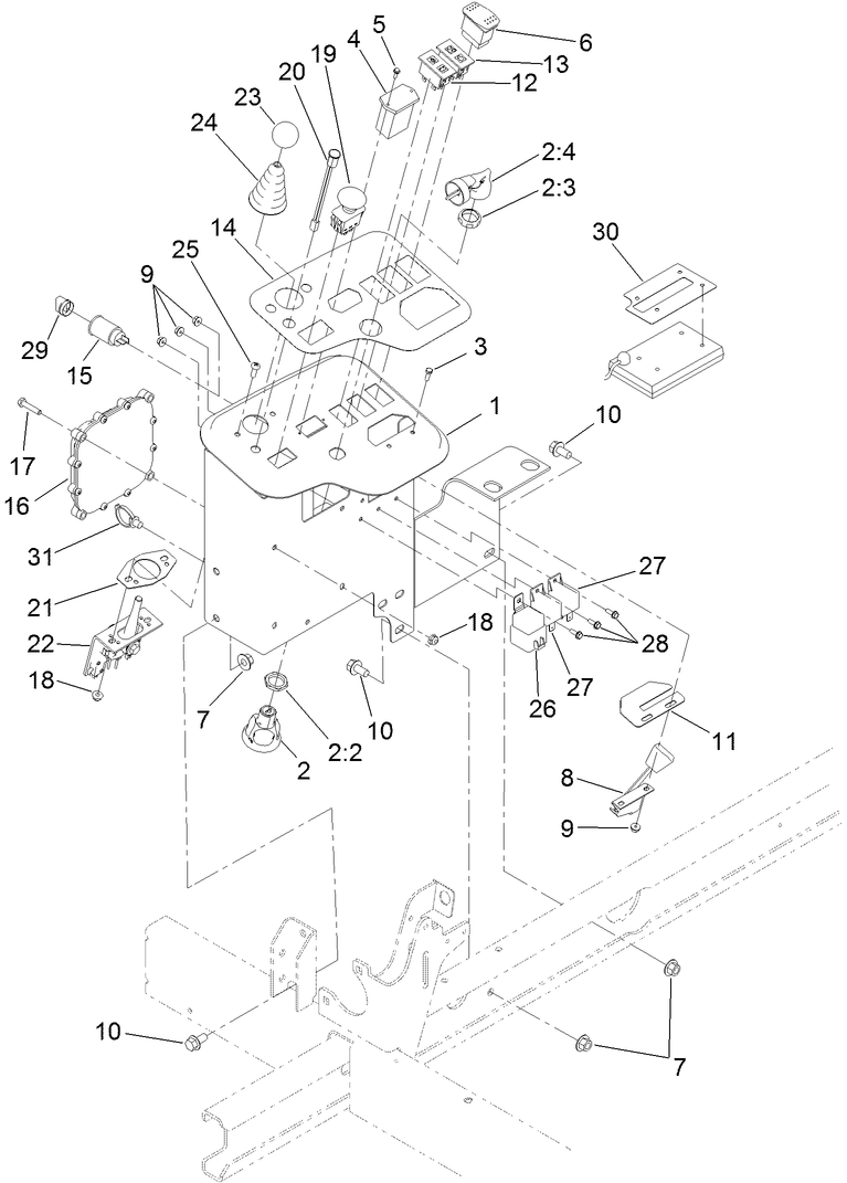
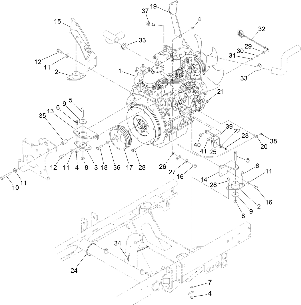
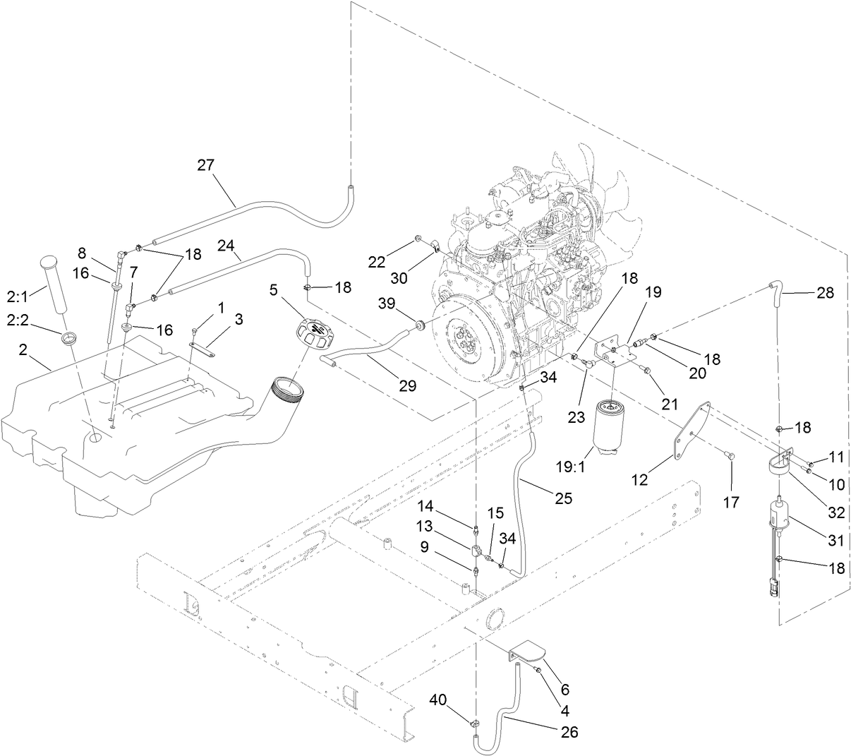
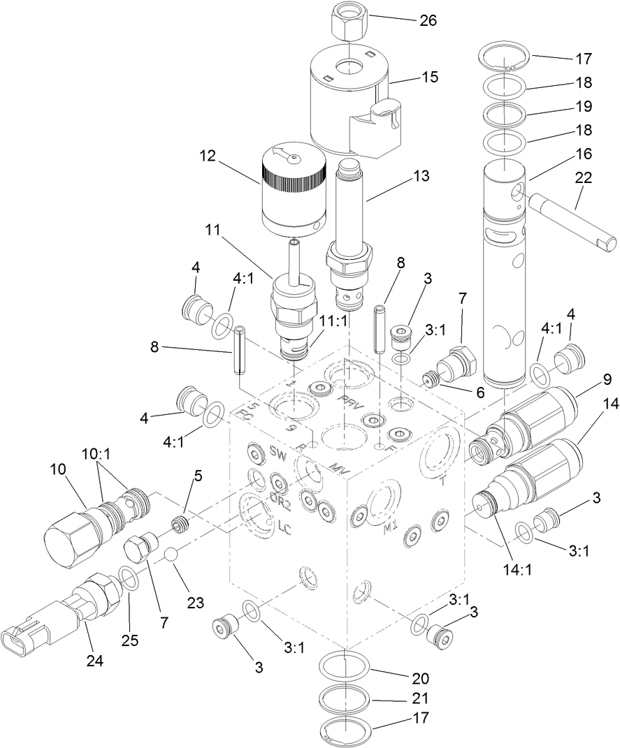
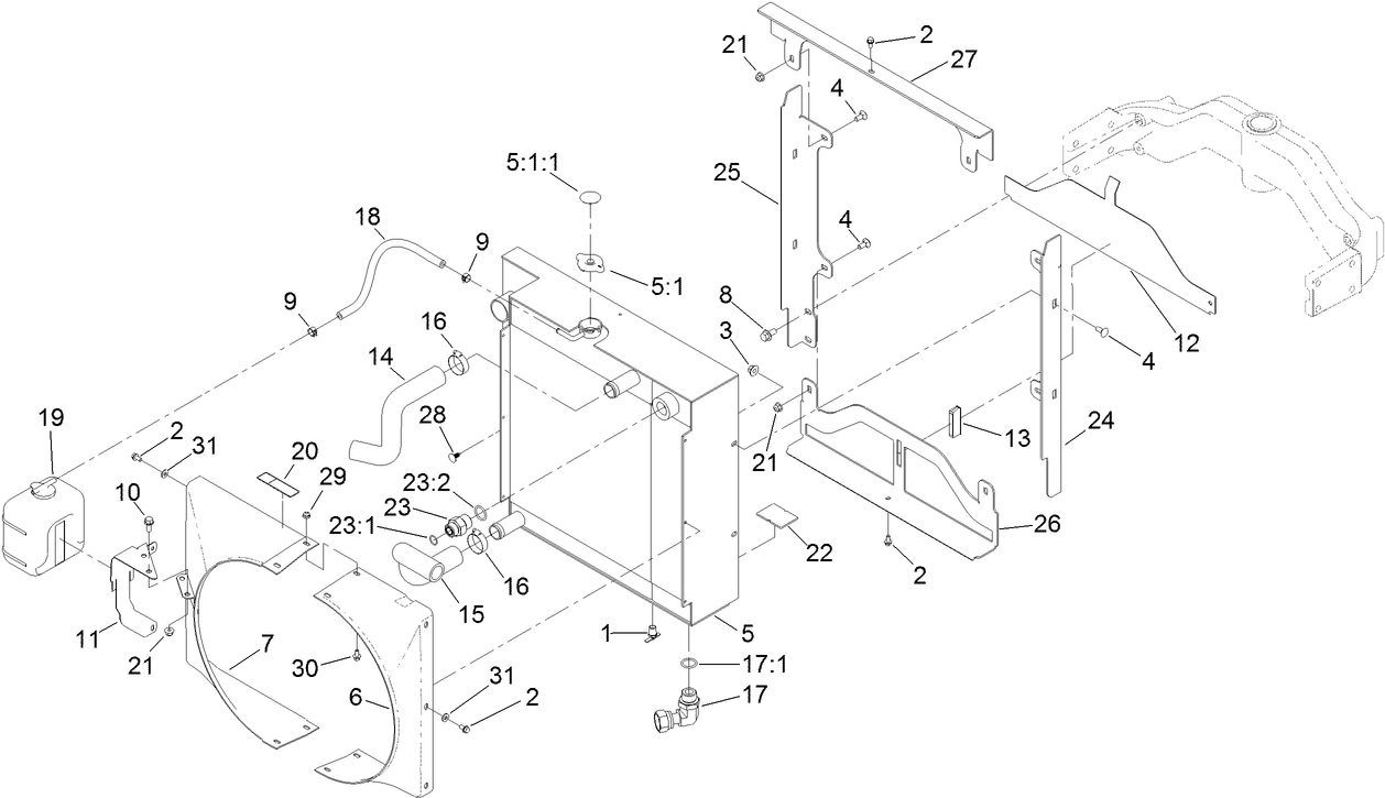
Dibujos de ensamblaje
Buscar una piezas en los dibujos de ensamblaje:
-
Manual de mantenimiento
-
Manual del operador
-
Catálogo de piezas
-
Declaración de Conformidad UE
-
Esquema eléctrico
-
Esquema Hidráulico
-
Boletín de mantenimiento
Basket Kit, Reelmaster 5010 Series 5in or 7in Reel Front Cutting Units (Número de pieza 03415)
Basket Kit, Reelmaster 5010 Series 5in or 7in Reel Rear Cutting Units (Número de pieza 03416)
8-Blade Cutting Unit (Número de pieza 03638)
Designed for mowing on higher heights of cut, such as approaches, fairways or tee boxes.
8-Blade Forward Swept Reel DPA Cutting Unit with 7in Reel, Reelmaster (Número de pieza 03639)
11-Blade Forward Swept Reel DPA Cutting Unit with 7in Reel, Reelmaster (Número de pieza 03641)
PREMIUM ALL SEASON HYDRAULIC FLUID 55 GAL (Número de pieza 108-1177)
PREMIUM ALL SEASON HYDRAULIC FLUID 5 GAL (Número de pieza 108-1178)
PREMIUM ALL PURPOSE GREASE (Número de pieza 108-1190)
Gauge Bar Assembly (Número de pieza 108-6715)
Premium Synthetic Bio-Degradable Hydraulic Fluid (5 Gal) (Número de pieza 119-2157)
PREMIUM SYNTHETIC BIO HYD FLUID (55 GAL) (Número de pieza 119-2158)
TIRE ASM 22-12X12, TREADED (Número de pieza 121-7924)
STEP (Número de pieza 127-8562-03)
Brush and Handle Kit (Número de pieza 29-9100)
MVP Filter Kit, Reelmaster 3550-D Series (Número de pieza 30090)
Universal Sunshade, Groundsmaster and Reelmaster Traction Units (Número de pieza 30349)
Red Universal Sunshade, Groundsmaster and Reelmaster Traction Units (Número de pieza 30552)
BOX-DISPLAY, DIAGNOSTIC (Número de pieza 85-4750)
-
Nº Modelo
03821 -
Nº Serie
402530001 - 403300000 -
Nombre del producto
Reelmaster® 3575-D -
Marca del producto
Toro -
Tipo de producto
Riding Products


































































