Serie HoverPro - Anchura de corte de 40 cm - 53 cm (16" - 21")
Información sobre productos
- Nº Modelo: 02610
- Nº Serie: 314000001 - 314999999
- Tipo de producto: Walk Behind Mowers
Cargando...
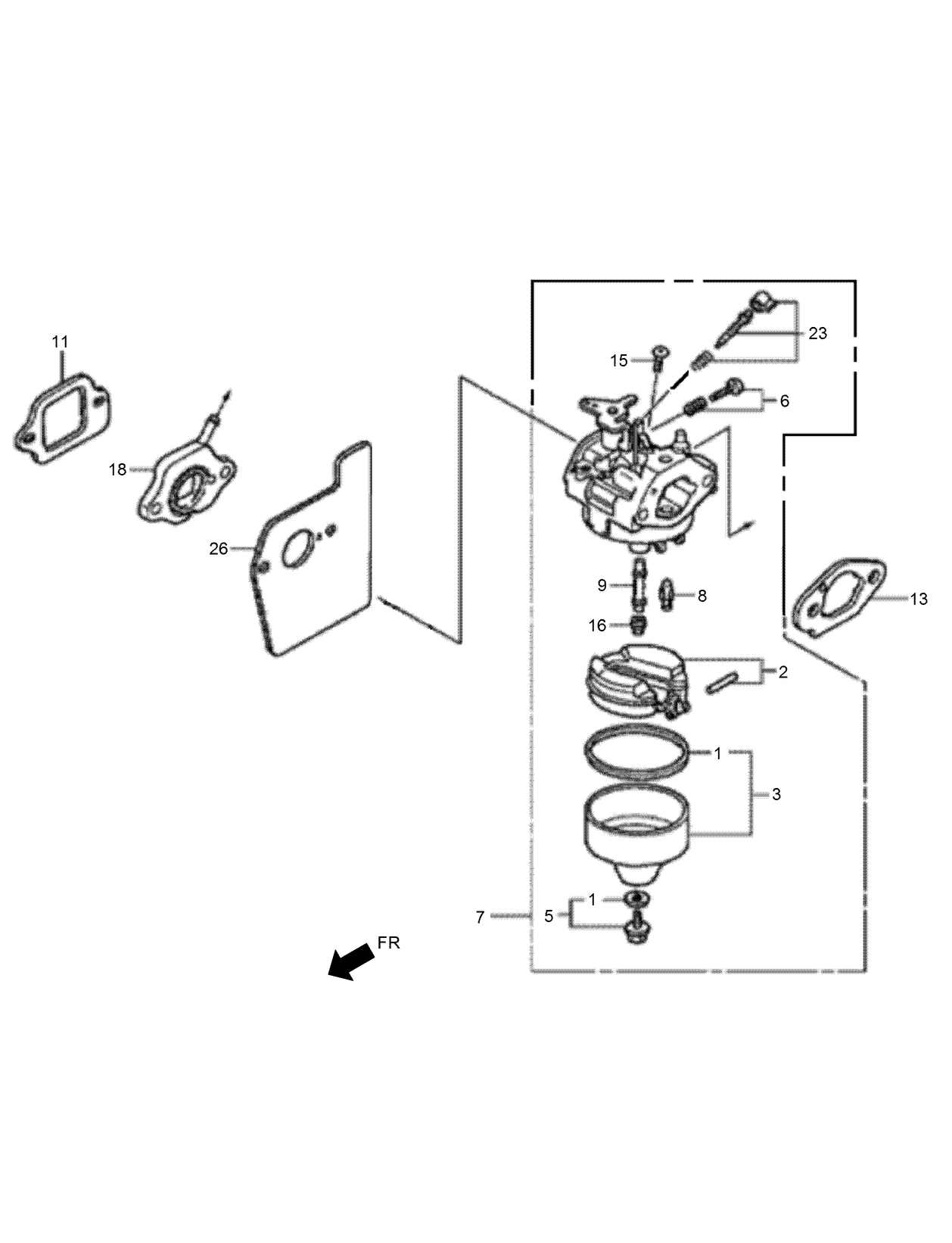
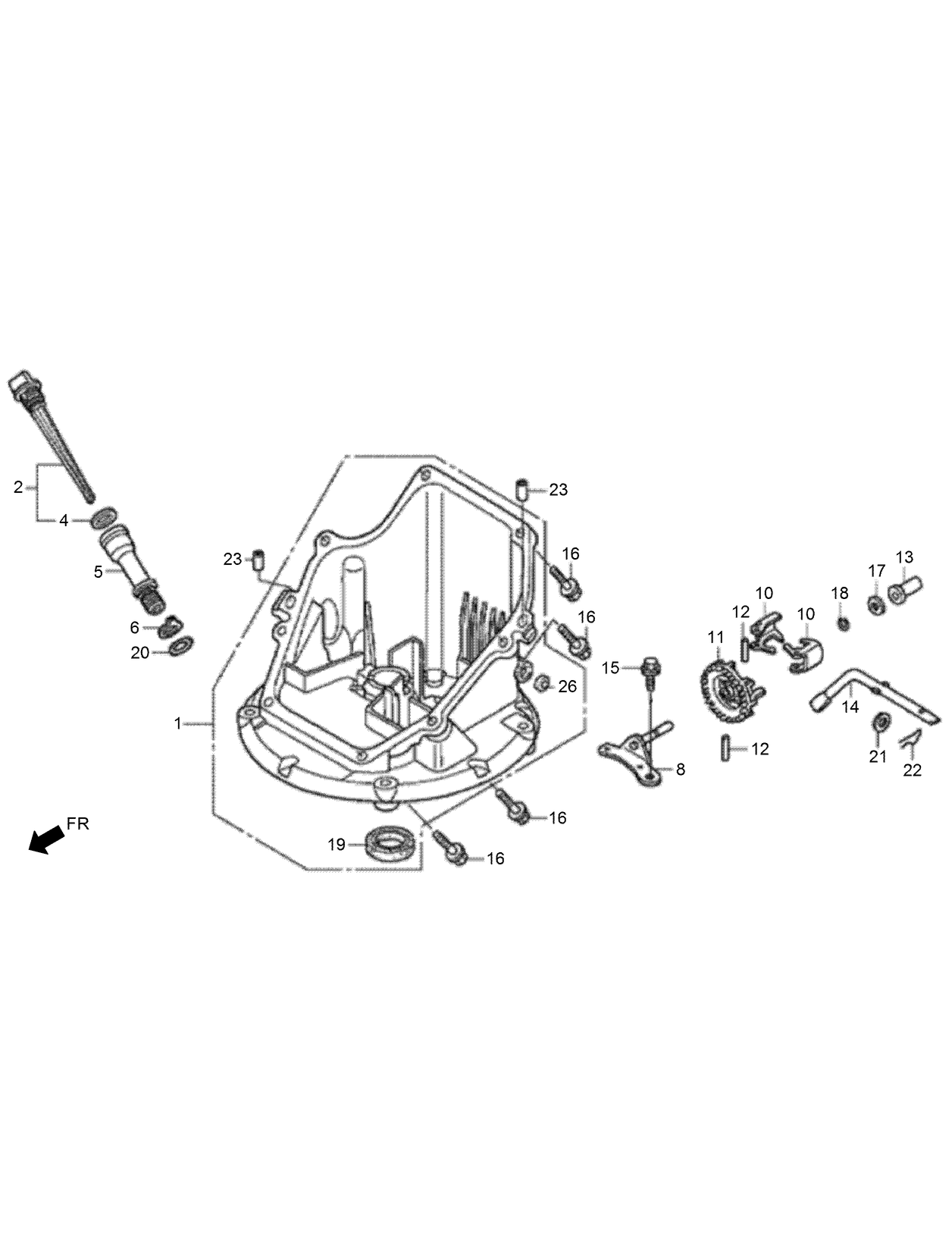
Dibujos de ensamblaje
Buscar una piezas en los dibujos de ensamblaje:
-
Manual del operador
-
Catálogo de piezas
-
Boletín de mantenimiento
High-Rise Kit, HoverPro 450 Mower (Número de pieza 02619)
Transport Wheel Kit, HoverPro 450/500/550 Mower (Número de pieza 02622)
Handlebar Extension Kit, HoverPro 450/500/550 Mower (Número de pieza 02623)
Swing Tip Kit, HoverPro 450 Machine (Número de pieza 02627)
-
Nº Modelo
02610 -
Nº Serie
314000001 - 314999999 -
Nombre del producto
Serie HoverPro - Anchura de corte de 40 cm - 53 cm (16" - 21") -
Marca del producto
Toro -
Tipo de producto
Walk Behind Mowers -
Serie del producto
HoverPro Rotary Mower -
Anchura
21 inch















