Serie HoverPro - Anchura de corte de 40 cm - 53 cm (16" - 21")
Información sobre productos
- Nº Modelo: 02610
- Nº Serie: 410200000 - 999999999
- Tipo de producto: Walk Behind Mowers
Cargando...
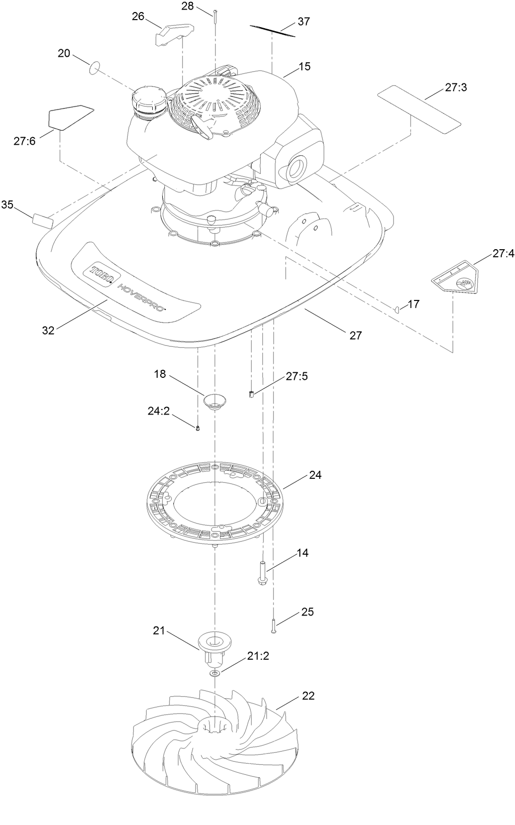
Dibujos de ensamblaje
Buscar una piezas en los dibujos de ensamblaje:
-
Manual del operador
-
Catálogo de piezas
-
Instrucciones de montaje
-
Boletín de mantenimiento
-
Nº Modelo
02610 -
Nº Serie
410200000 - 999999999 -
Nombre del producto
Serie HoverPro - Anchura de corte de 40 cm - 53 cm (16" - 21") -
Marca del producto
Toro -
Tipo de producto
Walk Behind Mowers -
Anchura
21 inch














