Groundsmaster® 1200
Información sobre productos
- Nº Modelo: 31905
- Nº Serie: 405580001 - 406499999
- Tipo de producto: Riding Products
Cargando...
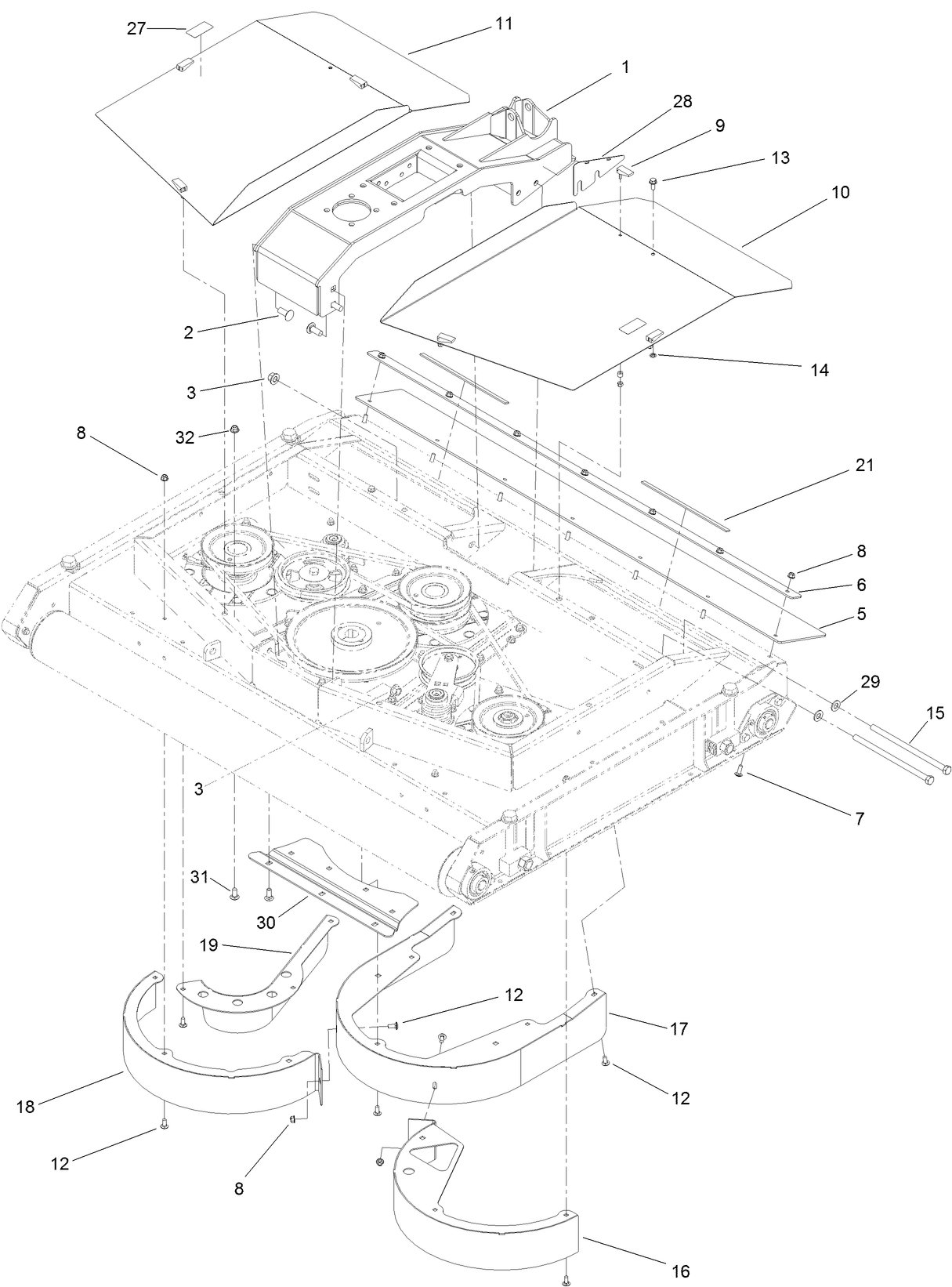
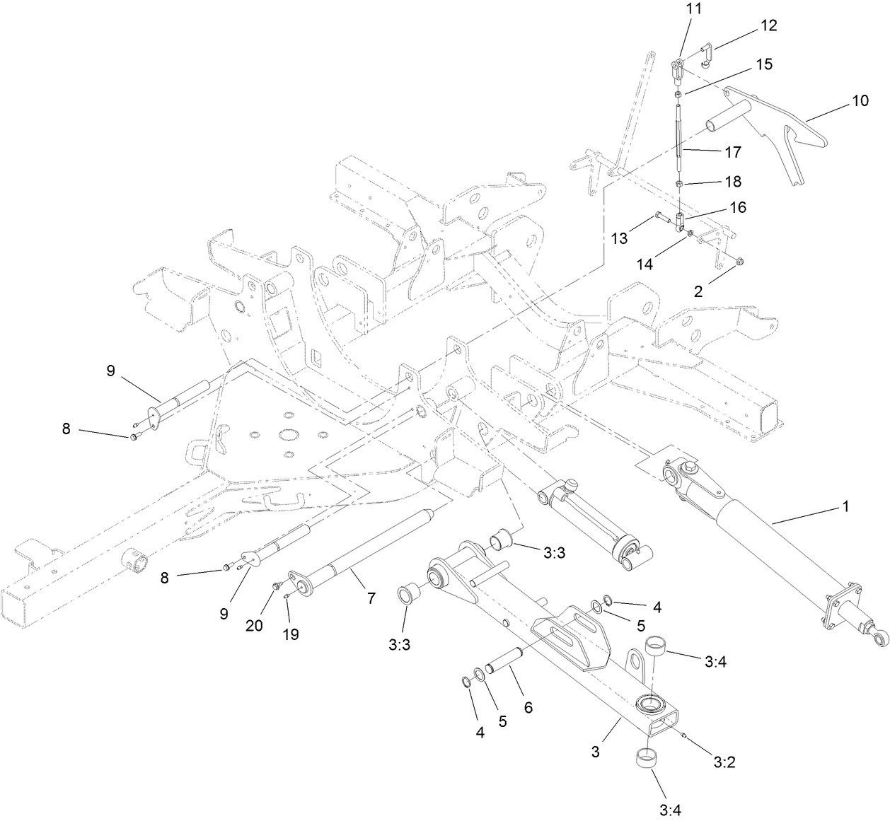
Dibujos de ensamblaje
Buscar una piezas en los dibujos de ensamblaje:
-
Manual de mantenimiento
-
Manual del operador
-
Catálogo de piezas
-
Esquema Hidráulico
-
Declaración de Conformidad para la UE / el Reino Unido
9 Blade Service Pack- 19.00 Inch High Sail/Flow Blade (Número de pieza 138-9028)
Contains 137-3671-03 @ 9
MVP KIT-BLADES, STD (GM1200) (Número de pieza 138-9029)
SMV Kit (Número de pieza 138-9030)
Fender Kit (Número de pieza 139-3174)
Blade Cover Kit (Número de pieza 139-3178)
Safety Chain Kit (Número de pieza 139-3179)
9 Blade Service Pack- 19.00 Inch Atomic® Mulching Blade (Número de pieza 140-0028)
Contains 139-7799-03 @ 9
Roller Scraper Kit (Número de pieza 140-0034)
Homologation Kit (Número de pieza 31950)
-
Nº Modelo
31905 -
Nº Serie
405580001 - 406499999 -
Nombre del producto
Groundsmaster® 1200 -
Marca del producto
Toro -
Tipo de producto
Riding Products



















