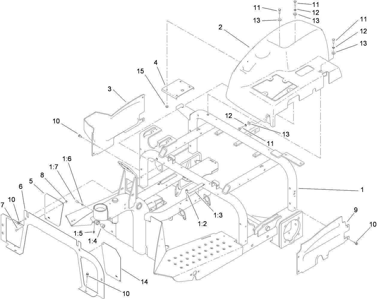
Sand Pro 5040 Traction Unit
Informations produit
- Nº de modèle : 08705
- N° de série : 310000001 - 310000300
- Type de produit : Riding Products
Chargement...
Schémas d’assemblage
Rechercher une pièce dans des schémas d'assemblage :
-
Manuel d'entretien
-
Manuel de l'utilisateur
-
Catalogue de pièces haute
-
Bulletin d'entretien
Front Lift Frame, Sand Pro 3040 and 5040 (N° de référence 08712)
Manual Blade, Sand Pro 3040 and 5040 (N° de référence 08714)
Midmount Toolbar System, Sand Pro 3040 and 5040 (N° de référence 08731)
Tooth Rake, Sand Pro 3040 and 5040 (N° de référence 08751)
Spring Rake, Sand Pro 3040 and 5040 (N° de référence 08752)
Rear Broom, Sand Pro 3040 and 5040 (N° de référence 08753)
Finish Grader, Sand Pro 3040 and 5040 (N° de référence 08754)
Spiker, Sand Pro 3040 and 5040 (N° de référence 08755)
Drag Mat Carrier System, Sand Pro 3040 and 5040 (N° de référence 08756)
Debris Blower, Sand Pro 3040 and 5040 (N° de référence 08759)
QAS Utility Box, Sand Pro 3040 and 5040 (N° de référence 08760)
QAS Nail Drag, Sand Pro/Infield Pro 3040 and 5040 Traction Unit (N° de référence 08761)
QAS Bunker Pump, Sand Pro/Infield Pro 3040 and 5040 Traction Unit (N° de référence 08765)
Rear Remote Hydraulic Kit, Sand Pro 3040 and 5040 (N° de référence 08781)
FRONT REMOTE HYDRAULICS (N° de référence 08782)
SCREEN- SPARK ARRESTOR (N° de référence 104-6540)
PLUG-PLASTIC (YELLOW) (N° de référence 107-1576)
Red Gasoline Cap (N° de référence 107-2173)
LIGHT KIT-SANDPRO (N° de référence 110-1314)
SPEED LIMITER KIT (N° de référence 110-1371)
DRAW BAR ASM, SAND PRO (N° de référence 110-1375)
WHEEL/TIRE ASM-SMOOTH (N° de référence 112-0034)
Drag Mat Assembly, Sand/Infield Pro 3040 and 5040 Traction Unit (N° de référence 112-1424)
Variable Orifice Kit, Sand/Infield Pro 3040 and 5040 Traction Unit (N° de référence 112-1433)
CARBIDE TINE PACK (N° de référence 119-2152)
MVP KIT-SANDPRO (N° de référence 30035)
ASSEMBLY - WHEEL/TIRE (N° de référence 94-6126)
-
Nº de modèle
08705 -
N° de série
310000001 - 310000300 -
Nom du produit
Sand Pro 5040 Traction Unit -
Marque du produit
Toro -
Type de produit
Riding Products -
Série de produit
Sand Pro Series



































