Accessoire de tarière pour chargeuse à chenilles
Informations produit
- Nº de modèle : 22806
- N° de série : 310000001 - 310999999
- Type de produit : Compact Utility Loaders, Attachments
Chargement...
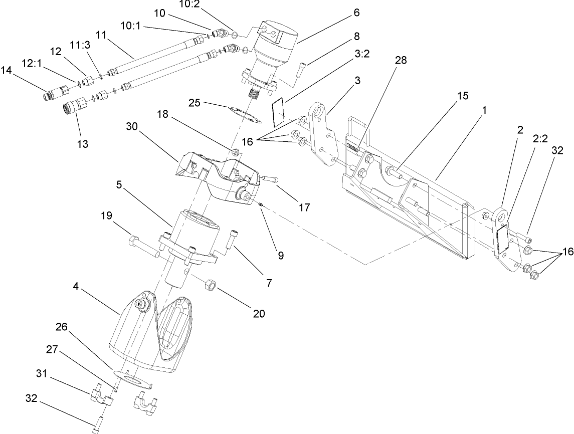
Schémas d’assemblage
Rechercher une pièce dans des schémas d'assemblage :
-
Manuel de l'utilisateur
-
Catalogue de pièces haute
-
Nº de modèle
22806 -
N° de série
310000001 - 310999999 -
Nom du produit
Accessoire de tarière pour chargeuse à chenilles -
Marque du produit
Toro -
Type de produit
Compact Utility Loaders, Attachments -
Série de produit
Attachments & Kits, SWS & CUE


