Groundsmaster® 4000-D
Informations produit
- Nº de modèle : 30609
- N° de série : 314000001 - 314999999
- Type de produit : Riding Products
Chargement...
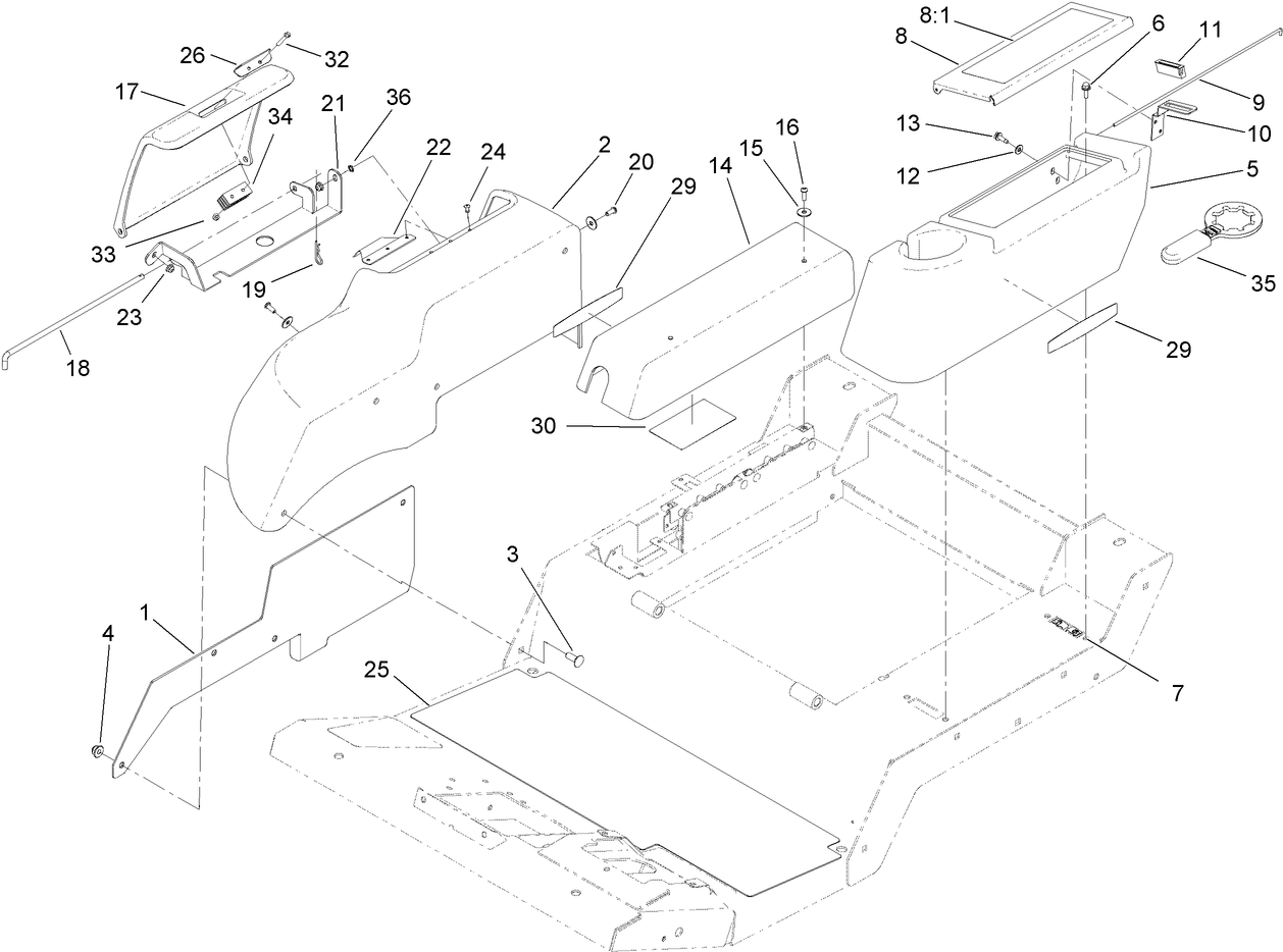
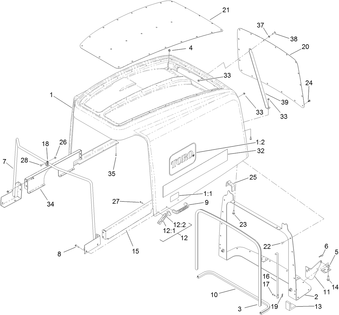
Schémas d’assemblage
Rechercher une pièce dans des schémas d'assemblage :
-
Manuel d'entretien
-
Manuel de l'utilisateur
-
Catalogue de pièces haute
-
Déclaration de conformité UE
-
Schéma électrique
-
Schéma hydraulique
-
Bulletin d'entretien
GM4000 BUMPER-WEIGHT ASM (N° de référence 106-4278-03)
BLADE-ATOMIC, 21.75 INCH (N° de référence 107-0214-03)
PREMIUM ALL SEASON HYDRAULIC FLUID 55 GAL (N° de référence 108-1177)
PREMIUM ALL SEASON HYDRAULIC FLUID 5 GAL (N° de référence 108-1178)
BLADE SERVICE PACK, 21.75 IN (N° de référence 108-1450)
BLADE-FLAT SAIL, 21.75 IN (N° de référence 110-6115-03)
FLAT BLADE SERVICE PACK, 21.75 IN (N° de référence 110-6130)
MVP Blade Kit, Groundsmaster 4000 Traction Unit (N° de référence 117-2722)
Vinyl Backrest Extension Kit, Grammer Seat for Toro Commercial Tractio (N° de référence 119-7718)
Large Seat Cover (N° de référence 120-5179)
PREMIUM ENGINE OIL 10W30 (55 GAL) (N° de référence 121-6392)
PREMIUM ENGINE OIL 10W30 (5 GAL) (N° de référence 121-6393)
PREMIUM ENGINE OIL 15W40 (55 GAL) (N° de référence 121-6394)
PREMIUM ENGINE OIL 15W40 (5 GAL) (N° de référence 121-6395)
Universal Sunshade, Groundsmaster and Reelmaster Traction Units (N° de référence 30349)
MVP FILTER KIT (N° de référence 30408)
North American Light Kit, Groundsmaster 4000 Series Traction Unit with (N° de référence 30414)
Guardian Recycler Conversion Kit, Groundsmaster 4000-D (N° de référence 30420)
Leaf Mulcher Kit, Groundsmaster 4000-D (N° de référence 30422)
CE Kit, Groundsmaster 4000-D/4100-D Series Traction Unit (N° de référence 30453)
Right-Hand Replacement Mower, 2011 and After Groundsmaster 4000-D Trac (N° de référence 30476)
Left-Hand Replacement Mower, 2011 and After Groundsmaster 4000-D Tract (N° de référence 30477)
GM4000 FRONT DECK (SERVICE) (N° de référence 30479)
CE Light Kit, Groundsmaster 4000 Series Traction Unit with Yanmar Engi (N° de référence 30660)
Beacon Kit, Groundsmaster 4000 Series Traction Unit with Yanmar Engine (N° de référence 30661)
License Plate Kit, Groundsmaster 4000 Series Traction Unit with Yanmar (N° de référence 30664)
Slow-Moving Vehicle Sign Kit, Groundsmaster 4000 Series Traction Unit (N° de référence 30665)
Blade (21.75 Inch) (N° de référence 92-5608-03)
8IN FOAM FILLED WHEEL ASM (N° de référence 93-5974)
-
Nº de modèle
30609 -
N° de série
314000001 - 314999999 -
Nom du produit
Groundsmaster® 4000-D -
Marque du produit
Toro -
Type de produit
Riding Products -
Série de produit
GM 400 Series









































































































