55cm Recycler Lawn Mower
Informations produit
- Nº de modèle : 20958
- N° de série : 315000001 - 315999999
- Type de produit : Walk Behind Mowers
Chargement...
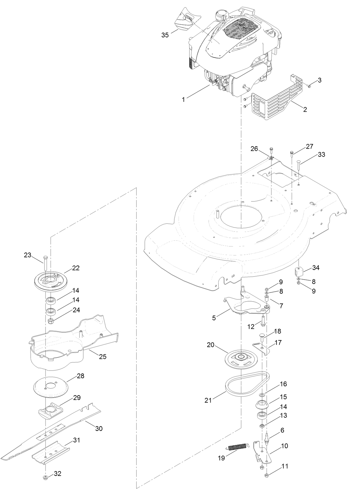
Schémas d’assemblage
Rechercher une pièce dans des schémas d'assemblage :
-
Manuel de l'utilisateur
-
Catalogue de pièces haute
-
Déclaration de conformité UE
Traction Assist Handle Kit (N° de référence 108-8120)
Lawn Striping Kit with 22in Roller, Walk-Behind Lawn Mowers (N° de référence 20601)
BAG - REPL 2009 RWD RC (N° de référence 59310)
BAG - REPL KIT 2009 RWD RC (N° de référence 59312)
TORO ATOMIC BLADE - 22IN, PACKAGED (N° de référence 59534P)
-
Nº de modèle
20958 -
N° de série
315000001 - 315999999 -
Nom du produit
55cm Recycler Lawn Mower -
Marque du produit
Toro -
Type de produit
Walk Behind Mowers -
Série de produit
55cm Steel Deck -
Type de châssis
Steel Deck WPM -
Largeur de travail
55cm -
Éjection
Recycler & Rear Bagger -
Fabricant du moteur
Briggs & Stratton -
Type de moteur
4 Cycle -
Démarreur
Electric/Recoil -
Type de transmission
Gear -
Type de traction
Rear WD
-
Engine: Ignition Coil Air Gap
.010" / .25mm -
Engine: Spark Plug Gap
.030"/ .76mm -
Engine: Engine Speed
2800±100 RPM -
Engine: Engine Oil Type
20 oz. (0.59 L) SAE 30 / API SF, SG, SH, SJ, SL, or higher






