Z Master Professional 6000 Series Riding Mower, with 152cm TURBO FORCE Side Discharge Mower
Informations produit
- Nº de modèle : 74925TE
- N° de série : 316000001 - 316999999
- Type de produit : Riding Products
Chargement...
Schémas d’assemblage
Rechercher une pièce dans des schémas d'assemblage :
-
Manuel d'entretien
-
Manuel de l'utilisateur
-
Catalogue de pièces haute
-
Déclaration de conformité UE
-
Instructions d'installation
BLADE-MID FLOW, 20.5 (N° de référence 105-7715-03)
BLADE-LO FLOW, 20.5 (N° de référence 105-7716-03)
Blade-Hi Flow, 20.5in (N° de référence 105-7718-03)
BLADE-RECY, 20.5 (N° de référence 105-7777-03)
BLADE-ATOMIC, 20.5 (N° de référence 105-8777-03)
Leaf Bagging Enhancement Kit (N° de référence 107-1634)
6 PACK BLADE, 20.5" HI-FLOW (N° de référence 108-1114)
6 PACK-BLADE, 20.5" ATOMIC (N° de référence 108-1115)
6 PACK BLADE, 20.5" MID-FLOW (N° de référence 108-1123)
6 PACK-BLADE, 20.5" LO FLOW (N° de référence 108-1128)
Anti-Scalp Kit, LH 400 and 500 Series w/TF Decks (N° de référence 108-4140)
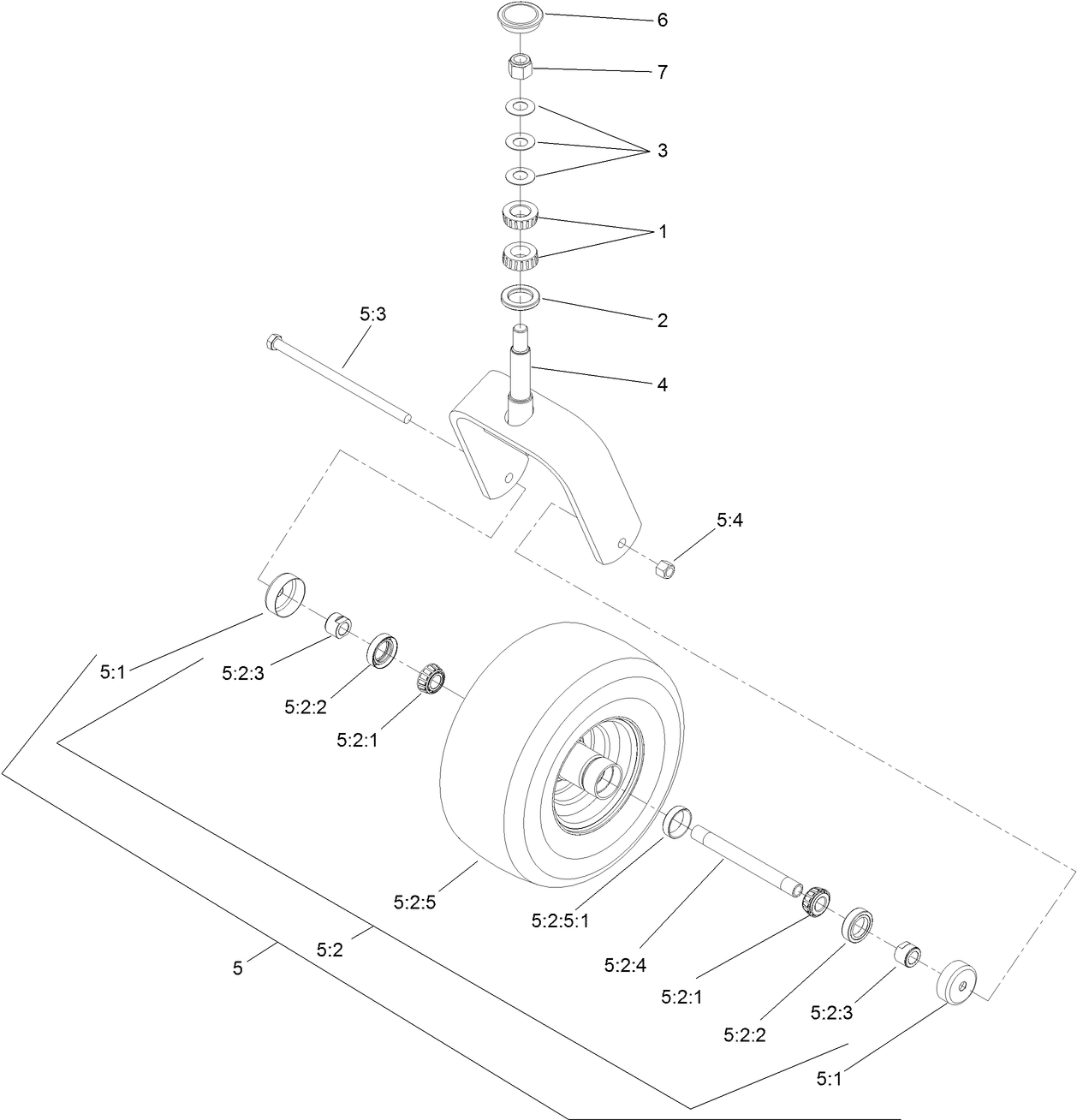
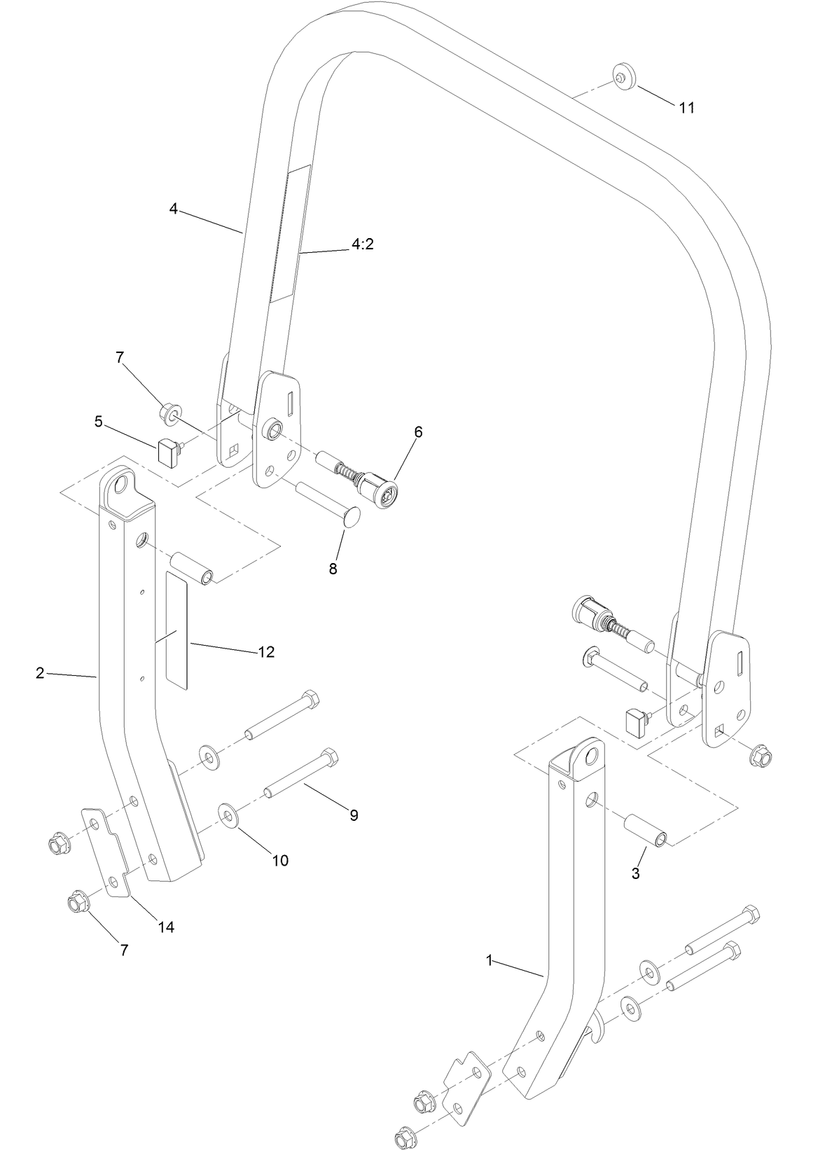
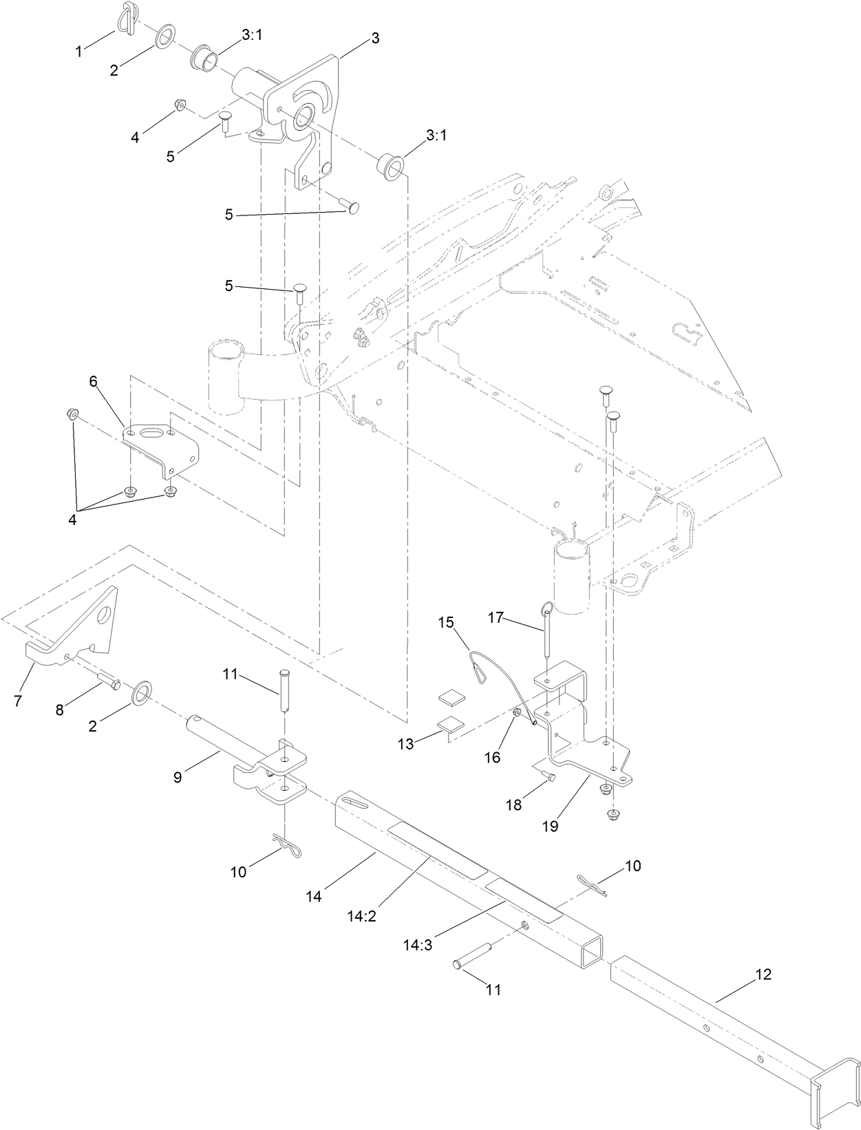
Hitch Kit (N° de référence 109-9487)
6 PACK-BLADE, 20.5" RECYCLER (N° de référence 110-0405)
HYPR-OIL 500 -QUART (N° de référence 114-4713)
HYPR-OIL 500-GALLON (N° de référence 114-4714)
HYPR-OIL 500-5 GALLON (N° de référence 114-4715)
BIMINI FOLDING SHADE ASM (N° de référence 115-4510)
KIT RECYCLER G3 60 (N° de référence 115-7468)
G3 Roller Striping Kit, 48",52",60" (N° de référence 115-7470)
KIT,FRPS LIGHT (N° de référence 116-1154)
Operator-Controlled Discharge Chute Kit (N° de référence 117-3600)
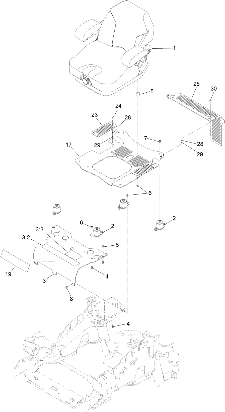
Deluxe Seat Kit, Z Master G3 Riding Mower (N° de référence 117-6174)
Z Stand Kit, Z Master G3 Riding Mower with 48-in, 52-in or 60-in Deck (N° de référence 121-4811)
Deluxe Seat Kit, Z Master Riding Mower (N° de référence 121-7595)
KIT - SEAT TILT FRAME AND ISO MOUNT (N° de référence 121-7596)
CE Bagger Compliance Kit, 60in Z Master G3 Mower (N° de référence 127-0338)
Toro Deluxe Z Cover (N° de référence 490-7319)
Spark Arrestor Screen (N° de référence 75-6880)
Blower and Drive Kit, 60in E-Z Vac for Z Master G3 Mower (N° de référence 78553)
60in E-Z Vac Triple Bagging System, Z Master G3 Mower (N° de référence 78563)
60in E-Z Vac DFS Collection System, Z Master G3 Mower (N° de référence 78567)
Filter Minder Gauge (N° de référence 99-4664)
KIT, TRASH HOLDER (N° de référence TC26)
-
Nº de modèle
74925TE -
N° de série
316000001 - 316999999 -
Nom du produit
Z Master Professional 6000 Series Riding Mower, with 152cm TURBO FORCE Side Discharge Mower -
Marque du produit
Toro -
Type de produit
Riding Products -
Série de produit
Zero Radius Turn, Professional 6000 Series -
Type de châssis
ZRT - LCE -
Largeur de travail
60 inch -
Éjection
Side Discharge -
Fabricant du moteur
Kawasaki -
Taille de moteur
25.5 hp -
Type de moteur
4 Cycle -
Démarreur
Electric -
Type de transmission
Hydrostatic -
Type de traction
Rear WD
-
Engine: Battery
12V 300CCA -
Engine: Spark Plug
NGK BPR4ES -
Engine: Spark Plug Gap
.030"/ .76mm -
Chassis: Tire Pressure
13 psi / 90 kPa -
Engine: Ignition Coil Air Gap
.008-.016" / .2-.4mm -
Chassis: Height of Cut Range
1" - 5.5" (25-140mm) -
Engine: Engine Speed
2850±100 RPM -
Drive System: Gearbox Lubricant
HYPR-OIL 500 / Mobil 1 15w-50; 52oz. (1.5L) per side with filter change -
Drive System: Ground Speed
Fwd. 0 - 12 mph -
Engine: Engine Oil Type
77 oz. (2.3L) with filter change SAE 10w30/10w40

























