Debris Blower 600
Informations produit
- Nº Modèle : 44536
- Nº Série : 240000001 - 240999999
- Type de produit : Commercial Debris Blower
Chargement...
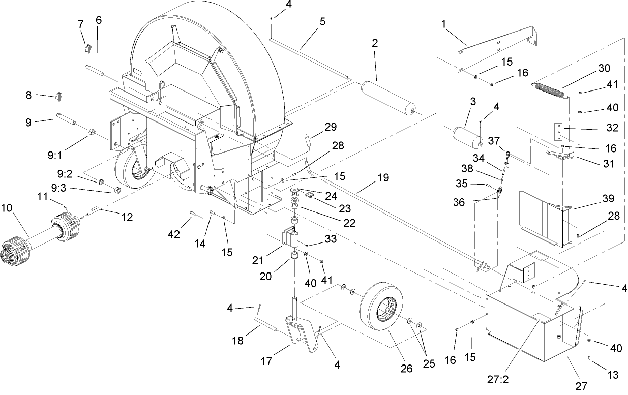
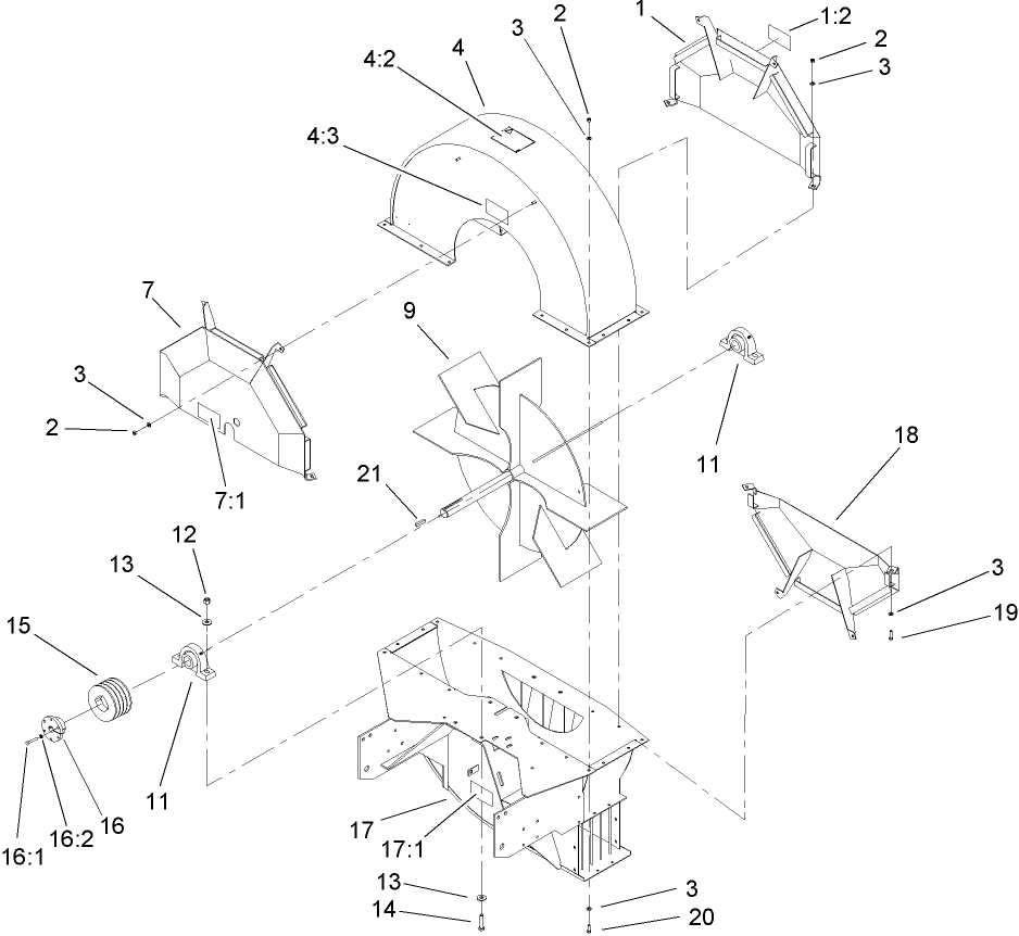
Schémas d’assemblage
Rechercher une pièce dans des schémas d'assemblage :
-
Manuel de l'utilisateur
-
Catalogue de pièces haute
-
Déclaration de conformité UE
-
Bulletin d'entretien
-
Nº Modèle
44536 -
Nº Série
240000001 - 240999999 -
Nom du produit
Debris Blower 600 -
Marque du produit
Toro -
Type de produit
Commercial Debris Blower -
Série de produit
Miscellaneous





