TimeMaster 76cm Lawn Mower
Informations produit
- Nº Modèle : 20975
- Nº Série : 313000001 - 313999999
- Type de produit : Walk Behind Mowers
Chargement...
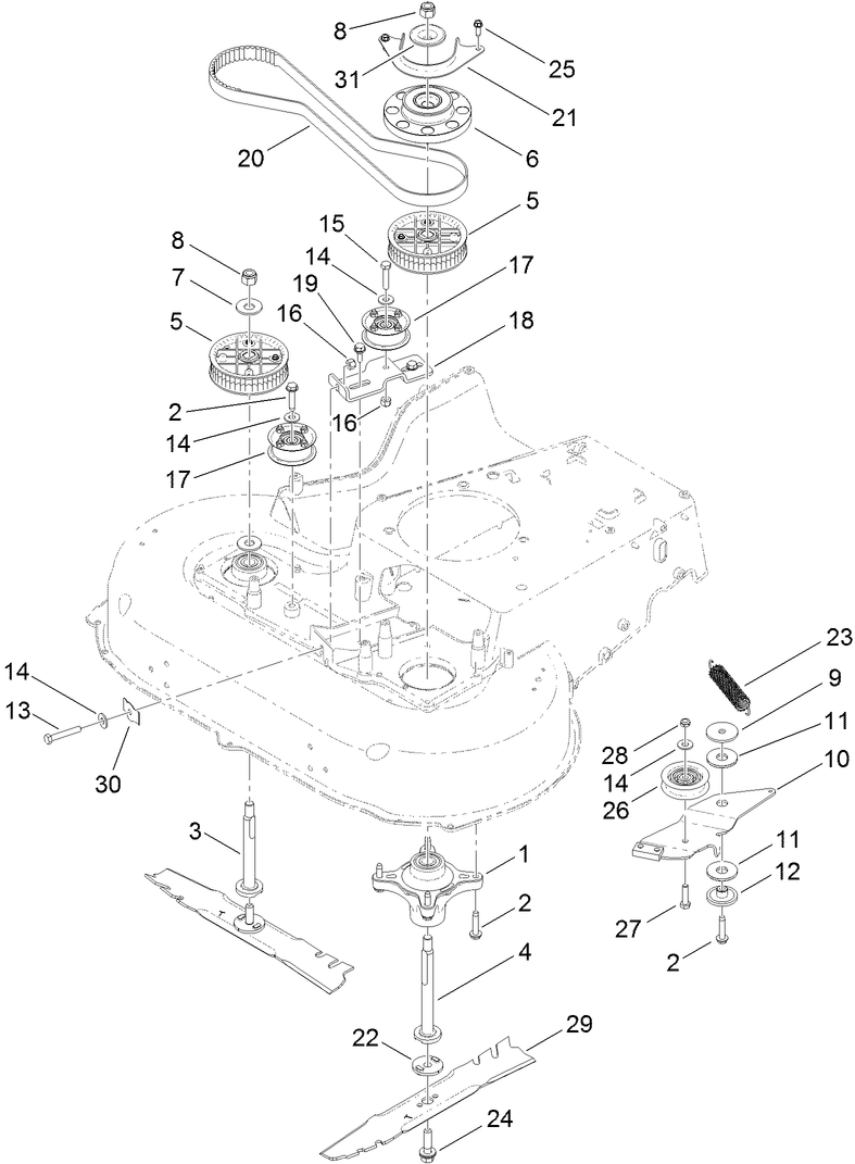
Schémas d’assemblage
Rechercher une pièce dans des schémas d'assemblage :
-
Manuel d'entretien
-
Manuel de l'utilisateur
-
Catalogue de pièces haute
-
Déclaration de conformité UE
-
Nº Modèle
20975 -
Nº Série
313000001 - 313999999 -
Nom du produit
TimeMaster 76cm Lawn Mower -
Marque du produit
Toro -
Type de produit
Walk Behind Mowers -
Série de produit
30" Steel Deck -
Type de châssis
Steel Deck WPM -
Largeur de travail
30 inch -
Éjection
Recycler & Side Discharge with Rear Bag -
Fabricant du moteur
Briggs & Stratton -
Type de moteur
4 Cycle -
Démarreur
Recoil -
Type de traction
Rear WD
-
Engine: Engine Speed
3000±100 RPM -
Engine: Ignition Coil Air Gap
.010" / .25mm -
Engine: Spark Plug
Champion RC12YC -
Engine: Spark Plug Gap
.030"/ .76mm -
Engine: Engine Oil Type
20 oz. (0.59 L) SAE 30 / API SF, SG, SH, SJ, SL, or higher







