Road-Ready Pro Force Debris Blower
Informazioni sul prodotto
- N. modello: 44539
- N. di serie: 314000001 - 314999999
- Tipo prodotto: Commercial Debris Blower
Caricamento in corso...
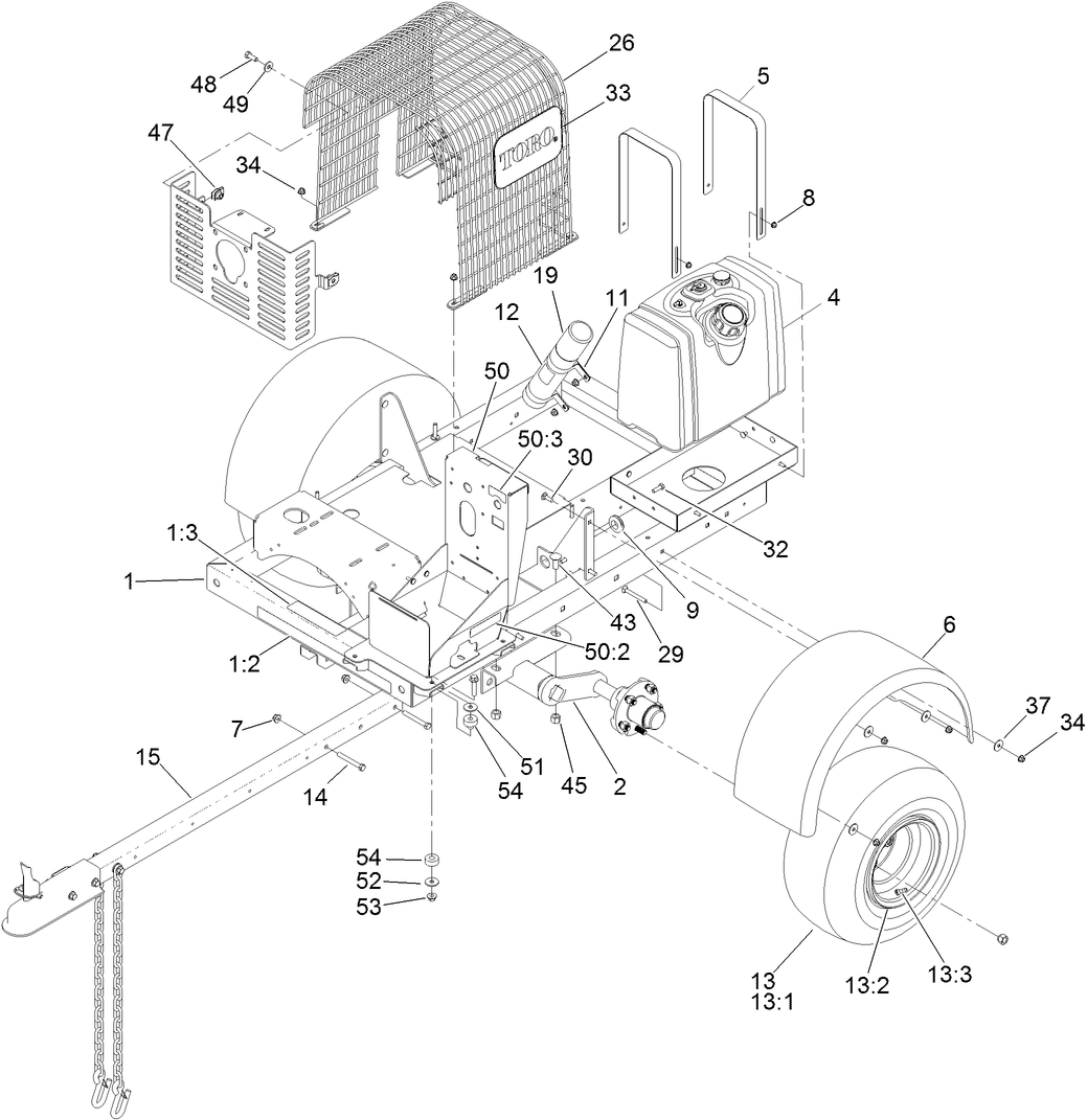
Disegni di montaggio
Cercate un ricambio nei disegni montaggio:
-
Manuali di manutenzione
-
Manuale dell'operatore
-
Catalogo ricambi
-
Dichiarazione di conformità UE
-
Garanzia sulle emissioni per evaporazione del motore
-
Bollettino di manutenzione
-
N. modello
44539 -
N. di serie
314000001 - 314999999 -
Nome prodotto
Road-Ready Pro Force Debris Blower -
Marchio prodotto
Toro -
Tipo prodotto
Commercial Debris Blower -
Serie di prodotti
Turf Maintenance Equipment












