Accessoire tarière à couple élevé
Informations produit
- Nº Modèle : 22805
- Nº Série : 402000000 - 404319999
- Type de produit : Compact Utility Loaders, Attachments
Chargement...
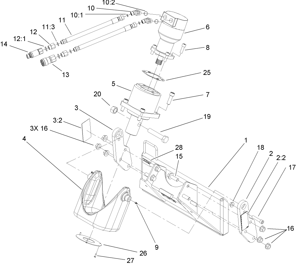
Schémas d’assemblage
Rechercher une pièce dans des schémas d'assemblage :
-
Manuel de l'utilisateur
-
Catalogue de pièces haute
-
Nº Modèle
22805 -
Nº Série
402000000 - 404319999 -
Nom du produit
Accessoire tarière à couple élevé -
Marque du produit
Toro -
Type de produit
Compact Utility Loaders, Attachments


