16-42Z TimeCutter Z Riding Mower
Informations produit
- Nº de modèle : 74403
- N° de série : 230000001 - 230999999
- Type de produit : Riding Products
Chargement...
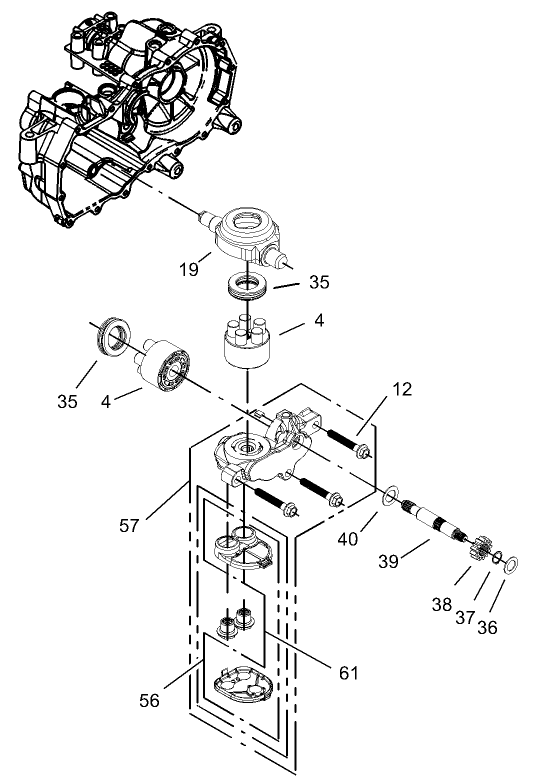
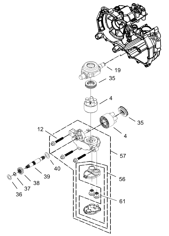
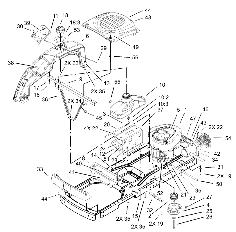
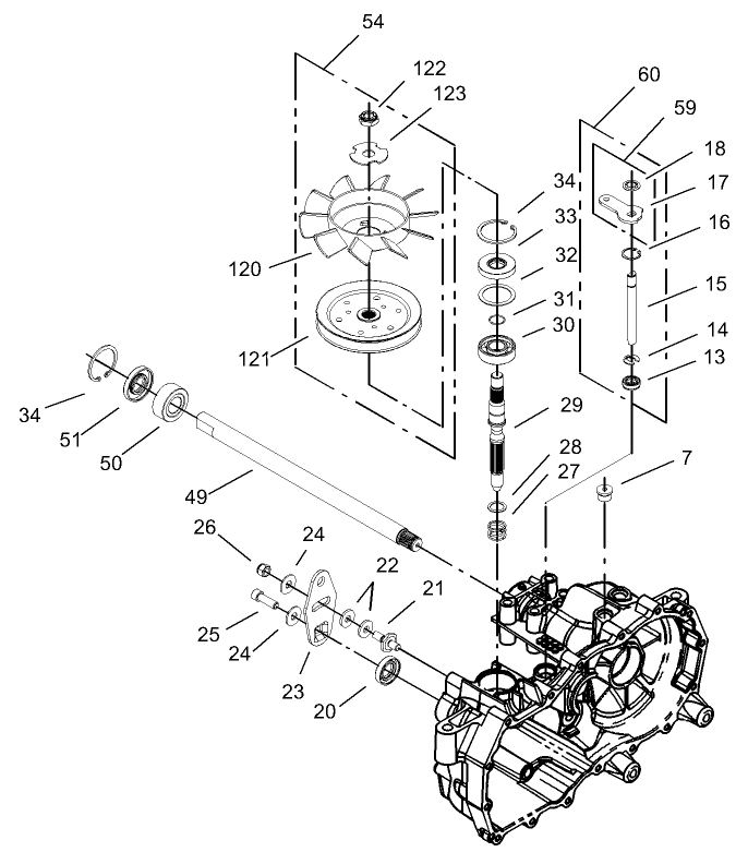
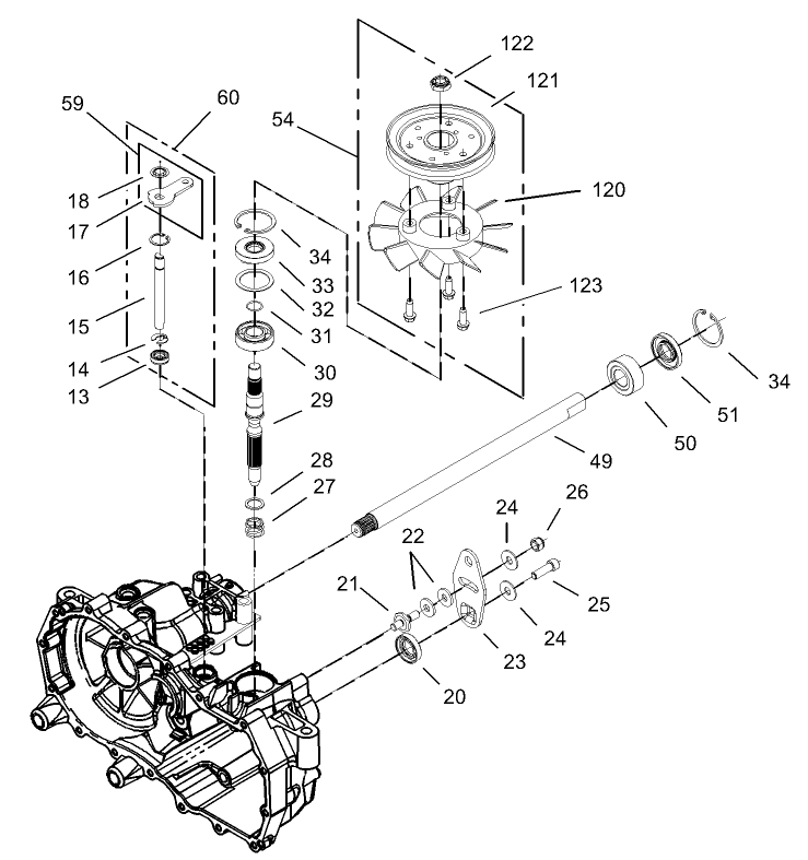
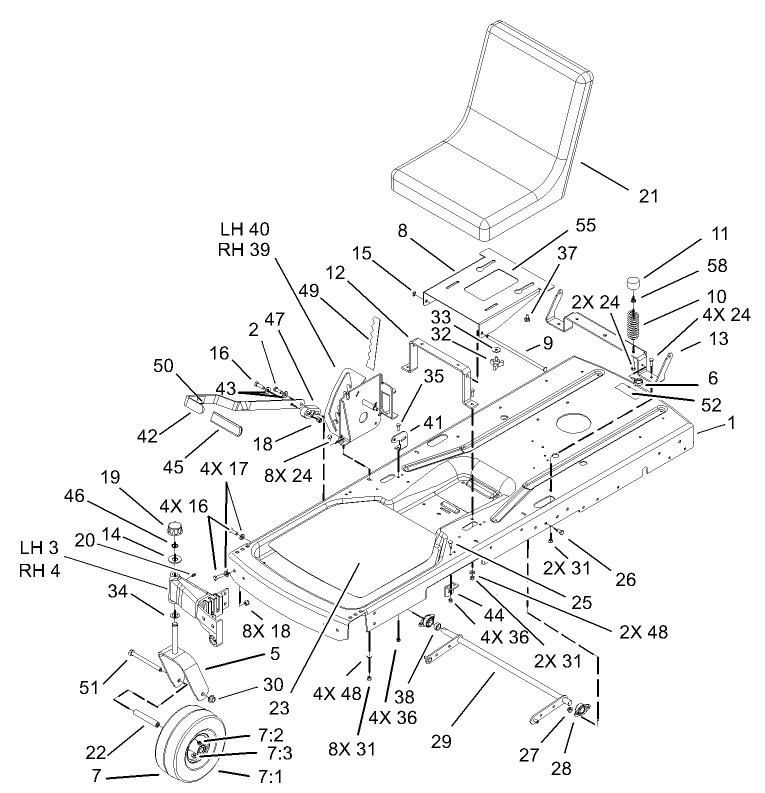
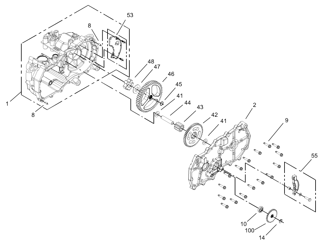
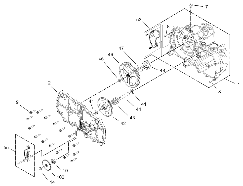
Schémas d’assemblage
Rechercher une pièce dans des schémas d'assemblage :
-
Manuel d'entretien
-
Manuel de l'utilisateur
-
Catalogue de pièces haute
-
Déclaration de conformité UE
-
Instructions d'installation
42 Inch Twin Bagger (N° de référence 79214)
48" Snow Blade (N° de référence 79216)
-
Nº de modèle
74403 -
N° de série
230000001 - 230999999 -
Nom du produit
16-42Z TimeCutter Z Riding Mower -
Marque du produit
Toro -
Type de produit
Riding Products -
Série de produit
Zero Radius Turn, Consumer -
Type de châssis
ZRT - Consumer -
Largeur de travail
112cm -
Éjection
Recycler -
Fabricant du moteur
Briggs & Stratton -
Taille de moteur
16 hp -
Type de moteur
4 Cycle CARB2, EPA2 -
Démarreur
Electric -
Type de transmission
Hydrostatic
-
Chassis: Tire Pressure
Front 35 PSI / 2.5kg sq. cm, Rear 13 PSI / .9kg sq. cm -
Engine: Battery
12V 260CCA -
Engine: Spark Plug
Champion RC12YC -
Engine: Spark Plug Gap
.030"/ .76mm -
Drive System: Ground Speed
Fwd. 0 - 6 Rev. 0 - 3 mph -
Engine: Engine Speed
High 3300, Low 1400 RPM























