44" Vacuum Bagger, XL Series Lawn Tractors
Informazioni sul prodotto
- N. modello: 79102
- N. di serie: 5900001 - 5999999
- Tipo prodotto: Attachments
Caricamento in corso...
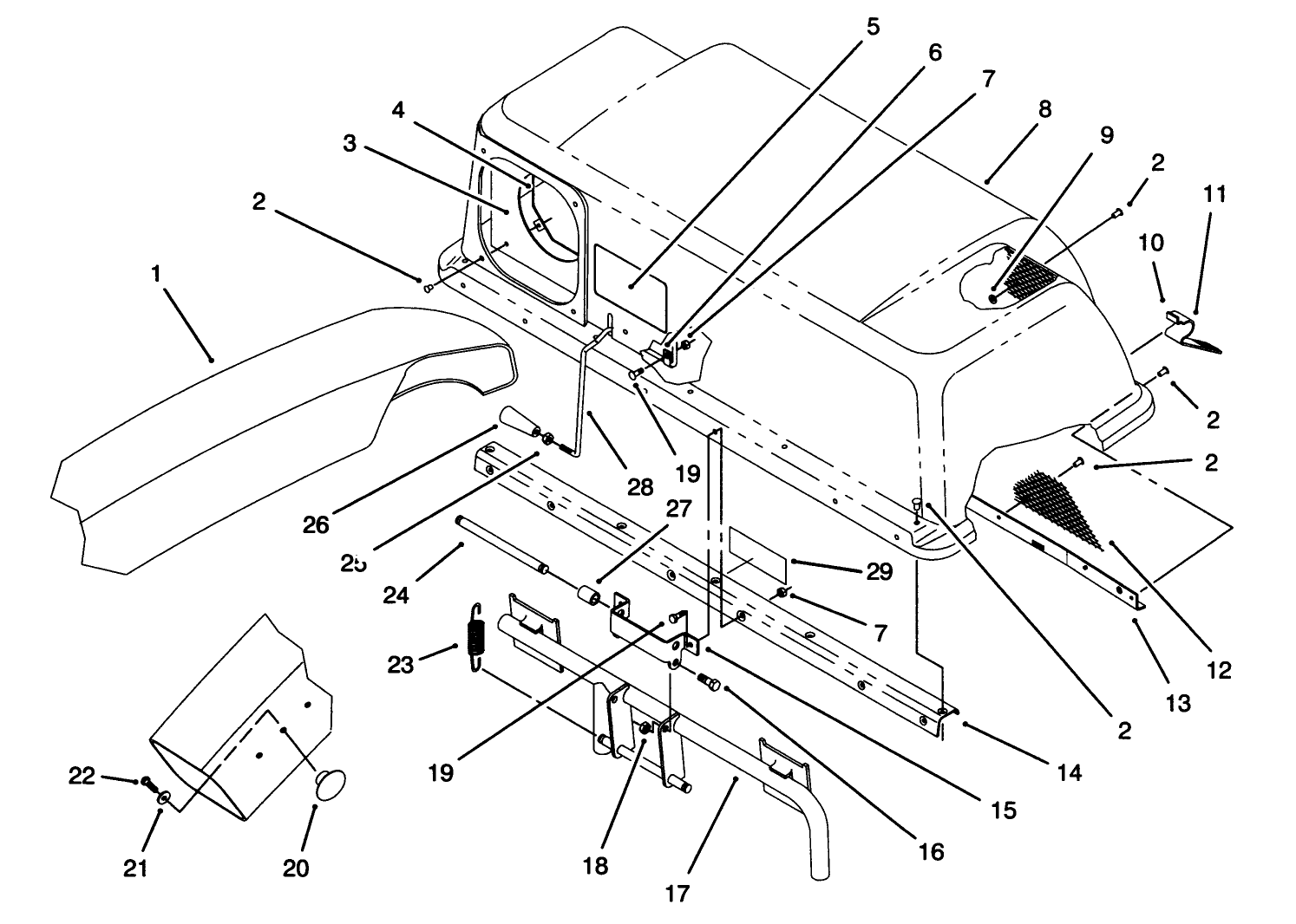
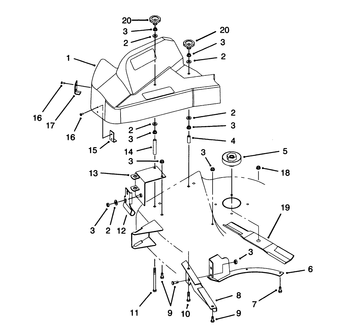
Disegni di montaggio
Cercate un ricambio nei disegni montaggio:
-
Manuale dell'operatore
-
Catalogo ricambi
-
N. modello
79102 -
N. di serie
5900001 - 5999999 -
Nome prodotto
44" Vacuum Bagger, XL Series Lawn Tractors -
Marchio prodotto
Toro -
Tipo prodotto
Attachments -
Serie di prodotti
Attachments & Kits, Consumer Riding





