30in TurfMaster Walk-Behind Lawn Mower
Product Information
- Model #: 22200
- Serial #: 314000001 - 314999999
- Product Type: Walk Behind Mowers
Loading...
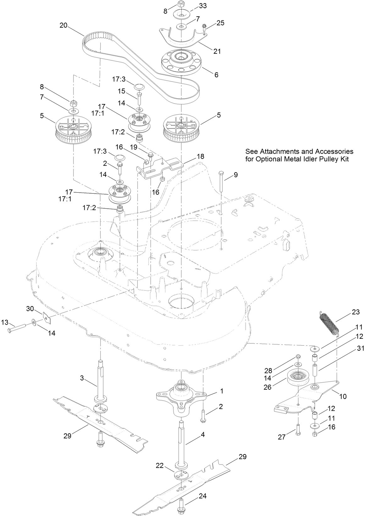
Assembly Drawings
Search for a part within assembly drawings:
-
Operator's Manual
-
Parts Catalog
-
Engine Evaporative Emission Warranty
BLADE (Part # 120-9500-03)
Mulching Kit, 30in TurfMaster Walk-Behind Lawn Mower (Part # 125-5064)
Idler Pulley Kit (Part # 126-7890)
-
Model #
22200 -
Serial #
314000001 - 314999999 -
Product Name
30in TurfMaster Walk-Behind Lawn Mower -
Product Brand
Toro -
Product Type
Walk Behind Mowers -
Product Series
30" Steel Deck -
Chassis Type
Steel Deck WPM -
Swath
30 inch -
Discharge
Recycler & Side Discharge with Rear Bag -
Engine/Motor Manufacturer
Kawasaki -
Engine/Motor Type
4 Cycle -
Engine Starter
Recoil -
Traction Type
Rear WD
-
Engine: Engine Speed
3500±100 RPM -
Engine: Spark Plug
NGK BPR5ES -
Engine: Spark Plug Gap
.030"/ .76mm -
Chassis: Height of Cut Range
1.5" - 5" (38-127mm) -
Engine: Ignition Coil Air Gap
.010-.020" / .25-.5mm -
Engine: Engine Oil Type
29 oz. (.85 L) w/ filter; 22 oz. (.65 L) w/o filter; 30W or 10W30 API SF, SG, SH, SJ, SL, or higher







