Snow Pup
Product Information
- Model number: 31502
- Serial number: 2000001 - 2999999
- Product Type: Snowthrowers
Loading...
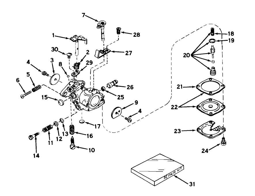
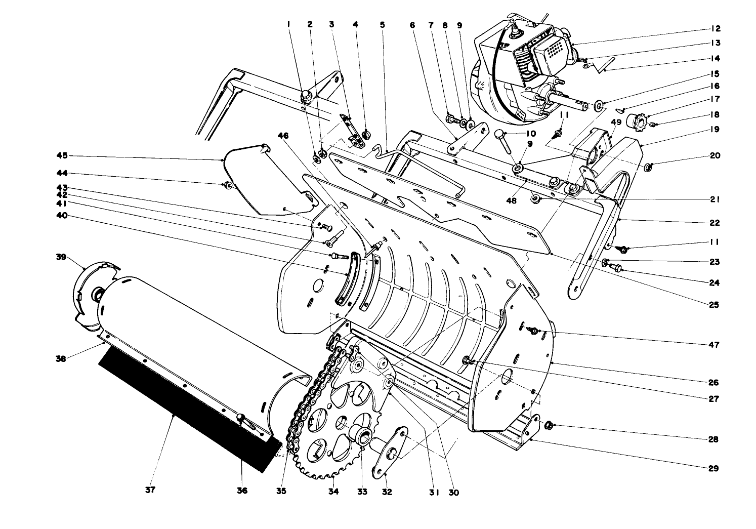
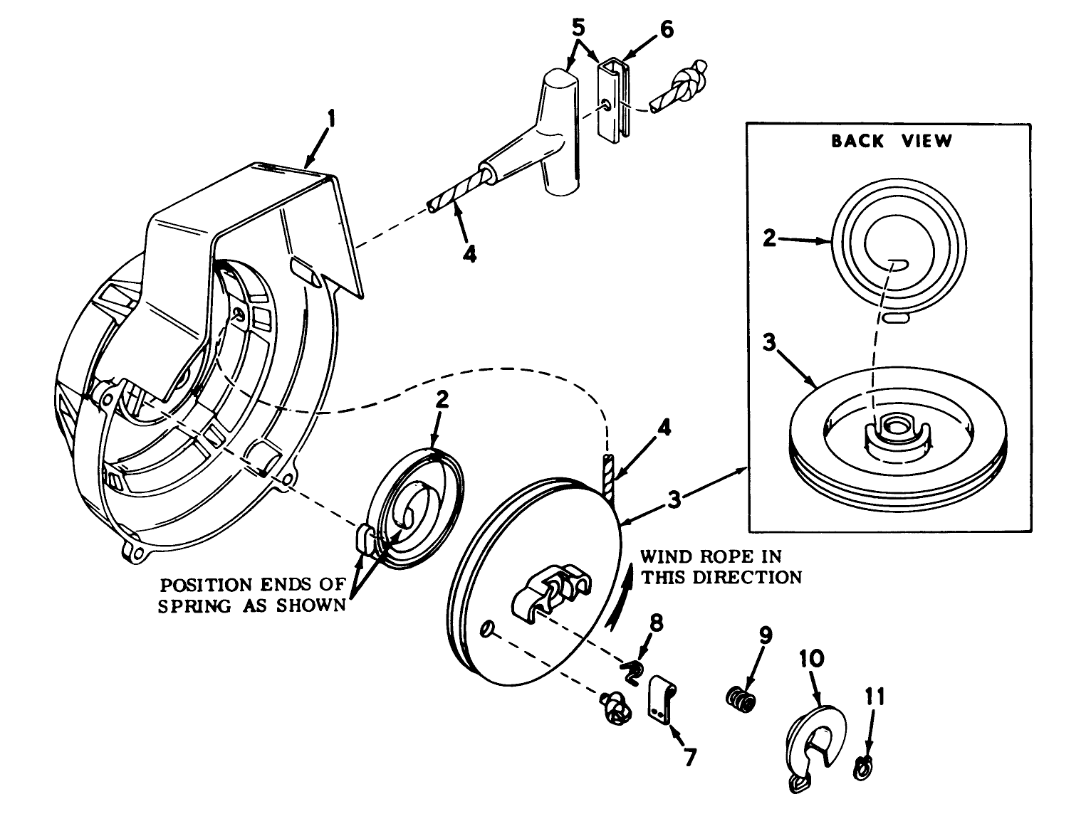
Assembly Drawings
Search for a part within assembly drawings:
-
Service Manual
-
Model number
31502 -
Serial number
2000001 - 2999999 -
Product Name
Snow Pup -
Product Brand
Toro -
Product Type
Snowthrowers -
Product Series
Snowthrower, 1965-1977 Toro -
Chassis Type
Single Stage -
Swath
21 inch -
Discharge
Single Stage -
Engine/Motor Manufacturer
Tecumseh -
Engine/Motor Size
2 hp -
Engine/Motor Type
2 Cycle -
Engine Starter
Recoil -
Transmission Type
NA





