Twister 1600 Utility Vehicle
Product Information
- Model number: 12004TC
- Serial number: 230000001 - 230999999
- Product Type: Vehicles
Loading...
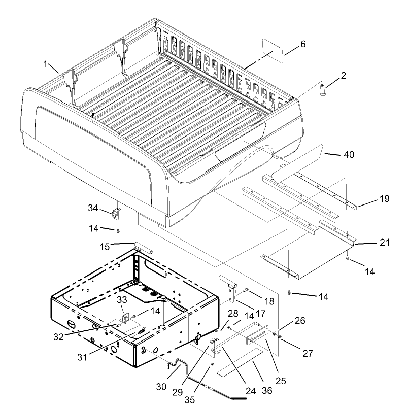
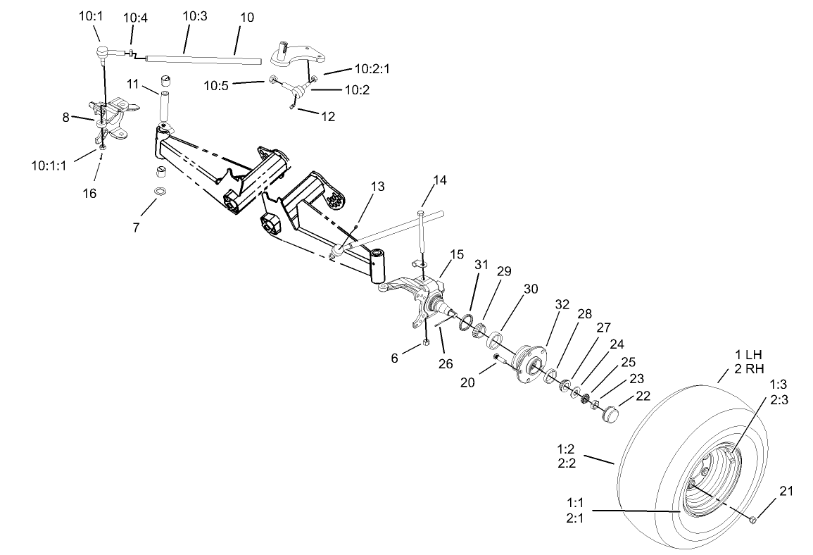
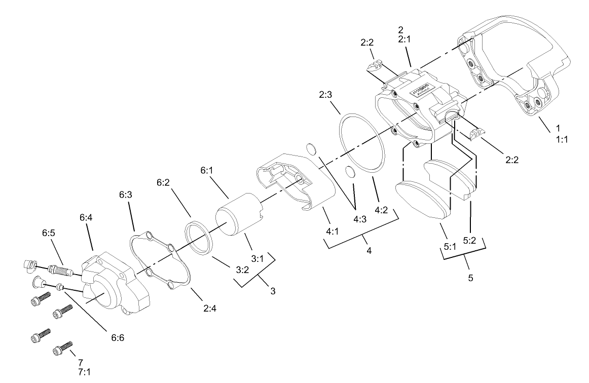
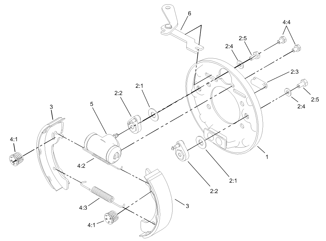
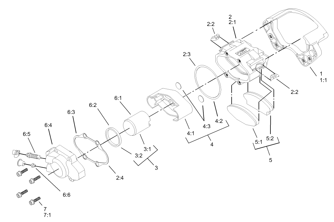
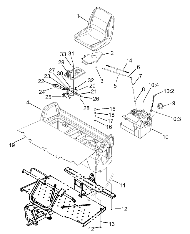
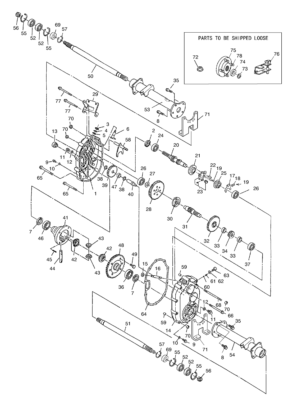
Assembly Drawings
Search for a part within assembly drawings:
-
Operator's Manual
-
Parts Catalogue
-
EU Declaration of Conformity
Stand Alone Windshield (Part number 07221R)
Electric Bed Lift (Part number 07259R)
Heavy Duty Rear Hitch (Part number 07275R)
Roll-Over Protection System (ROPS) / Seatbelts (Part number 07276R)
Rear Receiver Hitch (Part number 07278R)
Stake Sides (Part number 07290R)
Hard Cab, ROPS certified / Seatbelts / Electric Wiper (Part number 07291R)
66" Snow Plow (Part number 07292R)
Folding Windshield (Part number 07293R)
Solid Windshield (Part number 07294R)
Floor Mat (Part number 07295R)
Hard Canopy (Part number 07297R)
Horn Kit (Part number 104-6663)
Brake & Taillights (Rear lights, side reflectors) (Part number 104-6697)
Signal Lights (Front marker lights / turn signal control) (Part number 104-6953)
Alternator Kit (Part number 104-6978)
Heavy Duty AT 489 Rear Tire 24x10.50-10 (Part number 104-7061)
Heavy Duty AT 489 Front Tire 22x9.50-10 (Part number 104-7062)
Turf Tire/Wheel, Rear 24x10.50-10 (Tire only, 104-7063) (Part number 104-7084)
Turf Tire/Wheel, Front 22x9.50-10 (Tire only, 104-7064) (Part number 104-7085)
Heavy Duty Front Bumper (Part number 19050)
Operator Shield (for front of bed) (Part number 19052)
Electric Winch (2000 lb. Superwinch) (Part number 19053)
Gun Boot (Optional Mounting Bracket, 19055) (Part number 19054)
Gun Boot Mounting Bracket for 19054 (Part number 19055)
Camouflage Glove Box Bag and Trash Bag (Part number 19056)
Camouflage Single Seat Cover (2 req'd. per vehicle) (Part number 19058)
Camouflage Full Vehicle Cover (Part number 19059)
Camouflage Bed Cover (Part number 19060)
Camouflage Hood and Dash Cover (Part number 19061)
Front Brush Guard / Bumper (Part number 19062)
Vinyl Enclosure (Part number 79979R)
Soft Vinyl Bed Cover (Part number 79980R)
Spark Arrestor (Meets USDA Forest Service Standard 5100-1A) (Part number 98-9099)
Electric Harness Kit (Part number 99-7924)
-
Model number
12004TC -
Serial number
230000001 - 230999999 -
Product Name
Twister 1600 Utility Vehicle -
Product Brand
Toro -
Product Type
Vehicles -
Product Series
Vehicle, Consumer -
Chassis Type
Vehicle - Consumer -
Engine/Motor Manufacturer
Briggs & Stratton -
Engine/Motor Size
16 hp -
Engine/Motor Type
4 Cycle CARB2, EPA2 -
Engine Starter
Electric -
Transmission Type
Gear -
Traction Type
2wd
-
Engine: Battery
12V 300CCA -
Engine: Ignition Coil Air Gap
.008-.012" / .2-.3mm -
Engine: Spark Plug Gap
.030"/ .76mm -
Chassis: Tire Pressure
8-22 PSI / .6-1.5kg sq. cm -
Drive System: Ground Speed
0-19 mph -
Engine: Engine Speed
High 3600, Low 1025 RPM -
Engine: Spark Plug
Champion RC14YC


































