GrandStand® 91 cm Stand-on Mower - Rear Discharge
Product Information
- Model number: 74540TE
- Serial number: 413000000 - 417999999
- Product Type: Riding Products
Loading...
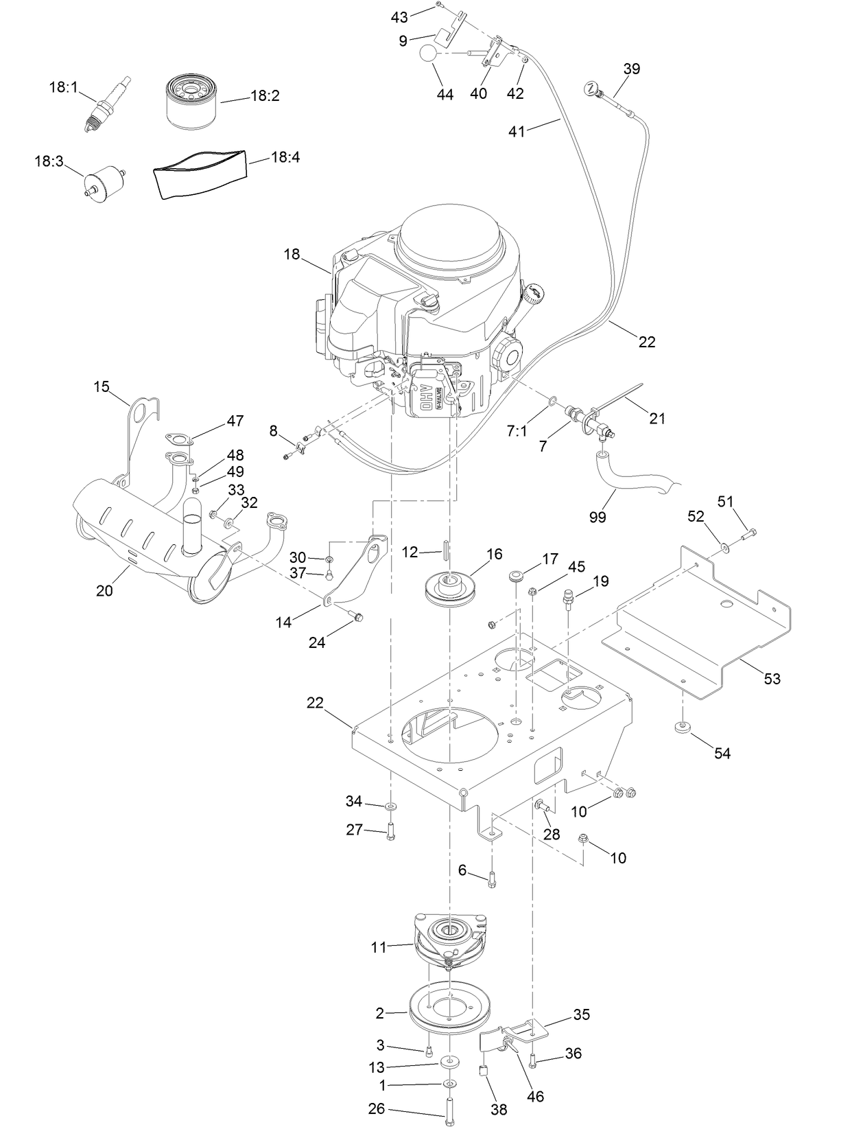
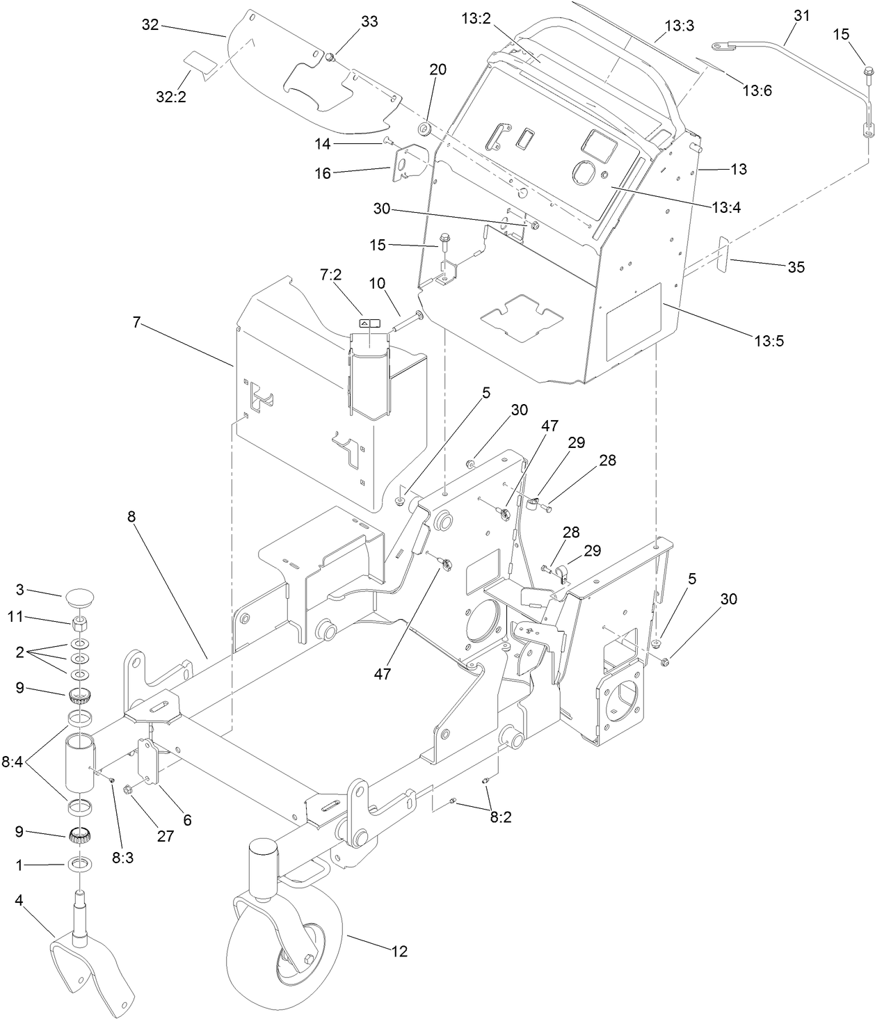
Assembly Drawings
Search for a part within assembly drawings:
-
Operator's Manual
-
Parts Catalogue
-
Product Warranty
-
Setup Instructions
-
EU/UK Declaration of Conformity
-
Model number
74540TE -
Serial number
413000000 - 417999999 -
Product Name
GrandStand® 91 cm Stand-on Mower - Rear Discharge -
Product Brand
Toro -
Product Type
Riding Products -
Product Series
Professional Grade Stand-on Mowers -
Chassis Type
Stand On -
Swath
91cm -
Discharge
Side -
Engine/Motor Manufacturer
Kawasaki -
Engine/Motor Size
15 hp -
Engine/Motor Type
4 Cycle -
Engine Starter
Electric -
Transmission Type
Hydrostatic -
Traction Type
2wd
-
Engine: Battery
12V 300CCA -
Engine: Spark Plug
NGK BPR4ES -
Engine: Spark Plug Gap
.030"/ .76mm -
Engine: Ignition Coil Air Gap
.008-.016" / .2-.4mm -
Engine: Engine Oil Type
1.8 qt (1.7L) 10w-30 engine oil API SF or higher -
Engine: Engine Speed
2600±100 RPM -
Chassis: Height of Cut Range
1" - 5" (25-127mm) -
Chassis: Tire Pressure
12-14psi (83-97kPa) -
Drive System: Ground Speed
Up to 8 mph -
Drive System: Gearbox Lubricant
HYPR-OIL 500





















