Véhicule utilitaire Workman® GTX
Informations produit
- Nº Modèle : 07409
- Nº Série : 412800000 - 412900000
- Type de produit : Vehicles
Chargement...
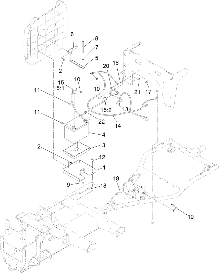
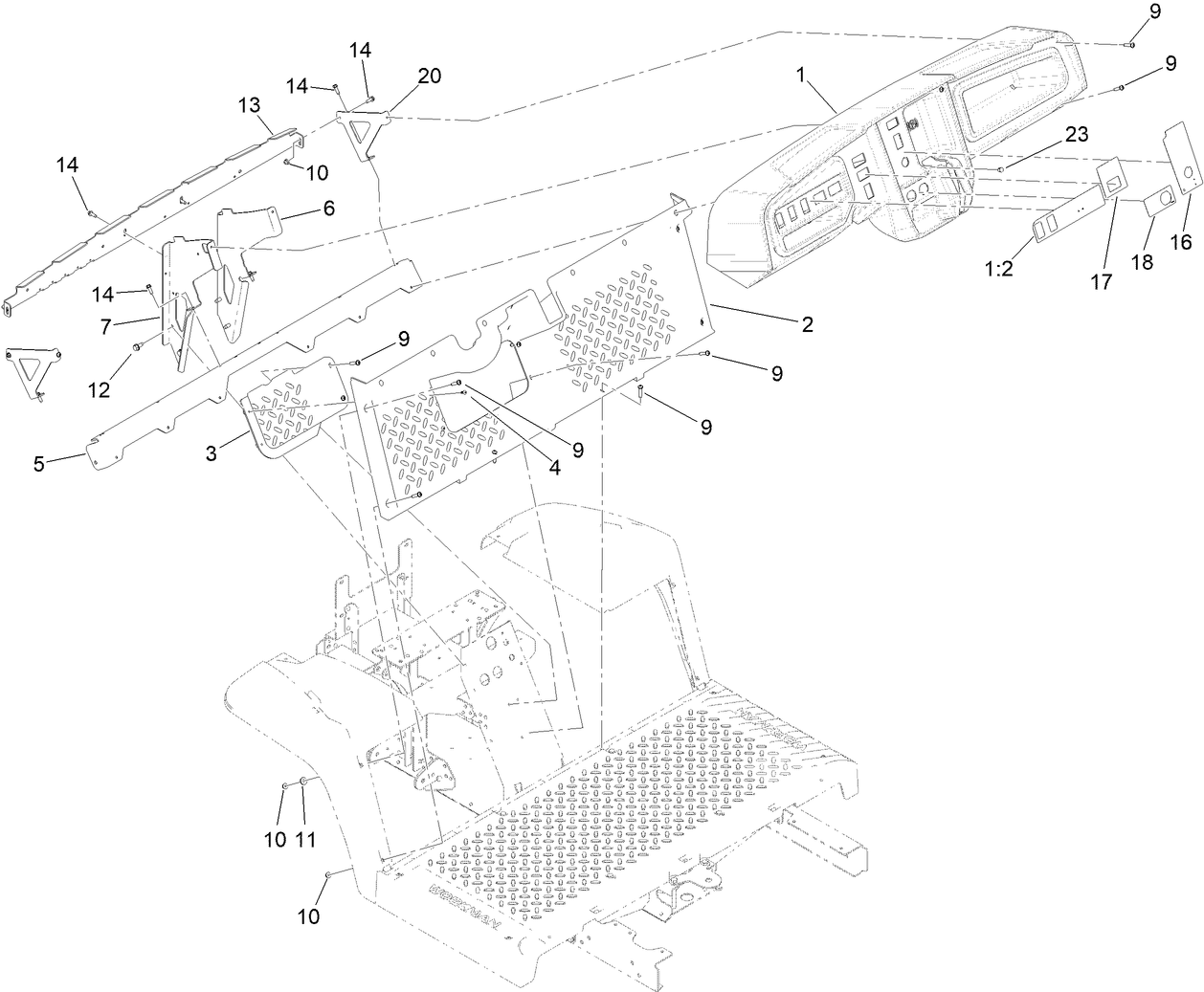
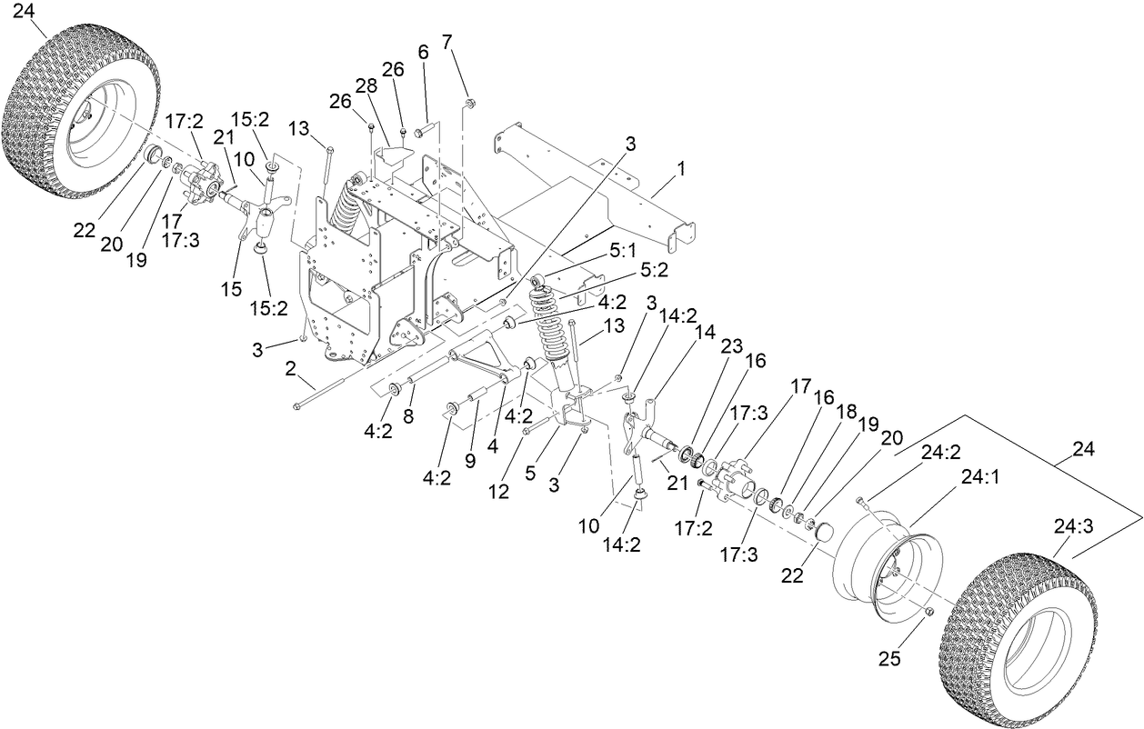
Schémas d’assemblage
Rechercher une pièce dans des schémas d'assemblage :
-
Manuel d'entretien
-
Manuel de l'utilisateur
-
Catalogue de pièces haute
-
Schéma électrique
-
Bulletin d'entretien
Hose Reel Mount Kit (N° de référence 07027)
• Designed for Reel Craft, Cox Reels or similar models
• Can be mounted on front of vehicle with front receiver
Trash Can Mount (N° de référence 07028)
• Designed for 32-gallon cans
• Can be mounted on front of vehicle with front receiver.
Walk Spreader Mounting Kit, Workman GTX Series Utility Vehicle (N° de référence 07029)
Bed Rack Kit, Workman GTX Series Utility Vehicles (N° de référence 07031)
ROPS KIT, WORKMAN GTX (N° de référence 07032)
GTX CARGO BED KIT (N° de référence 07046)
Bench Seat Base Kit, Workman GTX Series Utility Vehicles (N° de référence 07047)
Bucket Seat Base Kit, Workman GTX Series Utility Vehicles (N° de référence 07048)
Extension Kit, Workman GTX Series Utility Vehicles (N° de référence 07049)
Fold-Down Rear Facing Seat, Workman GTX Utility Vehicle (N° de référence 07123)
Cab Kit, Workman GTX Utility Vehicle (N° de référence 07142)
12V Electric Lift Kit, Workman GTX Utility Vehicle (N° de référence 07144)
Brush Guard Kit, Workman GTX or MDX Series Utility Vehicles (N° de référence 07145)
Front Hitch Kit, Workman GTX Series Utility Vehicles with Brush Guard (N° de référence 07146)
Front Hitch Kit, Workman GTX or MDX Series Utility Vehicles without Br (N° de référence 07147)
STEEL FLAT BED KIT, WORKMAN GT (N° de référence 07148)
Storage Box Kit, Workman GTX Series Utility Vehicles (N° de référence 07156)
6in L-Track Kit, Workman GTX Utility Vehicle (N° de référence 07158)
2in L-Track Kit, Workman GTX Utility Vehicle (N° de référence 07159)
GTX BALL CAGE ROPS CERTIFIED (N° de référence 07161)
12V 6' BED ELECTRIC LIFT KIT-WM GTX G (N° de référence 07167)
CANOPY W/ ROPS - GTX (N° de référence 07169)
Rear Attachment Receiver, Workman GTX Series Utility Vehicle with Stee (N° de référence 07186)
Canopy Mount Kit, Workman GTX Utility Vehicle with Extended Flatbed (N° de référence 07199)
LIFT KIT, WORKMAN GTX (N° de référence 07414)
VAN BOX WORKMAN GTX (N° de référence 07440)
FULL SHELF FOR VAN BOX, WORKMAN GTX (N° de référence 07441)
Steel Cargo Bed Base, Workman GTX Series Utility Vehicle (N° de référence 07450)
Steel Cargo Bed Solid Sides Kit, Workman GTX Series Utility Vehicle (N° de référence 07451)
WORKMAN GTX 2-PERSON CANOPY (N° de référence 07921)
Folding Windshield Kit, Workman GTX Utility Vehicle with Canopy (N° de référence 07923)
TIRE-20 8.00-10 (N° de référence 116-7333)
SHIM-LIMITER (N° de référence 119-0807)
Exterior Mirror Kit, Workman MD/MDE/MDX/HDX Cab Kit (N° de référence 130-5448)
Interior Mirror Kit, Workman MD/MDE/MDX/HDX Cab Kit (N° de référence 130-5449)
Beacon Kit, Workman MD/MDE/MDX/HDX Cab Kit (N° de référence 130-5484)
Work Light Kit, Workman MD/MDE/MDX/HDX Cab Kit (N° de référence 130-5485)
Windshield Washer Fluid Kit, 2015 and after Workman MD/HD Series Utili (N° de référence 130-5615)
Small Seat Cover (N° de référence 131-6690)
TIRE/WHEEL ASM (N° de référence 131-8319)
Power Point Kit, Workman GTX or GTX Electric Utility Vehicle (N° de référence 131-8550)
Wide Angle Mirror Kit, Workman GTX Utility Vehicle with Canopy (N° de référence 133-1009)
Wide Angle Mirror Kit, Workman GTX Utility Vehicle (N° de référence 133-1038)
Horn Kit, Workman GTX Utility Vehicle (N° de référence 133-3016)
Reverse Alarm Kit, Workman GTX Utility Vehicle (N° de référence 133-3018)
Parking Brake Alarm Kit, Workman GTX Utility Vehicle (N° de référence 133-3019)
Spark Arrestor Screen Kit, Workman GTX Utility Vehicle (N° de référence 133-7109)
BRACKET-MOUNT, RADIO (N° de référence 133-7111-03)
BALL MOUNT-RAM (N° de référence 133-7116)
Road Light and Homologation Kit, Workman GTX Series Utility Vehicle (N° de référence 133-7128)
Cab Mount Kit, Workman GTX Utility Vehicle with Extended Flatbed (N° de référence 133-7198)
SERVICE HOOD ASM (N° de référence 133-7209)
Door Mount Mirror Kit, Workman GTX, HDX, and MD, Series Utility Vehicl (N° de référence 136-1997)
MVP KIT 400 WORKMAN GTX (N° de référence 136-6280)
Small Bedrack Mount Grip Kit, Workman GTX Utility Vehicle (N° de référence 136-6311)
Large Bedrack Mount Grip Kit, Workman GTX Utility Vehicle (N° de référence 136-6312)
WIRELESS HOURMETER KIT (N° de référence 136-6323)
Glove Box Cover Kit, Workman GTX Utility Vehicle (N° de référence 137-2883)
PLATE-SKID (N° de référence 137-2886-03)
SWITCH-IGNITION ASM, KEY1 (N° de référence 138-3500)
SWITCH-IGNITION ASM, KEY2 (N° de référence 138-3501)
SWITCH-IGNITION ASM, KEY3 (N° de référence 138-3502)
SWITCH-IGNITION ASM, KEY4 (N° de référence 138-3503)
SWITCH-IGNITION ASM, KEY5 (N° de référence 138-3504)
Brake and Signal LED Light Kit, Workman GTX Gasoline Utility Vehicle o (N° de référence 140-4785)
LAMP KIT-HOMOLOGATION, LED (N° de référence 147-2798)
Tire only (Front) 20x10.00 -10 6 ply (N° de référence 94-5236)
-
Nº Modèle
07409 -
Nº Série
412800000 - 412900000 -
Nom du produit
Véhicule utilitaire Workman® GTX -
Marque du produit
Toro -
Type de produit
Vehicles
























