Commerciale de 53 cm (21 po), autopropulsée, zone de démarrage, Honda®
Informations produit
- Numéro de modèle : 22295
- Numéro de série : 402110000 - 404329999
- Type de produit : Walk Behind Mowers
Chargement...
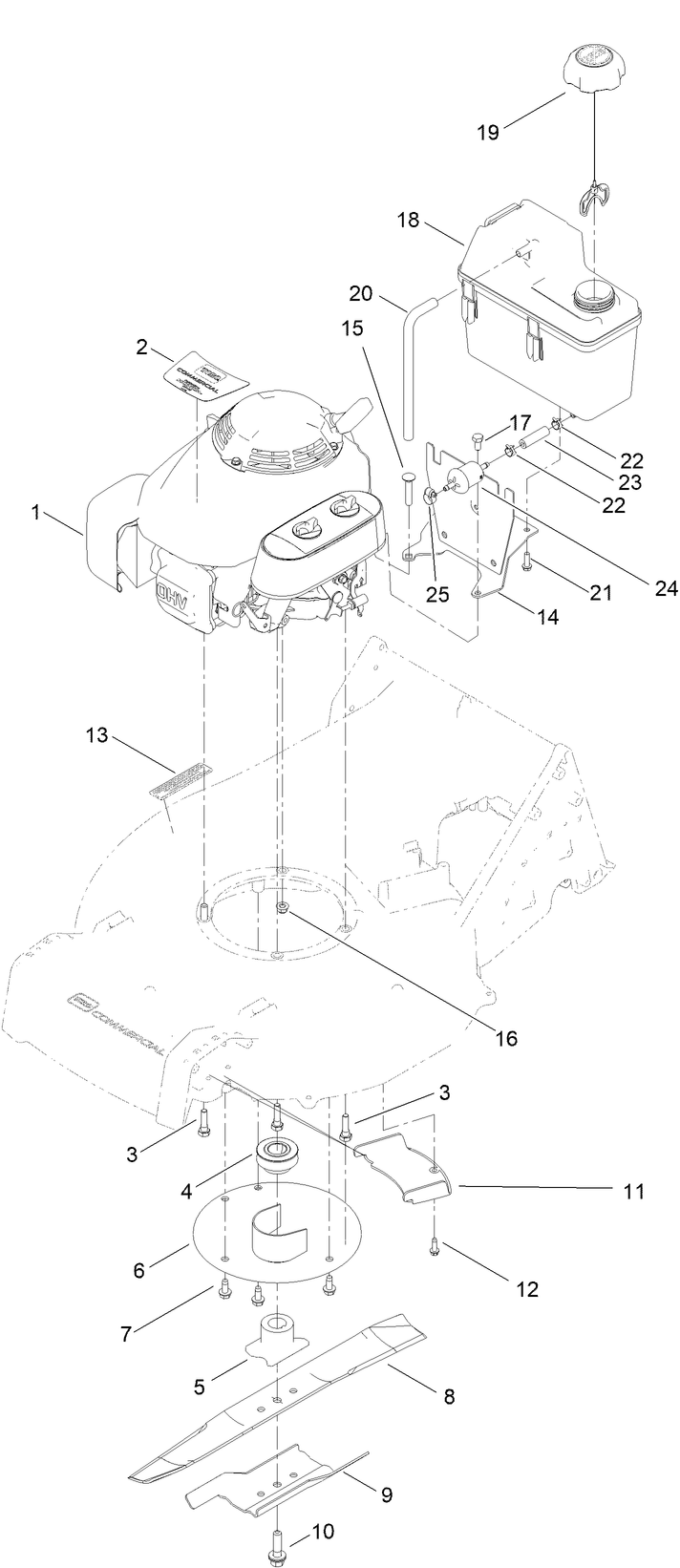
Schémas d'assemblage
Rechercher une pièce dans des schémas d'assemblage :
-
Manuel de l'utilisateur
-
Catalogue de pièces
-
Garantie produit
-
Guide de démarrage rapide
21 Inch Bagging Blade (Réf. 125-1072-03)
Toro bagging 21 Inch blade. Toro bagging lawn blades have a straight and more aerodynamic body that cuts grass which then allow for either discharge or bagging of the clippings. This Toro blade has multiple applications. Be sure to verify model and serial number to ensure the correct part.
Anti-Scalp Cup (Réf. 125-8440)
Toro OEM walk power mower anti-scalp cup. These cups help prevent the lawn mower deck from coming in contact with the ground when passing over a high spot, thus preventing the blade from slicing off or "scalping" large clumps of grass. To best protect your investment and maintain optimal performance of your equipment, count on Toro genuine parts.
Rear Discharge Kit (Réf. 130-9734)
The discharge kit easily converts bagging mowers to a side discharge mower. Directs the grass clippings away from the lawn mower deck. To best protect your investment and maintain optimal performance of your equipment, count on Toro genuine parts.
-
Numéro de modèle
22295 -
Numéro de série
402110000 - 404329999 -
Nom du produit
Commerciale de 53 cm (21 po), autopropulsée, zone de démarrage, Honda® -
Marque du produit
Toro -
Type de produit
Walk Behind Mowers -
Série de produit
21" Commercial -
Type de Châssis
Cast Deck WPM -
Largeur de travail
21 inch -
Éjection
Recycler & Rear Bagger -
Fabricant du moteur
Honda -
Type de moteur
4 Cycle -
Démarreur
Recoil -
Type de transmission
Gear -
Type de Traction
Rear WD
-
Engine: Spark Plug
NGK BPR5ES -
Engine: Spark Plug Gap
.030"/ .76mm -
Chassis: Height of Cut Range
1" - 4.5" (25-114mm) -
Engine: Engine Speed
3300±100 RPM -
Engine: Engine Oil Type
22 oz. (.65L) SAE 30 or SAE 10W-30 / API SJ or higher






