CT2240 Compact Triple 4-Wheel Drive Turf Mower
Informação de produtos
- N.º do modelo: 30654
- N.º de série: 315000001 - 315000200
- Tipo de produto: Riding Products
A carregar...
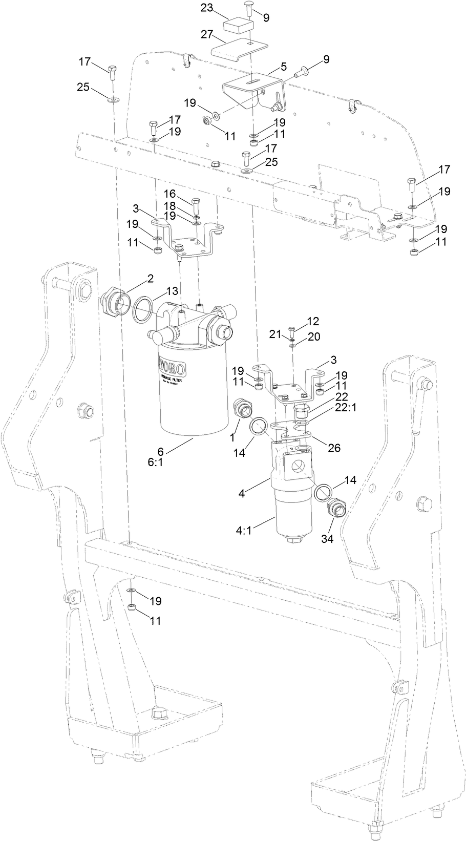
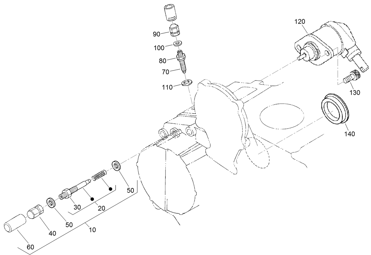
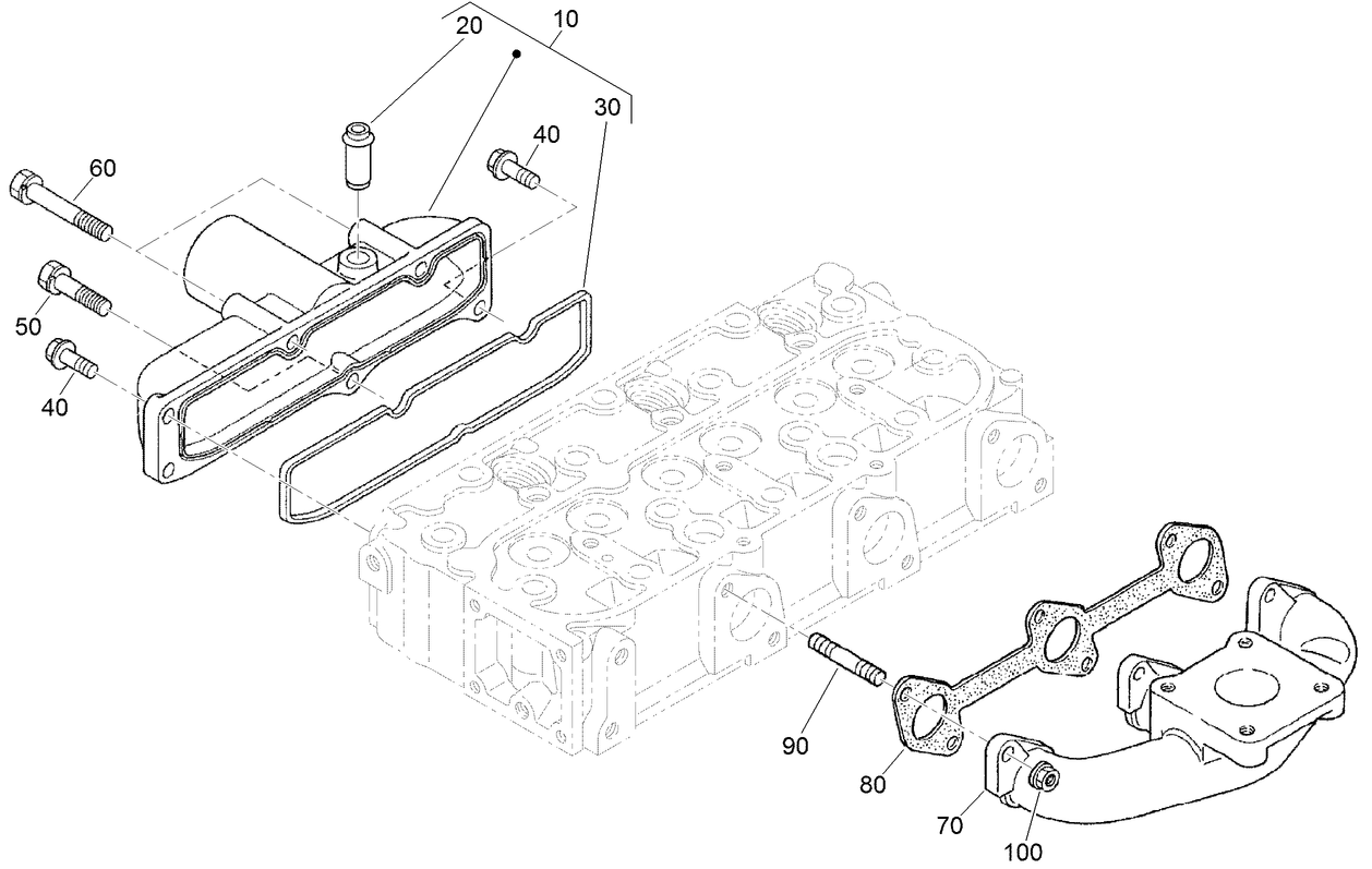
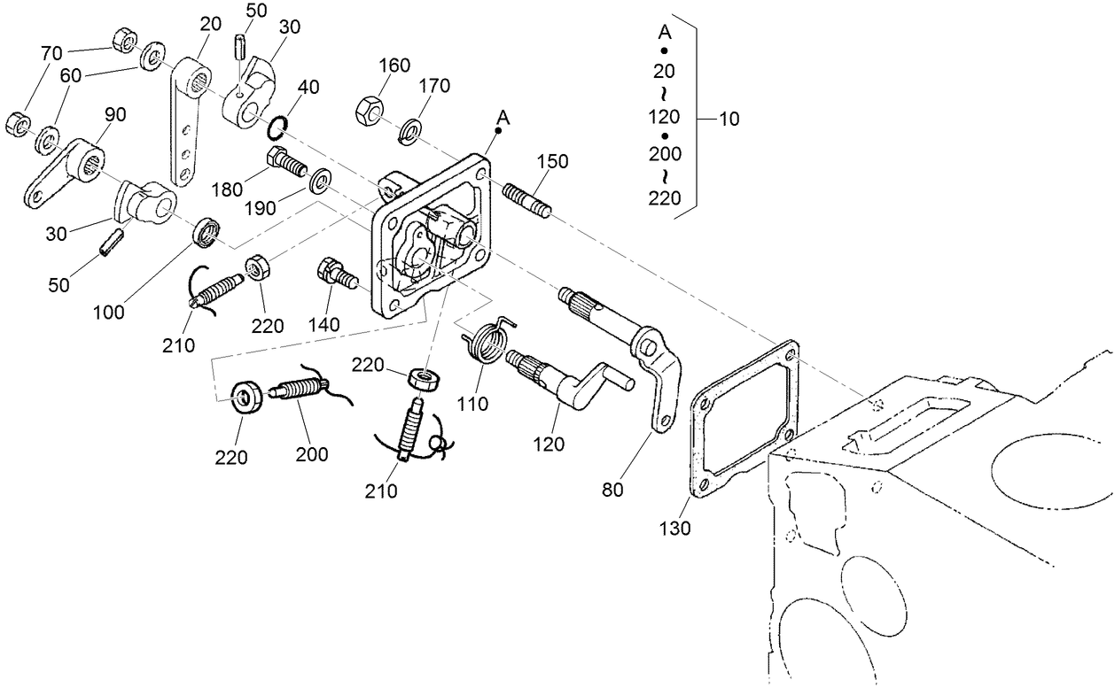
Esquemas de montagem
Procure uma peça nos esquemas de montagem:
-
Manual do utilizador
-
Catálogo de peças
-
Declaração de conformidade UE
-
Boletim de serviço
MK3 200mm (8in) 4-Blade Cutting Unit (Peça n.º 02800)
MK3 200mm (8in) 6-Blade Cutting Unit (Peça n.º 02801)
MK3 200mm (8in) 8-Blade Cutting Unit (Peça n.º 02802)
MK3 200mm (8in) 10-Blade Cutting Unit (Peça n.º 02803)
KIT BEACON CT2140 / 2120 (Peça n.º 02901)
KIT 12 VOLT ACCESSORY PORT (Peça n.º 02902)
KIT BLOWER CARRIER (Peça n.º 02903)
LSD Lock Kit (Peça n.º 02904)
KIT - ROPS ASSIST (Peça n.º 02905)
WASTE BIN KIT (Peça n.º 02906)
KIT - DELUXE SEAT (Peça n.º 02909)
KIT - LITERATURE SERVICE RECORD BOOK (Peça n.º 02911)
KIT - CT KEVLAR TYRES (Peça n.º 02912)
Road Light Kit (with Brake Lights) (Peça n.º 02916)
TUV KIT - SPEED DECAL 20KPH (Peça n.º 02980)
TUV KIT - DECK COVER 3-GANG (Peça n.º 02982)
TUV KIT - GERMAN VEHICLE SERIAL PLATE (Peça n.º 02983)
WARNING TRIANGLE (Peça n.º 111-4250)
BRACKET - NUMBER PLATE (Peça n.º 111-4710-03)
FUSE-IN LINE (Peça n.º 111-5101)
-
N.º do modelo
30654 -
N.º de série
315000001 - 315000200 -
Nome do produto
CT2240 Compact Triple 4-Wheel Drive Turf Mower -
Marca do produto
Toro -
Tipo de produto
Riding Products -
Série do produto
Turf Maintenance Equipment



















































