5-Blade 27" Reel Mower, Reelmaster 3100-D
Produktinformationen
- Modellnr.: 03210
- Seriennr.: 90001 - 99999
- Produkttyp: Attachments
Wird geladen…
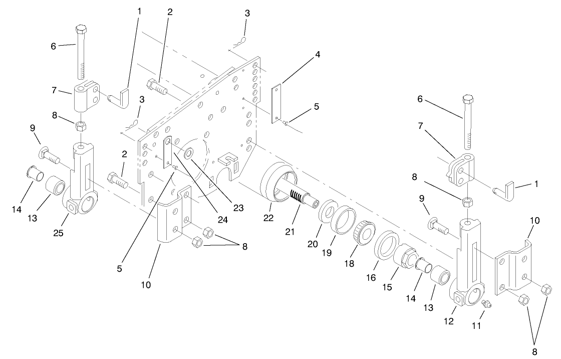
Montagezeichnungen
Ein Teil in Bauteilzeichnungen suchen:
-
Bedienungsanleitung
-
Ersatzteilkatalog
-
EU-Konformitätserklärung
-
Service-Information
-
Modellnr.
03210 -
Seriennr.
90001 - 99999 -
Produktname
5-Blade 27" Reel Mower, Reelmaster 3100-D -
Produktmarke
Toro -
Produkttyp
Attachments -
Produktserie
Pro Series - 70"




