1028 Power Shift Snowthrower
Produktinformationen
- Modellnr.: 38555
- Seriennr.: 59000001 - 59999999
- Produkttyp: Snowthrowers
Wird geladen…
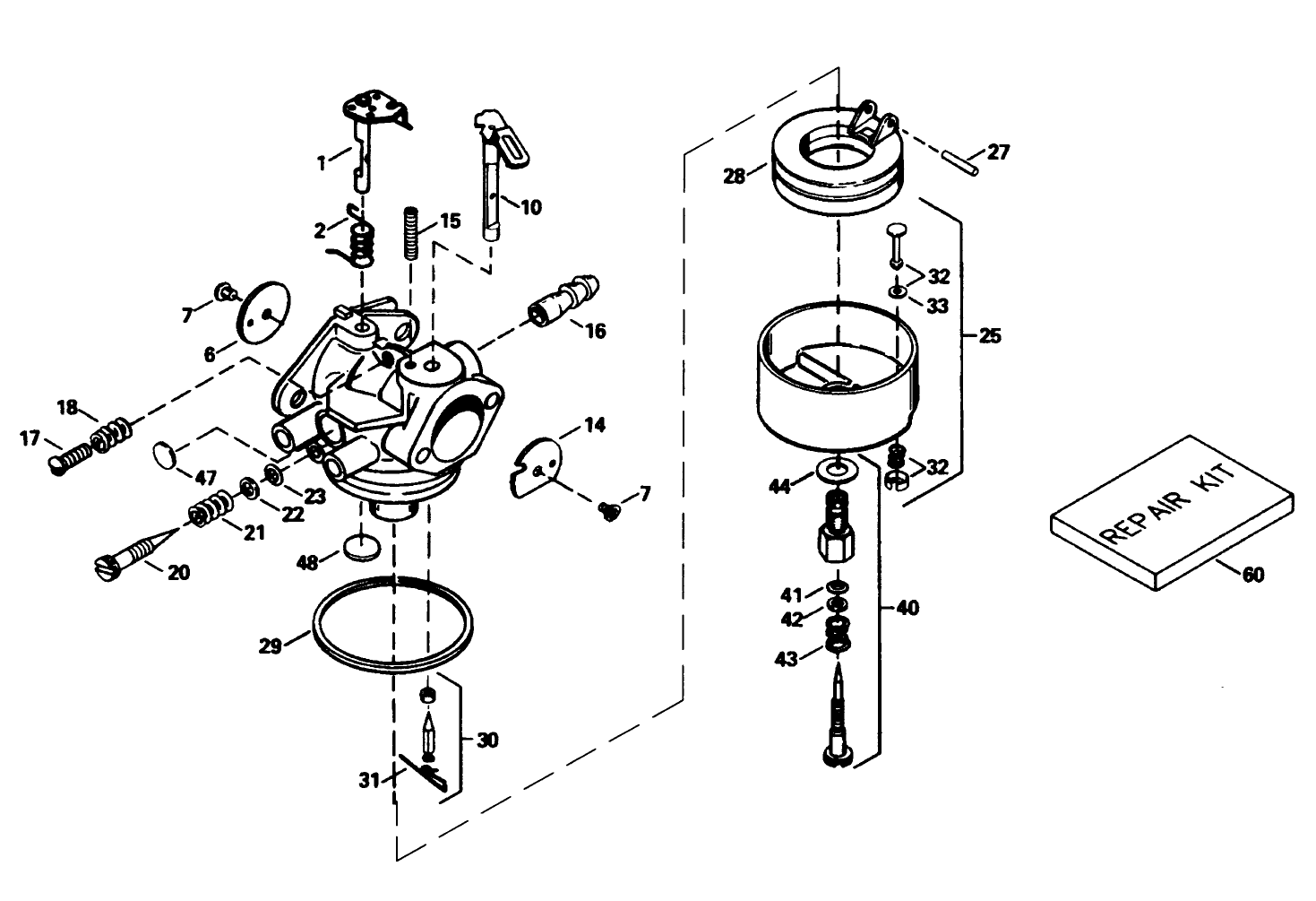
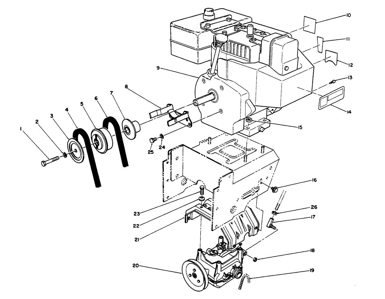
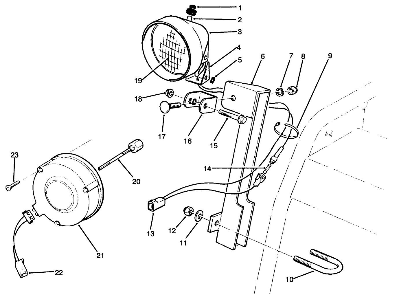
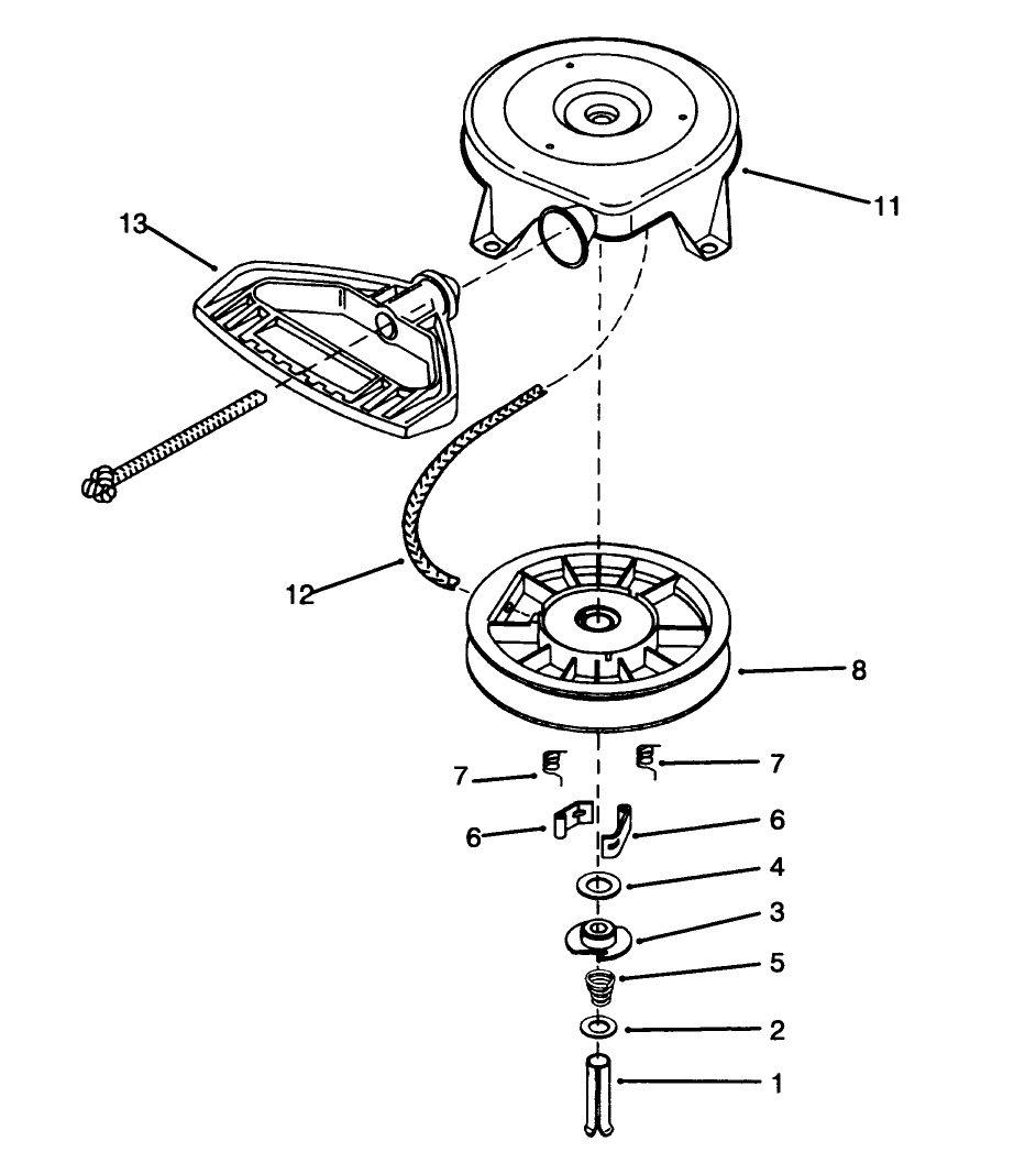
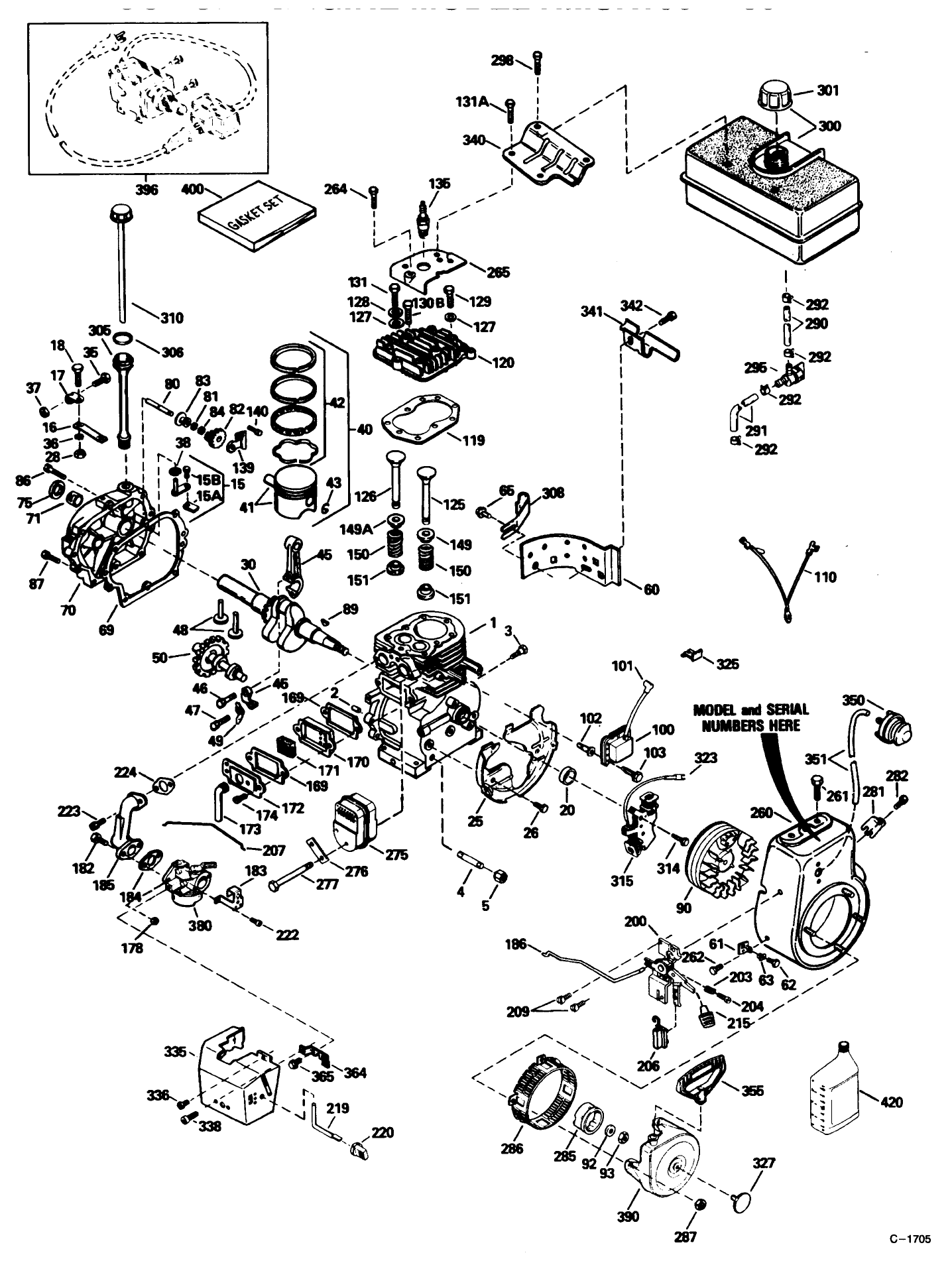
Montagezeichnungen
Ein Teil in Bauteilzeichnungen suchen:
-
Bedienungsanleitung
-
Ersatzteilkatalog
Differential Kit (Bestellnummer 38038)
Tire Chain (Bestellnummer 63-6340)
Light Kit (Bestellnummer 66-7930)
Drift Breaker (Bestellnummer 66-7970)
Snow Cab (Bestellnummer 68-9500)
Heavy Duty Skid Kit (Bestellnummer 74-1100)
Weight Kit (Bestellnummer 74-1190)
-
Modellnr.
38555 -
Seriennr.
59000001 - 59999999 -
Produktname
1028 Power Shift Snowthrower -
Produktmarke
Toro -
Produkttyp
Snowthrowers -
Produktserie
Snowthrower, Two Stage Power Shift -
Chassistyp
Two Stage -
Arbeitsbreite
28 inch -
Auswurf
Two Stage -
Motor/Motorhersteller
Tecumseh -
Motor/Motorgröße
10 hp -
Motor/Motortyp
4 Cycle -
Anlasser
Recoil -
Getriebetyp
Gear
-
Chassis: Tire Pressure
7-15 PSI / .5-1kg sq. cm -
Drive System: Gearbox Lubricant
4.5 oz. (133ml) SAE 90 GL5 or higher -
Engine: Engine Oil Type
24 oz. (.7l) 5w-30 or 10w / API SH or higher -
Engine: Engine Speed
High 3300, Low 2000±150 RPM -
Engine: Ignition Coil Air Gap
.013" / .33mm -
Engine: Spark Plug
Champion RJ19LM -
Engine: Spark Plug Gap
.030"/ .76mm -
Drive System: Ground Speed
Fwd. .55 / 1.3 / 2.0 / 2.9 Rev. 1.3 / 2.0 mph -
Drive System: Gearbox Lubricant
Auger 4.5 oz. (133ml) SAE 90 Gl-5 or 6 / Trans. 14.5 oz. (411.8 gm) Lubriplate Mag 1










