48cm Super Bagger Lawn Mower
Product Information
- Model number: 20835
- Serial number: 311000001 - 311999999
- Product Type: Walk Behind Mowers
Loading...
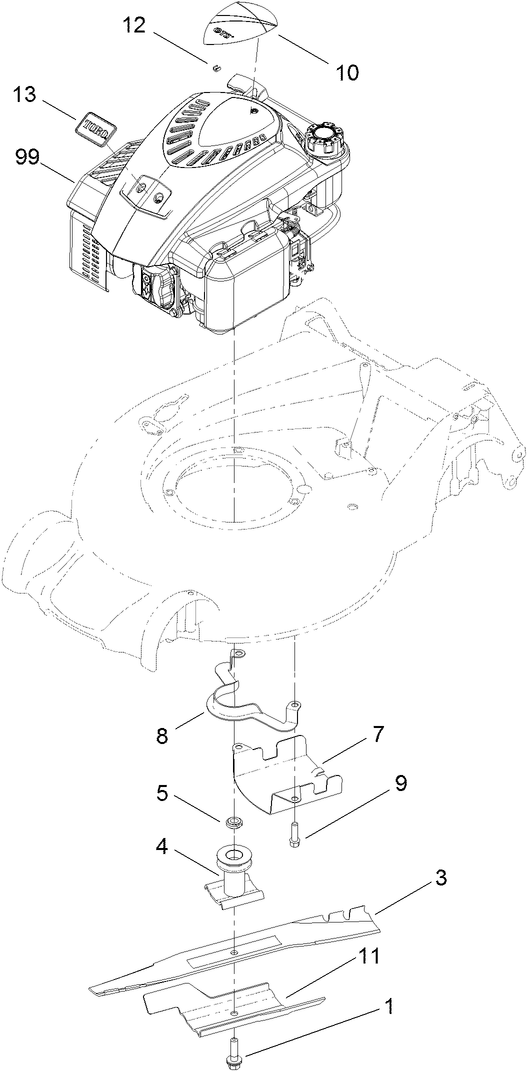
Assembly Drawings
Search for a part within assembly drawings:
-
Service Manual
-
Operator's Manual
-
Parts Catalogue
-
EU Declaration of Conformity
Toro Walk Mower Cover (Part number 490-7462)
Plain Walk Mower Cover (Part number 490-7463)
-
Model number
20835 -
Serial number
311000001 - 311999999 -
Product Name
48cm Super Bagger Lawn Mower -
Product Brand
Toro -
Product Type
Walk Behind Mowers -
Product Series
48cm Rear Bagger/Recycler -
Chassis Type
Cast Deck WPM -
Swath
48cm -
Discharge
Recycler & Rear Bagger -
Engine/Motor Manufacturer
Toro -
Engine/Motor Size
GrossTorque 7.00f/lb -
Engine/Motor Type
4 Cycle -
Engine Starter
Recoil -
Transmission Type
Gear -
Traction Type
Rear WD
-
Engine: Ignition Coil Air Gap
.010" / .25mm -
Engine: Spark Plug Gap
.030"/ .76mm -
Engine: Engine Speed
2800±100 RPM -
Engine: Spark Plug
Champion RN9YC / NGK BPR6ES / NHPS F7RTC (OEM China) -
Engine: Engine Oil Type
20 oz. (.59 L) SAE 30 or 10W-30 / API SF, SG, SH, SJ, SL, or higher






