21 in (53 cm) Heavy Duty Self-Propelled BBC Kawasaki
Product Information
- Model #: 22298
- Serial #: 402100000 - 403499999
- Product Type: Walk Behind Mowers
Loading...
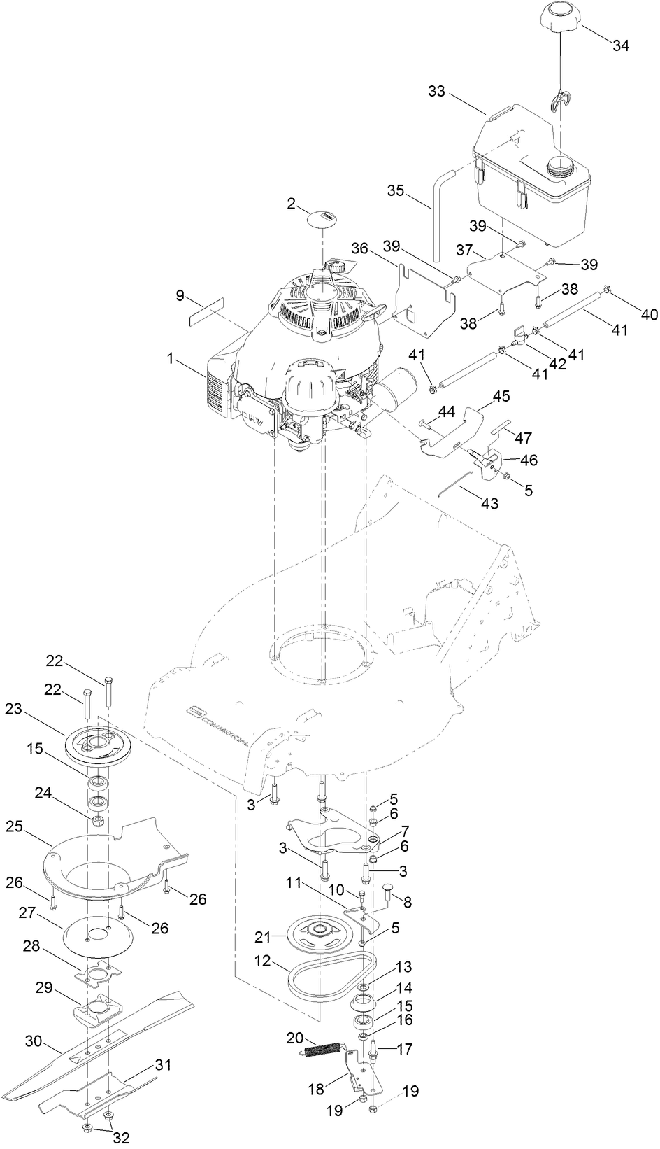
Assembly Drawings
Search for a part within assembly drawings:
-
Operator's Manual
-
Parts Catalog
-
Product Warranty
-
Quick Start Guide
21 Inch Standard Blade (Part # 125-1072-03)
Toro standard 21 Inch blade. Toro standard lawn blades have a straight and more aerodynamic body that cuts grass which then allow for either discharge or bagging of the clippings. This Toro blade has multiple applications. Be sure to verify model and serial number to ensure the correct part.
Anti-Scalp Cup (Part # 125-8440)
Toro OEM walk power mower anti-scalp cup. These cups help prevent the lawn mower deck from coming in contact with the ground when passing over a high spot, thus preventing the blade from slicing off or "scalping" large clumps of grass. To best protect your investment and maintain optimal performance of your equipment, count on Toro genuine parts.
Rear Discharge Kit (Part # 130-9734)
The discharge kit easily converts bagging mowers to a side discharge mower. Directs the grass clippings away from the lawn mower deck. To best protect your investment and maintain optimal performance of your equipment, count on Toro genuine parts.
-
Model #
22298 -
Serial #
402100000 - 403499999 -
Product Name
21 in (53 cm) Heavy Duty Self-Propelled BBC Kawasaki -
Product Brand
Toro -
Product Type
Walk Behind Mowers -
Product Series
21" Commercial -
Chassis Type
Cast Deck WPM -
Swath
21 inch -
Discharge
Recycler & Rear Bagger -
Engine/Motor Manufacturer
Kawasaki -
Engine/Motor Type
4 Cycle -
Engine Starter
Recoil -
Transmission Type
Gear -
Traction Type
Rear WD
-
Engine: Spark Plug
NGK BPR5ES -
Engine: Spark Plug Gap
.030"/ .76mm -
Chassis: Height of Cut Range
1" - 4.5" (25-114mm) -
Engine: Engine Speed
3300±100 RPM -
Engine: Engine Oil Type
29 oz. (.85 L) w/ filter; 22 oz. (.65 L) w/o filter; 30W or 10W30 API SF, SG, SH, SJ, SL, or higher






