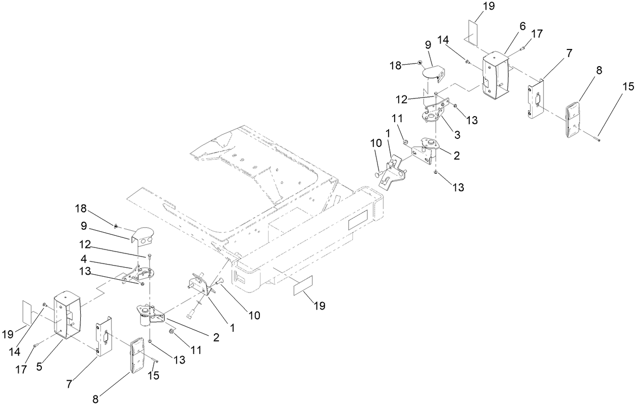
Cab/ROPS Light Kit
Product Information
- Model #: 31693
- Serial #: None - None
- Product Type: Attachments
Loading...
Assembly Drawings
Search for a part within assembly drawings:
-
Parts Catalog
-
Installation Instructions
-
Model #
31693 -
Serial #
None - None -
Product Name
Cab/ROPS Light Kit -
Product Brand
Toro -
Product Type
Attachments







