30 in. (76 cm) Power Max HD 1030 OHAE Two-Stage Gas Snow Blower
Product Information
- Model #: 38830
- Serial #: 413984268 - 414999999
- Product Type: Snowthrowers
Loading...
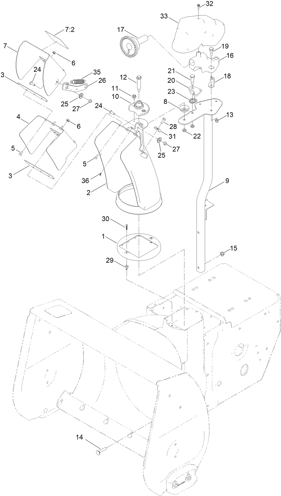
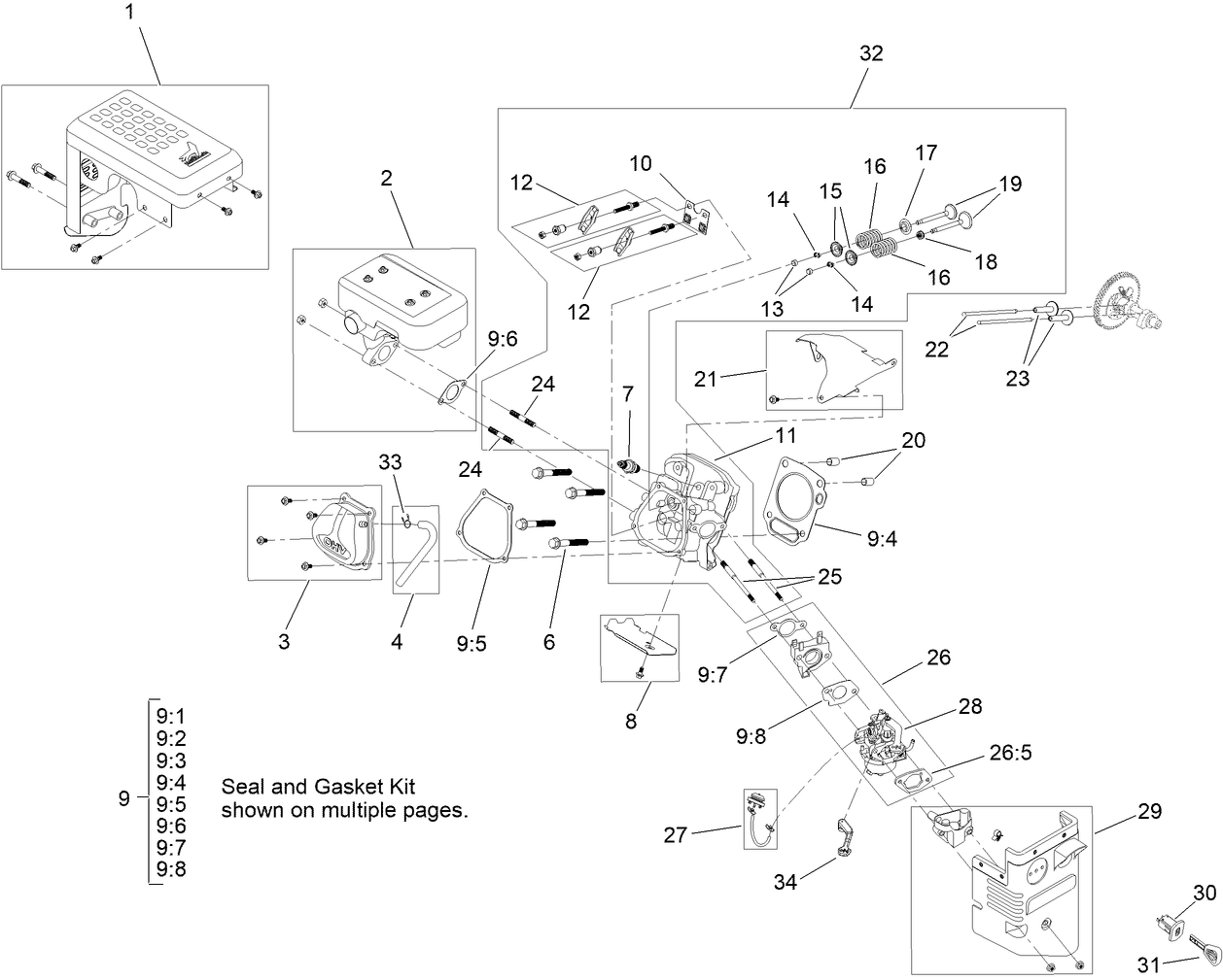
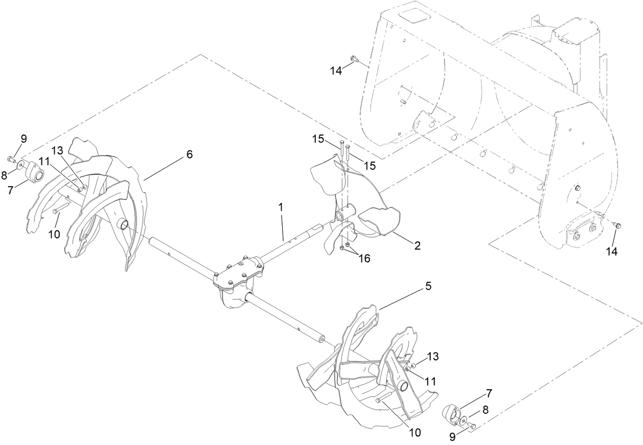
Assembly Drawings
Search for a part within assembly drawings:
-
Operator's Manual
-
Parts Catalog
-
Product Warranty
-
Quick Start Guide
Snow Blower High Altitude Kit (Part # 121-4241)
Toro genuine high altitude kit. Small engines may require a high altitude carburetor kit to ensure correct engine operation at altitudes above 1219 meters. Genuine Toro parts are designed specifically for your machine to offer quality, performance and value.
Cast Iron Skid Kit (Part # 125-1104)
Replace your worn skid shoes with this replacement skid kit. The kit contains 2 skid and the needed hardware. Worn skid shoes can cause damage to your pavement so check them annually for needed replacement.
Snow Blower Snow Cab Kit (Part # 127-5960)
The Toro snow blower cab is the perfect addition to your Toro 2-stage snow blower. This easy-to-install cab protects you in the front, both sides and from above from blowing and swirling snow, sleet and wind. The Toro snow blower cab has clear, shatter resistant windows on 3 sides to ensure excellent visibility. In addition, the light-weight and tough, nylon reinforced, vinyl fabric resists tearing, abrasion, mold, mildew and rot. It's all designed to enhance your snow removal experience by making you more comfortable.
Snow Blower Heated Grips (Part # 131-6460)
Maintain precise control in the harshest of winter conditions with these Toro OEM heated handgrips. These easy to install handgrips feature an ergonomic design for comfort with sure-grip technology so your gloves maintain their grip.
Snow Blower Engine Maintenance Kit (Part # 138-0704)
Keep your Toro snow blower running smoothly season after season with this maintenance kit for snow blowers 2019 or newer. This kit contains oil, a spark plug, and fuel treatment. You can count on these essentials for routine maintenance of your Toro Snow blower.
Snow Blower Non-Marking Skid Replacement Kit for PowerMax Models (Part # 38211)
Replace your worn PowerMax Skid Shoes with this replacement non-marking skid kit. The kit contains 2 skid and the needed hardware. Worn skid shoes can cause damage to your pavement so check them annually for needed replacement. The Toro skid shoe for the SnowMaster is a 2 piece design with a metal bracket that attaches to the unit and a polyethylene shoe that protects the pavement.
Snow Blower Drift Breaker Kit (Part # 38213)
This drift breaker kit is for use with 24 in. and 26 in. Power Max Snowblowers. It will help to break down drifts in front of the auger housing and minimize snow accumulation across the top of the housing. This drift breaker will help optimize the performance of your Toro Snowblower.
16 inch Snow Blower Tire Chains (Part # 38215)
Toro tire chains give you an advantage over the elements. They supply the extra traction needed for ice, packed snow, deep snow and uneven surfaces. Toro's 2-link spacing design provides substantially more surface contact, providing the best possible traction in tough conditions. Toro's easy-to-install chains are a must-have for any two stage Power Max HD snowblower and specifically designed to ensure you get the best performance from your Toro.
Winter 0W-30 Synthetic Winter Engine Oil (Part # 38913)
Toro 0W-30 Synthetic Winter Engine Oil is engineered to provide superior performance and easy
starting in extreme cold temperatures. The easiest starting winter oil in extreme cold.
Two-Stage Snow Blower Cover (Part # 490-7415)
Designed to protect your investment, the Toro Two-Stage Snow Blower Cover provides year-round season protection for your snow blower. Toro covers are constructed of tough, waterproof, tear and abrasion-resistant 600-denier polyester and will provide years of carefree protection against snow, sun damage, rain and dust. They feature vents to minimize condensation and heat buildup and an elastic opening to ensure a snug, secure fit. Designed for 2-stage snow blowers (and Snow Commanders) with a 28 in. or wider cutting width.
-
Model #
38830 -
Serial #
413984268 - 414999999 -
Product Name
30 in. (76 cm) Power Max HD 1030 OHAE Two-Stage Gas Snow Blower -
Product Brand
Toro -
Product Type
Snowthrowers -
Chassis Type
Two Stage -
Swath
30 inch -
Discharge
Two Stage -
Engine/Motor Manufacturer
Toro -
Engine/Motor Size
302cc -
Engine/Motor Type
4 Cycle -
Engine Starter
Electric/Recoil -
Transmission Type
Friction Disc -
Traction Type
2wd













