Z255 Z Master, With 62" SFS Side Discharge Mower
Product Information
- Model number: 74203
- Serial number: 994001 - 995000
- Product Type: Riding Products
Loading...
Assembly Drawings
Search for a part within assembly drawings:
-
Service Manual
-
Operator's Manual
-
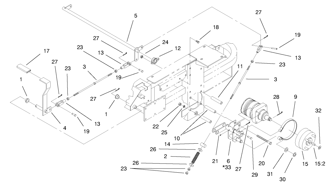
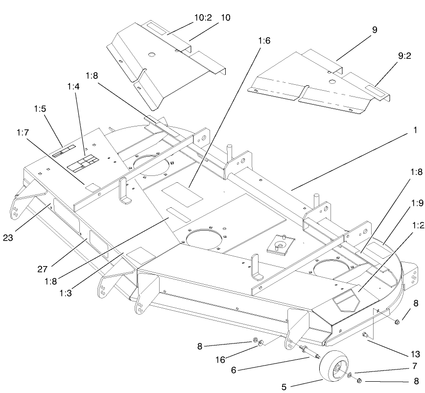
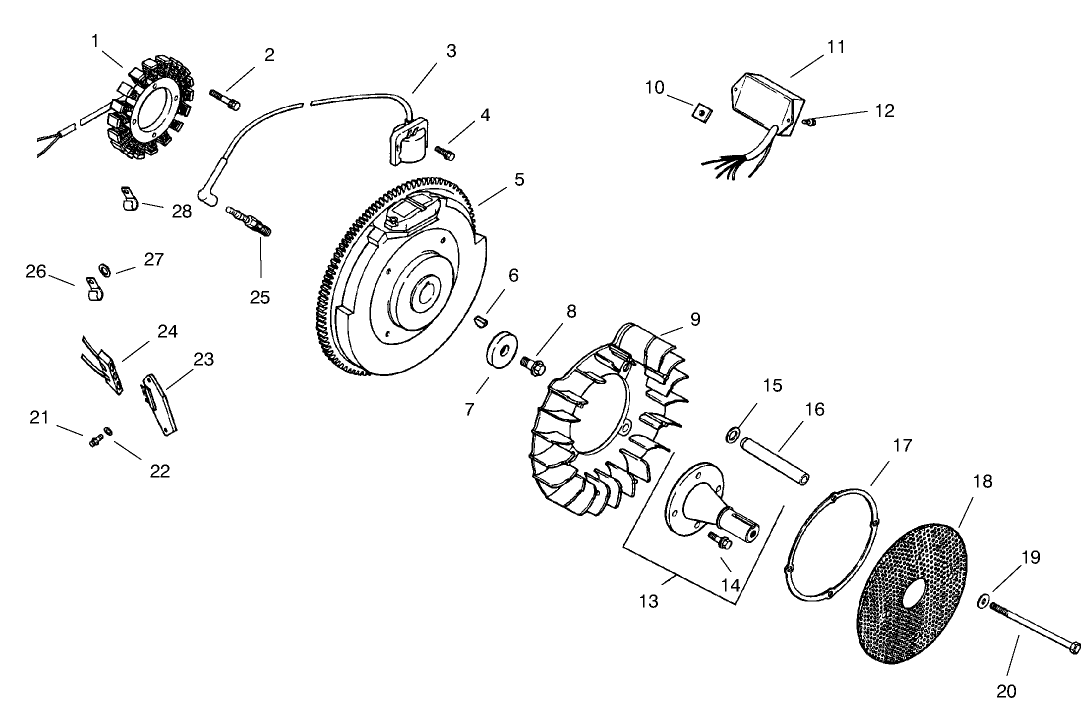
Parts Catalogue
62" 200 Series Blade Speed Up Kit (Part number 100-2318)
62"/72" Striping Kit (Part number 100-3252)
Guage Wheel Kit, 62" only (Part number 100-3255)
MZRT DECK LIFT ASSIST (Part number 100-4336)
62" Z Recycler Kit (Part number 100-9600)
62" Atomic Mulching Blade (Part number 104-1303)
Shock Valve Kit (Part number 106-2053)
200 Series Dump Arm Kit (Part number 106-5890)
Suspension Kit for Standard Seat (Part number 107-1892)
62" Mulch Plate Kit (Part number 57-0700)
62" Extra High Lift Blade for Classic (Part number 77-6710-03)
Triple Bagger (60") (Part number 78456)
ROPS Kit (Part number 78480)
DFS Bagger, (200 Series) (Part number 78491)
Z200 Series 62" DFS Deck Kit (Part number 78495)
Z200 Series Triple Bagger Finishing Kit (Part number 78499)
Deluxe Suspension Seat (Part number 99-8522)
Hitch Kit (Part number 99-8925)
-
Model number
74203 -
Serial number
994001 - 995000 -
Product Name
Z255 Z Master, With 62" SFS Side Discharge Mower -
Product Brand
Toro -
Product Type
Riding Products -
Product Series
Zero Radius Turn, 200 Series -
Swath
62 inch -
Discharge
Side -
Engine/Motor Manufacturer
Kohler -
Engine/Motor Size
25 hp -
Engine/Motor Type
4 Cycle CARB1, EPA1 -
Engine Starter
Electric -
Transmission Type
Hydrostatic
























