22in Recycler Lawnmower
Product Information
- Model number: 20016
- Serial number: 260000001 - 260999999
- Product Type: Walk Behind Mowers
Loading...
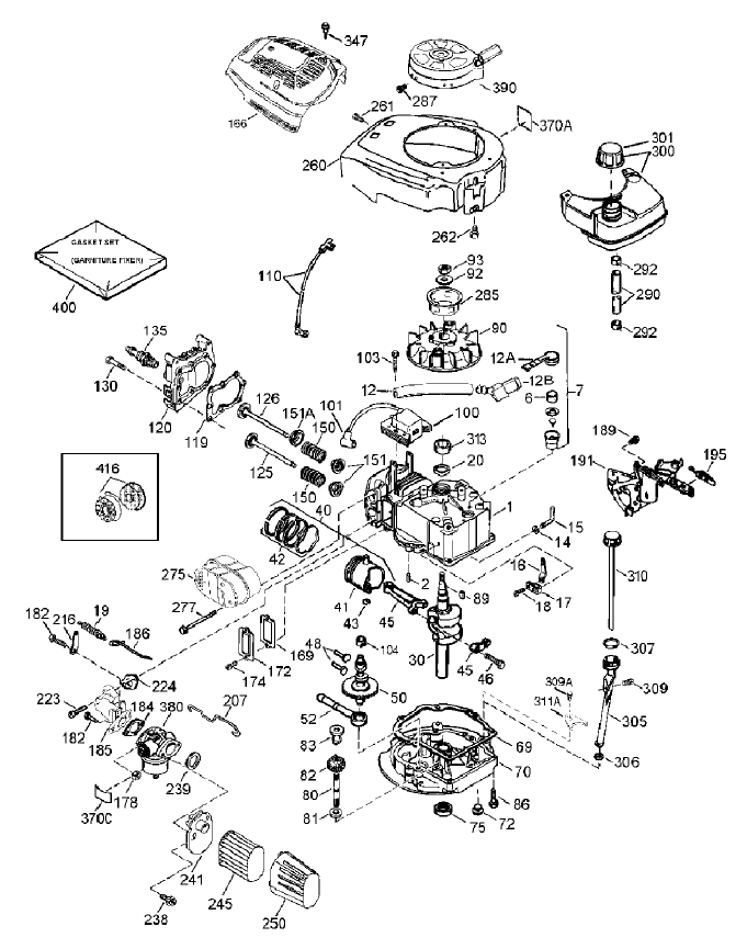
Assembly Drawings
Search for a part within assembly drawings:
-
Service Manual
-
Operator's Manual
-
Parts Catalogue
Toro Walk Mower Cover (Part number 490-7462)
Plain Walk Mower Cover (Part number 490-7463)
Replacement Bag (Part number 59288)
22in Blade Kit (Part number 59534)
Utility Pouch (Part number 59801)
Mower Washout Port Kit (STD on 38" Mower) (Part number 95-3282)
-
Model number
20016 -
Serial number
260000001 - 260999999 -
Product Name
22in Recycler Lawnmower -
Product Brand
Toro -
Product Type
Walk Behind Mowers -
Product Series
22" Steel Deck -
Chassis Type
Steel Deck WPM -
Swath
22 inch -
Discharge
Recycler & Rear Bagger -
Engine/Motor Manufacturer
Tecumseh -
Engine/Motor Size
6.5 hp -
Engine/Motor Type
4 Cycle CARB2, EPA2 -
Engine Starter
Recoil -
Transmission Type
Gear -
Traction Type
Front WD
-
Engine: Engine Speed
2900±150 RPM -
Engine: Ignition Coil Air Gap
.012" / .3mm -
Engine: Spark Plug
Champion RJ19LM -
Engine: Spark Plug Gap
.030"/ .76mm -
Chassis: Height of Cut Range
1.25-4.25", 3/8" increments -
Drive System: Gearbox Lubricant
1.5 oz. (43gm) #2 Lithium grease -
Drive System: Ground Speed
0-3 mph -
Engine: Engine Oil Type
20 oz. (.6l) 30w / API SH or higher










