Groundsmaster 360 4-Wheel Drive Multi-Purpose Machine with Cab
Product Information
- Model number: 31222
- Serial number: 312000301 - 312999999
- Product Type: Riding Products
Loading...
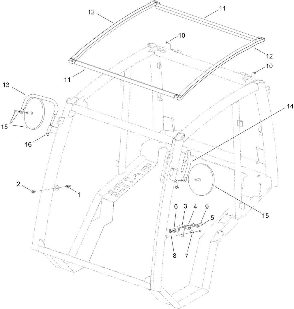
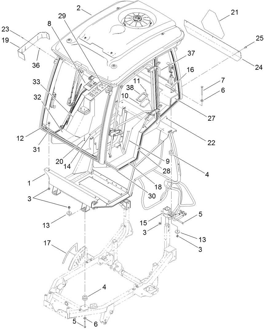
Assembly Drawings
Search for a part within assembly drawings:
-
Service Manual
-
Operator's Manual
-
Parts Catalogue
-
EU Declaration of Conformity
-
Service Bulletin
CAP-DIESEL,GREEN (Part number 107-2172)
Premium Trans/Hyd Tractor Fluid Drum (Part number 108-1183)
Premium Trans/Hyd Tractor Fluid Pail (Part number 108-1184)
ELEMENT-SAFETY, 5 INCH (Part number 114-4057)
WORK LIGHT KIT-GM5910 (Part number 114-5610)
ELECTRICAL ACCESSORY KIT - GM360 (Part number 115-0019)
Hourmeter, Wireless Hourmeter System (Part number 115-4754)
SPARK ARRESTOR (Part number 117-3281)
BEACON KIT, GM360 (Part number 120-0256)
EXTENSION-BACKREST CLOTH (Part number 120-0567)
Auxiliary Power Unit, Groundsmaster 360 Traction Unit (Part number 120-6675)
Registration Plate Kit, Groundsmaster 360 Series Multi-Purpose Machine (Part number 120-6678)
Weight Transfer Kit, Groundsmaster 360 Multi-Purpose Machine (Part number 120-6683)
PREMIUM ENGINE OIL 15W40 (55 GAL) (Part number 121-6394)
PREMIUM ENGINE OIL 15W40 (5 GAL) (Part number 121-6395)
400-hour Filter Maintenance Kit, Groundsmaster 7200 Traction Unit (Part number 30052)
72in Rotary Mower, Groundsmaster 360 Series and 7200 Series Traction U (Part number 30353)
72in Side Discharge Mower, Groundsmaster 360 Series and 7200 Series Tr (Part number 30354)
V-Plow Mounting Kit, Groundsmaster 7200 Series Mower (Part number 30378)
72 in side discharge deck (Part number 30481)
CE KIT (Part number 30507)
Quick Attach Front Frame, Groundsmaster 360 Multi-Purpose Machine (Part number 30509)
Road Certification and Light Kit, EU Groundsmaster 360 Multi-Purpose M (Part number 30516)
Road Light Kit, North American Groundsmaster 360 Multi-Purpose Machine (Part number 30517)
Speed Reduction Kit (Part number 30547)
Jack Stand Kit (Part number 30579)
48" V-Plow, Groundsmaster 72 and 200/300 Series (Part number 30750)
BOX-DISPLAY, DIAGNOSTIC (Part number 85-4750)
-
Model number
31222 -
Serial number
312000301 - 312999999 -
Product Name
Groundsmaster 360 4-Wheel Drive Multi-Purpose Machine with Cab -
Product Brand
Toro -
Product Type
Riding Products -
Product Series
Attachments & Kits, Groundsmaster





























































































