TimeMaster 76cm Lawn Mower
Product Information
- Model number: 20977
- Serial number: 314000001 - 314999999
- Product Type: Walk Behind Mowers
Loading...
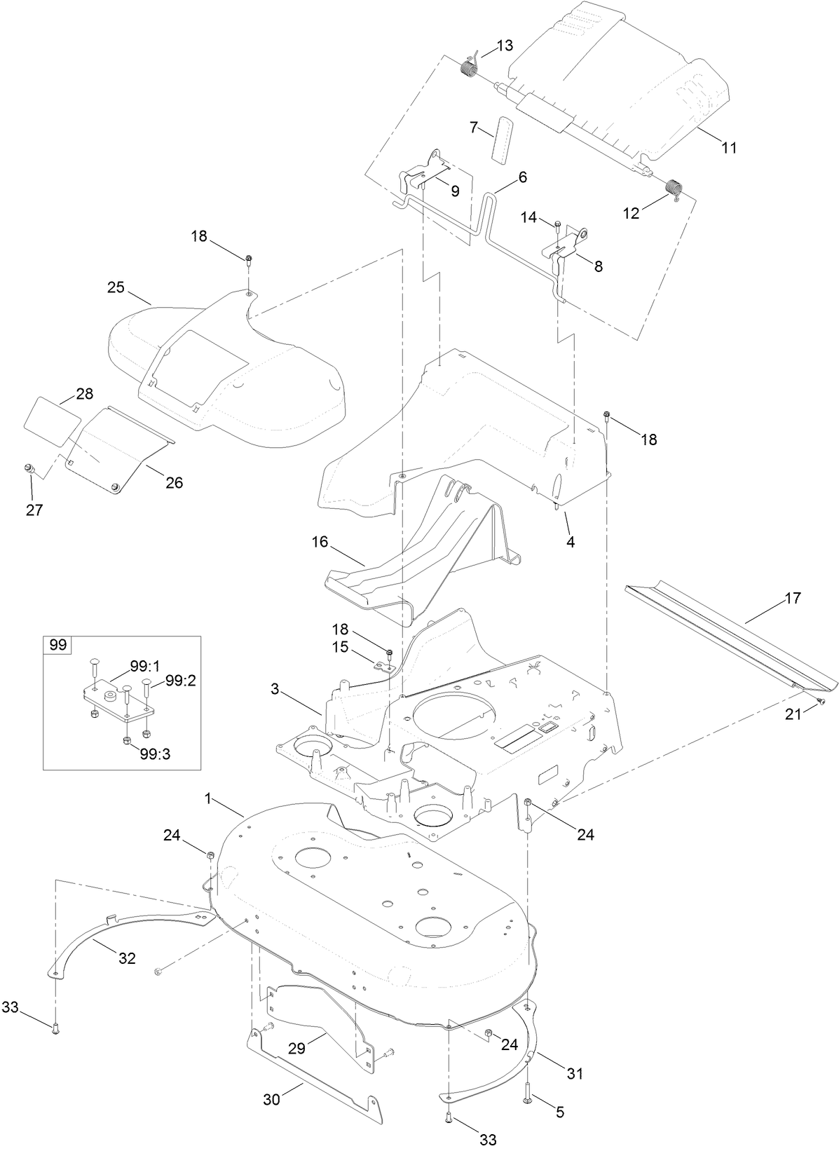
Assembly Drawings
Search for a part within assembly drawings:
-
Operator's Manual
-
Parts Catalogue
-
EU Declaration of Conformity
KIT-BLADE, TIMEMASTER, 30IN (Part number 20120P)
30 INCH WPM COVER (Part number 490-7461)
-
Model number
20977 -
Serial number
314000001 - 314999999 -
Product Name
TimeMaster 76cm Lawn Mower -
Product Brand
Toro -
Product Type
Walk Behind Mowers -
Product Series
30" Steel Deck -
Chassis Type
Steel Deck WPM -
Swath
30 inch -
Discharge
Recycler & Side Discharge with Rear Bag -
Engine/Motor Manufacturer
Briggs & Stratton -
Engine/Motor Type
4 Cycle -
Engine Starter
Electric/Recoil -
Traction Type
Rear WD
-
Engine: Engine Speed
3000±100 RPM -
Engine: Ignition Coil Air Gap
.010" / .25mm -
Engine: Spark Plug
Champion RC12YC -
Engine: Spark Plug Gap
.030"/ .76mm -
Engine: Engine Oil Type
20 oz. (0.59 L) SAE 30 / API SF, SG, SH, SJ, SL, or higher







