22in Recycler Lawn Mower with SmartStow
Product Information
- Model number: 21465
- Serial number: 412900000 - 415399999
- Product Type: Walk Behind Mowers
Loading...
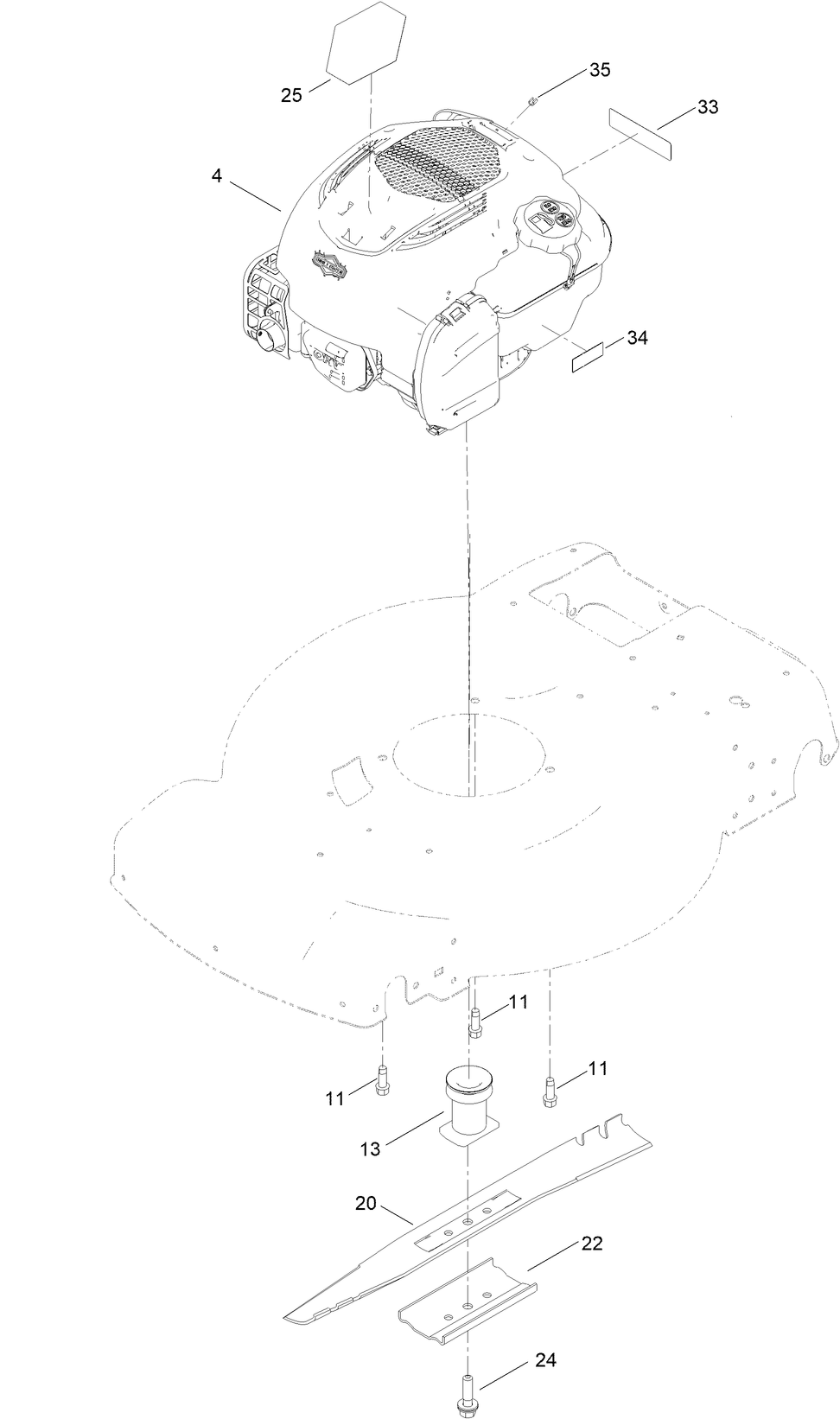
Assembly Drawings
Search for a part within assembly drawings:
-
Service Manual
-
Operator's Manual
-
Parts Catalogue
-
Product Warranty
-
Quick Start Guide
-
Addendum
Fuel Stabilizer .05 oz (Part number 130-2393)
BRIGGS MAINT KIT - 22IN RECYCLER (Part number 130-8148)
4-CYCLE FUEL, SNOW AND LAWN, 32OZ CAN (Part number 131-3823)
Toro Premium Fuel Treatment (Part number 131-6572)
OIL-30/10W-30 SYNTHETIC (Part number 138-6053)
ASM-CHUTE, SD (Part number 139-6556)
Lawn Striping Kit with 22in Roller, Walk-Behind Lawn Mowers (Part number 20601)
TORO 4-CYCLE SAE 30 OIL (32OZ BOTTLE) (Part number 38903)
Summer Oil, Case of 24 20-Ounce Bottles (Part number 38916)
Smart Stow Walk Power Mower Cover (Part number 490-2012)
TORO SMALL WALK BEHIND BAG (Part number 490-7318)
Toro Walk Mower Cover (Part number 490-7462)
TORO ATOMIC BLADE - 22IN, PACKAGED (Part number 59534P)
-
Model number
21465 -
Serial number
412900000 - 415399999 -
Product Name
22in Recycler Lawn Mower with SmartStow -
Product Brand
Toro -
Product Type
Walk Behind Mowers -
Product Series
22" (53 cm) Steel Deck -
Chassis Type
Walk Behind -
Swath
22 inch -
Discharge
Recycler & Side Discharge with Rear Bag -
Engine/Motor Manufacturer
Briggs & Stratton -
Engine/Motor Type
4 Cycle -
Engine Starter
Recoil -
Transmission Type
Gear -
Traction Type
Rear WD
-
Engine: Engine Speed
3000±100 RPM -
Chassis: Height of Cut Range
1" - 4" (2.5-10 cm) -
Engine: Engine Oil Type
15 oz. (.44L) SAE 30 or SAE 10W-30 / API SJ or higher






