Greensmaster® 3250-D
Informations produit
- Nº de modèle : 04384
- N° de série : 403030001 - 403410000
- Type de produit : Riding Products
Chargement...
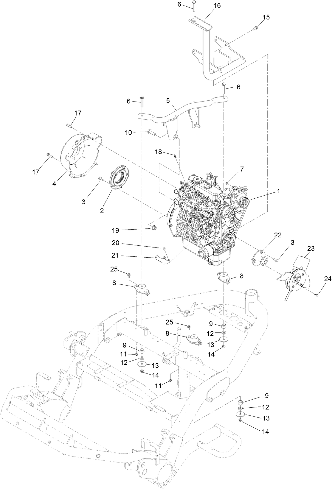
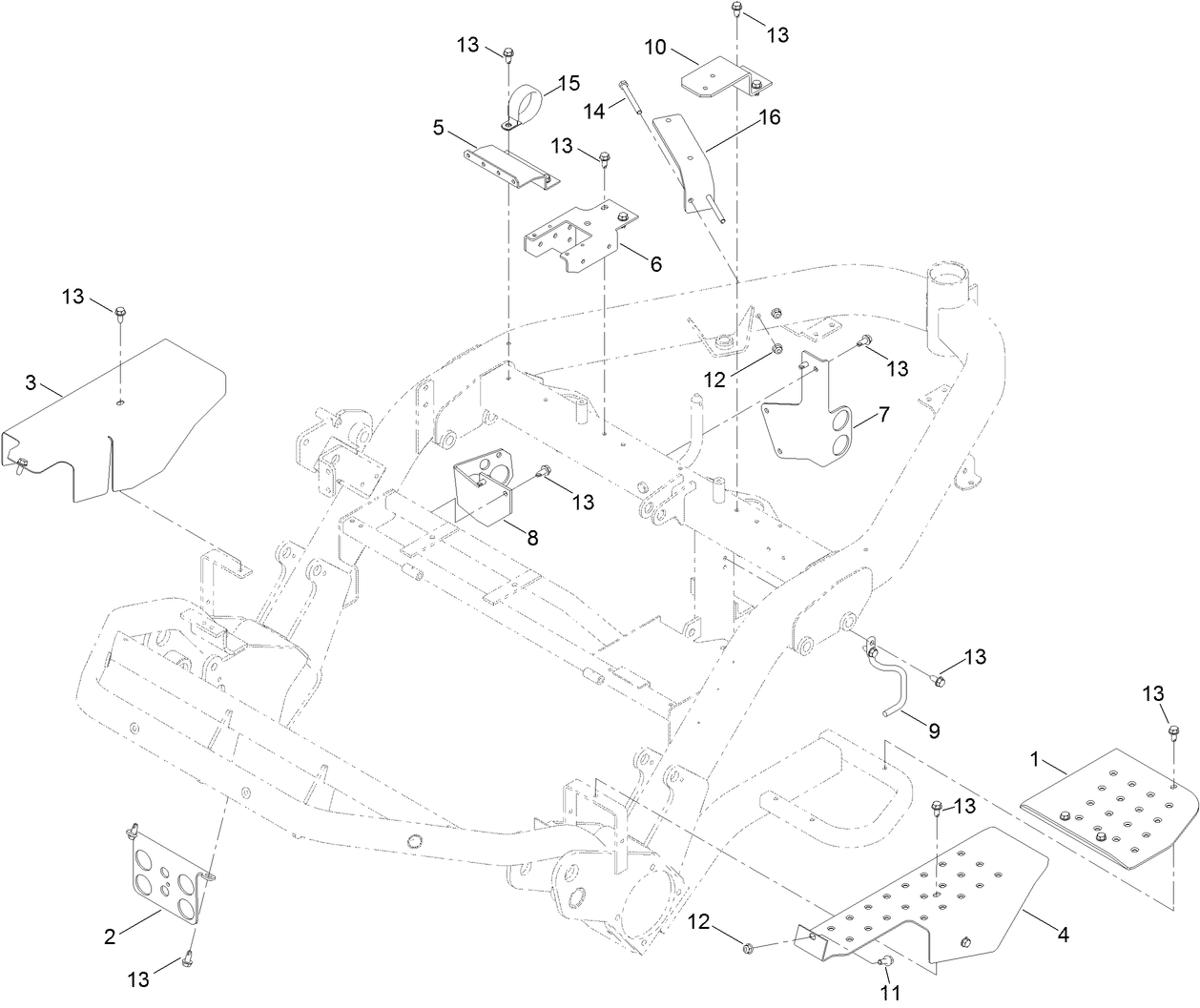
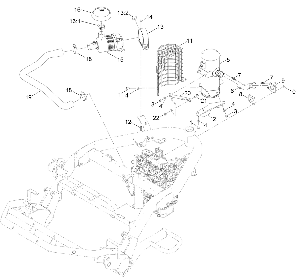
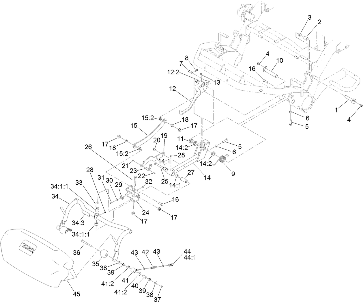
Schémas d’assemblage
Rechercher une pièce dans des schémas d'assemblage :
-
Manuel d'entretien
-
Manuel de l'utilisateur
-
Catalogue de pièces haute
-
Déclaration de conformité UE
-
Schéma électrique
-
Schéma hydraulique
-
Bulletin d'entretien
Turf Evaluator (N° de référence 04399)
CE Guard Kit, Greensmaster 3250-D 2-Wheel Drive Traction Unit (N° de référence 04441)
Three-Wheel Drive Kit without ROPS, Groundsmaster 3250-D Traction Unit (N° de référence 04477)
Dethatching Unit, Greensmaster 3000 Series Traction Unit (N° de référence 04479)
GR3XXX SPIKER KIT (N° de référence 04494)
GR3XXX TRI-ROLLER KIT (N° de référence 04495)
Leak Detector Kit, Greensmaster 3200 Series (N° de référence 04497)
Light Kit, Greensmaster 3150/3250-D or Triflex Traction Unit (N° de référence 04554)
8-Blade DPA Reel Mower, Greensmaster 3150 or 3250-D Series Traction Un (N° de référence 04652)
11-Blade DPA Reel Mower, Greensmaster 3150 or 3250-D Series Traction U (N° de référence 04654)
14-Blade DPA Reel Mower, Greensmaster 3150 or 3250-D Series Traction U (N° de référence 04656)
Hose Adapter Kit, Greensmaster 3250 (N° de référence 100-6430)
Weight Kit, Greensmaster and Sand Pro/Infield Pro Traction Unit (N° de référence 100-6442)
Oil Cooler Kit, Greensmaster 3250-D (N° de référence 104-7701)
Ground-Following Suspension Kit, Greensmaster 3250-D (N° de référence 104-9400)
Radiator Screen Kit, Greensmaster 3200/3250-D (N° de référence 105-9766)
PREMIUM ALL SEASON HYDRAULIC FLUID 55 GAL (N° de référence 108-1177)
PREMIUM ALL SEASON HYDRAULIC FLUID 5 GAL (N° de référence 108-1178)
FILTER-AIR (N° de référence 108-3811)
SEPERATOR FILTER ASM (N° de référence 110-9044)
PAINT-BLACK BOTTLE (N° de référence 112-0176)
PAINT-RED BOTTLE (N° de référence 112-0178)
Pull Link Kit for DPA Reel Mower Groomer, Greensmaster 3250-D (N° de référence 112-9248)
BIMINI FOLDING SHADE ASM (N° de référence 115-4510)
Hourmeter, Wireless Hourmeter System (N° de référence 115-4754)
FILTER-OIL, ENGINE (N° de référence 115-8189)
Hydraulic Hose Kit, Cutting Units for Greensmaster 3250-D Traction Uni (N° de référence 117-2721)
Premium Synthetic Bio-Degradable Hydraulic Fluid (5 Gal) (N° de référence 119-2157)
PREMIUM SYNTHETIC BIO HYD FLUID (55 GAL) (N° de référence 119-2158)
Spark Arrester Kit, Greensmaster 3400 Series Traction Unit (N° de référence 120-1951)
PREMIUM ENGINE OIL 10W30 (55 GAL) (N° de référence 121-6392)
PREMIUM ENGINE OIL 10W30 (5 GAL) (N° de référence 121-6393)
PAPER-TORO REEL (10 PACK) (N° de référence 125-5610)
SHIM-TORO REEL (0.002") (N° de référence 125-5611)
MVP Filter Kit, Model 04384 Greensmaster 3250-D Traction Unit (N° de référence 30086)
Arm Rest Kit (N° de référence 30707)
Red Spray Paint - Case of 6 (N° de référence 361-10)
PAINT-SPRAY, TORO SEMI-GLOSS BLACK (N° de référence 361-9)
Height-of-Cut Bar ASM (N° de référence 94-9010)
Weight Kit, Greensmaster 3000 3WD Series Traction Unit (N° de référence 99-1645)
TIRE-MATE, TURF (N° de référence 99-4506)
-
Nº de modèle
04384 -
N° de série
403030001 - 403410000 -
Nom du produit
Greensmaster® 3250-D -
Marque du produit
Toro -
Type de produit
Riding Products





























































