Workman® HDX 2WD
Informations produit
- Numéro de modèle : 07384
- Numéro de série : 315001001 - 315999999
- Type de produit : Vehicles
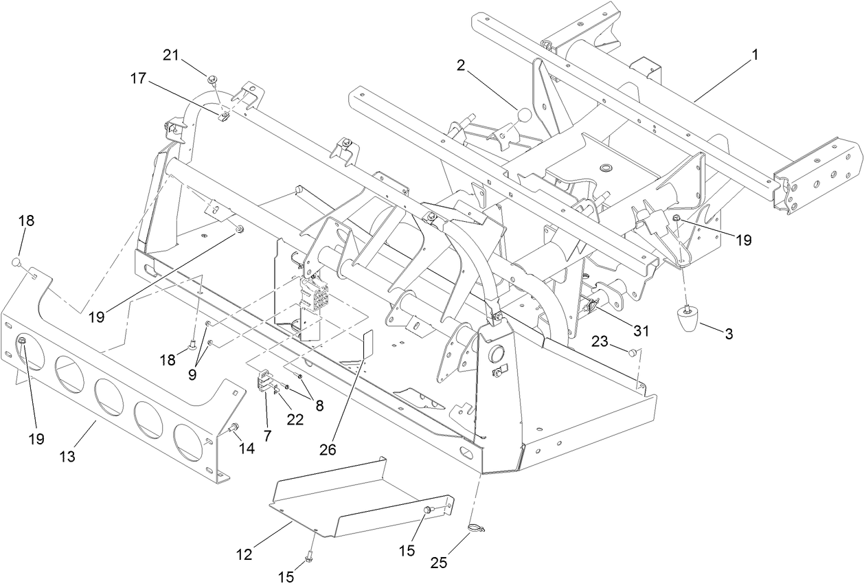
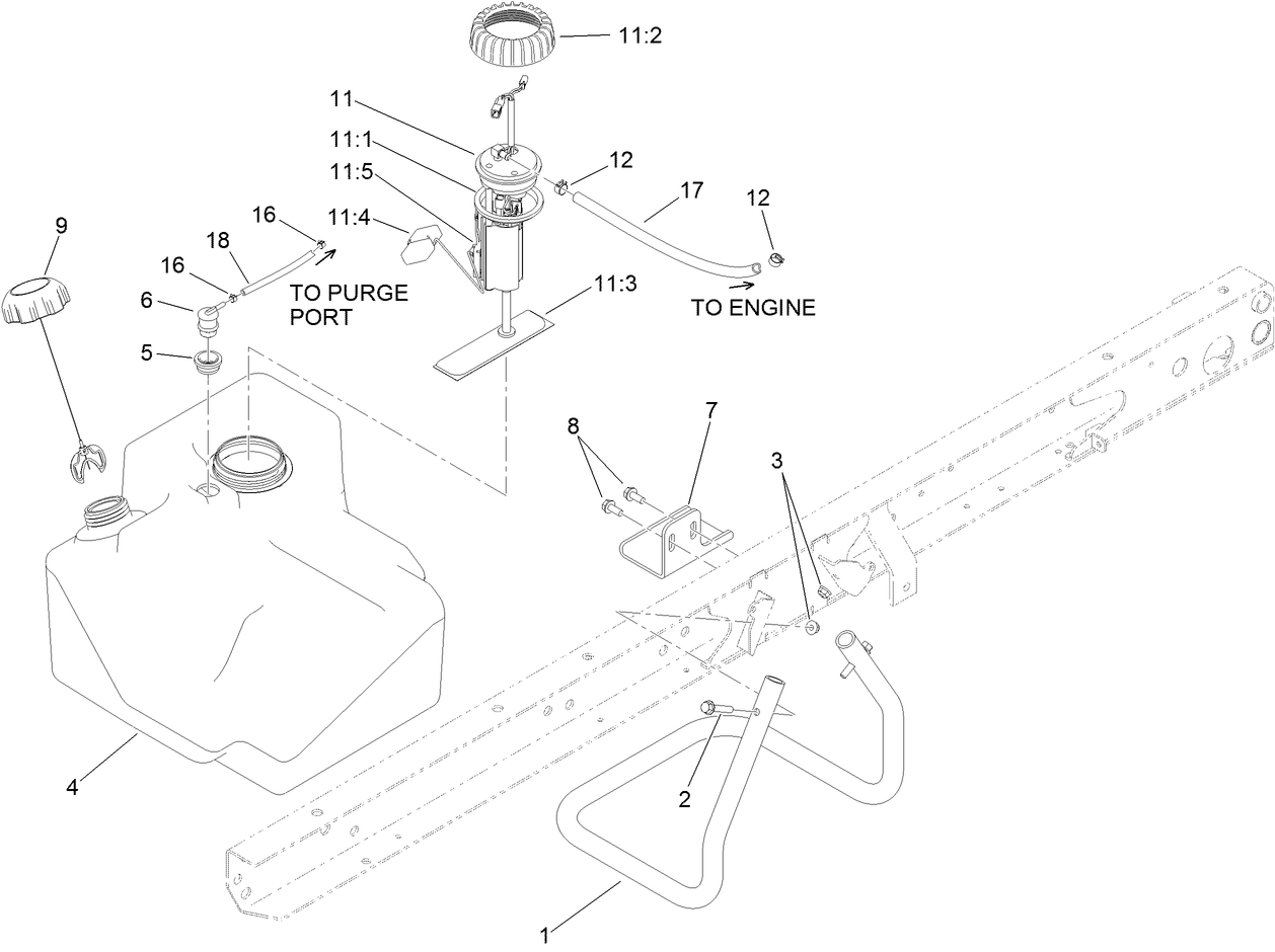
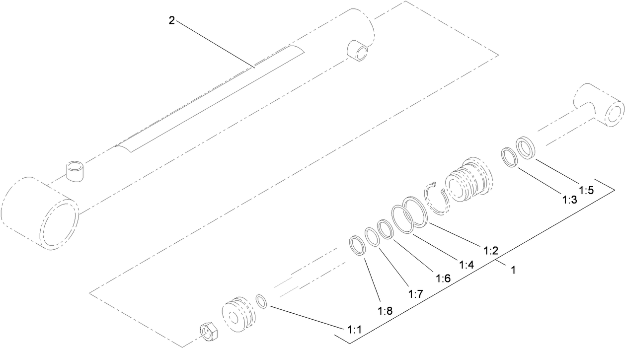
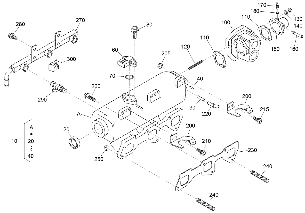
Chargement...
Schémas d'assemblage
Rechercher une pièce dans des schémas d'assemblage :
-
Manuel d'entretien
-
Manuel de l'utilisateur
-
Catalogue de pièces
-
Garantie du système de contrôle des émissions par évaporation
-
Schéma électrique
-
Schéma hydraulique
-
Bulletin d'entretien
Pro Sweep 5200 Turf Sweeper (Réf. 07066)
Full Area Flatbed, Heavy-Duty Workman Utility Vehicle (Réf. 07301)
Full Area Flatbed Side Kit, Workman (Réf. 07302)
Fold Down Side Kit, Workman (Réf. 07303)
High-Flow Hydraulics Kit (Réf. 07316)
- Provides 8 GPM hydraulic flow in a separate circuit
- Used to power attachments and implements, such as Pro Sweep®, Vicon® Spreader, Topdressers, etc.
2/3 Area Flatbed, Workman Heavy Duty Utility Vehicle (Réf. 07321)
2/3 Area Flatbed Side Kit, Workman (Réf. 07322)
Plastic Bedliner (Réf. 07331)
- A rugged, weatherproof plastic construction liner that protects the cargo bed.
CAB-HD WORKMAN (Réf. 07339)
1/3 Area Flatbed, Workman Heavy-Duty Utility Vehicle (Réf. 07341)
1/3 Area Platform Lift, Workman Heavy-Duty Utility Vehicle (Réf. 07347)
Cab Heater (Réf. 07349)
- Mounted inside on the passenger side near the floor
- Heater provides enhanced comfort when needed on cold weather days – ties into radiator
Canopy (Réf. 07372)
- Protects operators and passengers from the sun and rain.
- Made of durable, high density polyethylene material with drainage outlets for moisture runoff.
Folding Windshield (Réf. 07373)
- Clear, high impact modified acrylic material
- Quick and easy fold down design to allow air flow and enhance operator and passenger comfort.
CAB DOOR KIT-SLIDING WINDOW/HD WORKMA (Réf. 07375)
CAB DOOR KIT-SOLID WINDOW/HD WORKMAN (Réf. 07376)
4-Post ROPS (Réf. 07378)
- Consists of four vertical posts connected together by top members.
- Protects operator from injury in case of roll over.
HAND THROTTLE KIT (HDX KUBOTA) (Réf. 07388)
Rear PTO Kit (Réf. 07419)
Synthetic Turf Conditioner, Tow-Behind Accessory (Réf. 08791)
ProCore Processor (Réf. 09749)
Backup Alarm Kit, 2004 and After Workman Heavy-Duty Utility Vehicles (Réf. 107-8037)
PREMIUM ATF DRUM (Réf. 108-1185)
PREMIUM ATF PAIL (Réf. 108-1186)
PREMIUM ALL PURPOSE GREASE (Réf. 108-1190)
Remote Hydraulics Manifold Kit, Heavy-Duty Workman Vehicles (Réf. 110-2626)
Rear Tire (Réf. 110-5132)
Spark Arrestor Kit, Groundsmaster 7200/7210 Traction Unit (Réf. 112-1688)
WHEEL-12X8.0 (Réf. 114-8260)
Horn Kit, Workman MD/MDX/HD/HDX/HDX-D Vehicle (Réf. 115-7825)
Side Mirror Kit, 2009 and After Heavy Duty Workman Vehicle (Réf. 115-7849)
ROPS SIGNAL KIT-HD WORKMAN (Réf. 117-4825)
Worklight Kit, 2009 and After Heavy Duty Workman Vehicle (Réf. 117-4827)
REMOTE HYD FLOAT KIT-HD WORKMAN (Réf. 117-4828)
MIRROR KIT, CAB (Réf. 117-4830)
Receiver Hitch Kit, Workman HD/HDX/HDX-D Series Utility Vehicle (Réf. 117-4831)
TRAILER SIGNAL KIT (Réf. 117-4836)
TIRE AND WHEEL ASM 24X13-12 (Réf. 117-4838)
Canopy for Four-Post Roll-Over Protection System Kit, Workman HD/HDX/H (Réf. 119-9457)
Road Light and Homologation Kit, Workman HD Utility Vehicle (Réf. 120-5030)
Brake and Signal Light Kit, Workman HD Utility Vehicle (Réf. 120-5045)
High Air Intake Kit, Workman HD/HDX/HDX-D Utility Vehicle (Réf. 121-6285)
Trailer Brake Kit, Workman HD/HDX/HDX-D Series Utility Vehicle (Réf. 125-0123)
Tailpipe Extension Kit, Workman HD/HDX/HDX-D Series Utility Vehicle (Réf. 127-7397)
1/3 AREA COVER KIT (Réf. 127-8739)
HITCH ASM (Réf. 131-3462)
Pulvérisateur de gazon Multi Pro® WM de 757 litres (200 gallons) (Réf. 41240)
Le système de pulvérisation Multi Pro WM pour véhicules utilitaires Toro Workman® Série HD exploite la capacité de pulvérisation avancée de la gamme Multi Pro 5800 de Toro et allie fonctionnalité à des commandes intuitives et révolutionnaires. Il en résulte le pulvérisateur monté sur plateau le plus perfectionné, le plus efficace et précis le plus du marché pour un véhicule utilitaire. Agitation vigoureuse, temps de réaction plus courts, débits d'application précis et constants, réglage intuitif du débit, en font le pulvérisateur qui a tout pour plaire.
Spreader Base Unit, 2002 and later Workman 3000 and 4000 Series (Réf. 41253)
VICON SPREADER (Réf. 41256)
Topdresser 1800 de 0,5 m³ (18 po³) (Réf. 44225)
Le Topdresser 1800, d'une capacité de 0,5 m³ (18 pi³), se monte sur un Toro Workman ou autre véhicule utilitaire et produit des performances précises et d'excellents résultats avec une vitesse de terreautage maximale de 13 km/h (8 mi/h). Un levier de commande à distance permet une application contrôlée et précise sans quitter le confort de l'habitacle.
Core Harvester Adapter (Réf. 44242)
Topdresser 2500 de 0,7 m³ (25 po³) (Réf. 44507)
Si vous recherchez des performances et une puissance maximales, choisissez le Toro® Topdresser 2500, une machine autonome toutes roues motrices, tractée par un Toro® Workman® ou autre véhicule utilitaire. Avec une capacité de 0,7 mètre cube (25 pieds cube) et une vitesse de terreautage de 13 km/h (8 mi/h), elle saura se charger des travaux de terreautage les plus difficiles.
Pro Force Debris Blower (Réf. 44538)
Road-Ready Pro Force Debris Blower (Réf. 44539)
ProPass 200 Top Dresser with Twin Spinner and Wireless Control (Réf. 44700)
Topdresser ProPass™ série 200 de 0,6 m³ (21 pi³) (Réf. 44701)
Le topdresser centrifuge ProPass™ 200 de Toro permet de réaliser des épandages extrêmement précis allant d'un poudrage ultraléger au remplissage des trous d'aération, sans être obligé de procéder par tâtonnements. Une télécommande sans fil est le moyen le plus simple de régler et commander les fonctions d'épandage. Existe en version montée sur un véhicule utilitaire ou en version tractée.
Modèles de la série :
- ProPass 200 – Monté sur plateau ou tracté
- ProPass 200 – Monté sur plateau ou tracté avec commande sans fil
Automatic Tailgate Release Kit (Réf. 92-1220)
Fuse Block (Réf. 92-2641)
PTO Over Running Clutch Kit, Workman 3000 (Réf. 92-2655)
Lift Kit, Topdresser 1800 (Réf. 92-4452)
Tire-Rear (Réf. 98-2993)
TIRE - REAR, INDUSTRIAL (Réf. 99-1091)
-
Numéro de modèle
07384 -
Numéro de série
315001001 - 315999999 -
Nom du produit
Workman® HDX 2WD -
Marque du produit
Toro -
Type de produit
Vehicles -
Série de produit
Workman Series










































































