Log Splitter LS-922
Product Information
- Model #: 22618
- Serial #: 404320000 - 407599999
- Product Type: Tree Care Products
Loading...
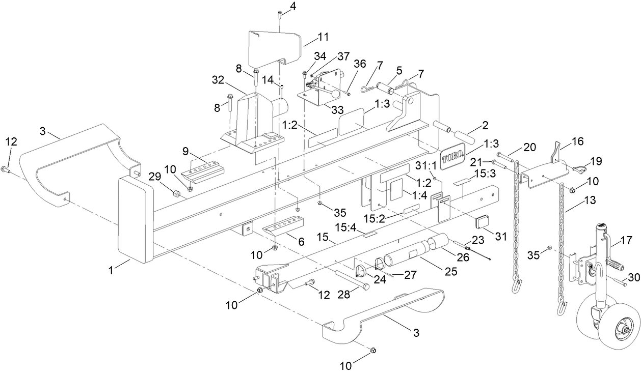
Assembly Drawings
Search for a part within assembly drawings:
-
Operator's Manual
-
Parts Catalog
-
Product Warranty
PX HYD FLUID (5 GAL) (Part # 133-8086)
PX HYD FLUID (55 GAL) (Part # 133-8087)
Spark Arrester Kit, Log Splitter (Part # 137-0592)
KIT-PUMP, SERVICE (Part # 137-4850)
KIT-CYLINDER, SERVICE (Part # 137-4852)
OIL-30/10W-30 SYNTHETIC (Part # 138-6053)
PX HYDRAULIC FLUID-4 PK GALLON (Part # 138-9460)
-
Model #
22618 -
Serial #
404320000 - 407599999 -
Product Name
Log Splitter LS-922 -
Product Brand
Toro -
Product Type
Tree Care Products -
Engine Starter
Recoil



