XLS 420T Lawn Tractor
Product Information
- Model number: 71255
- Serial number: 311000001 - 311999999
- Product Type: Riding Products
Loading...
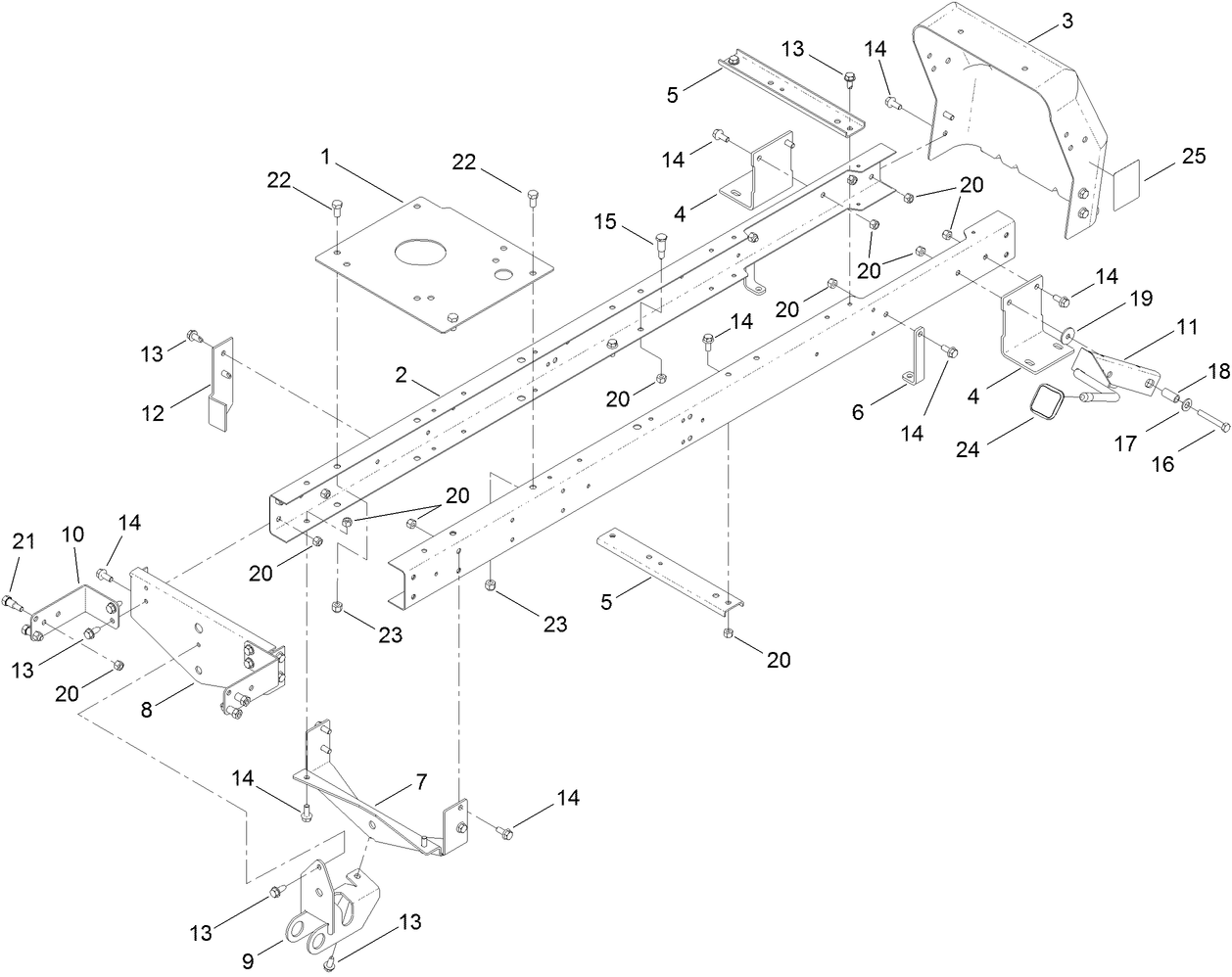
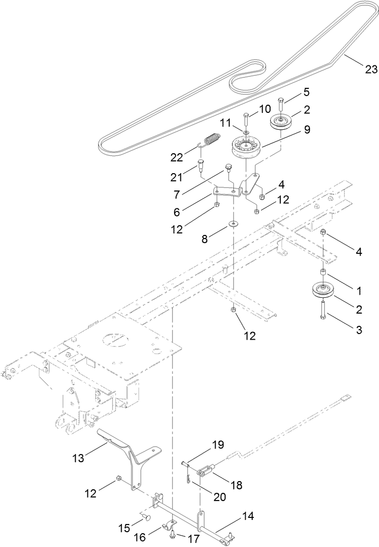
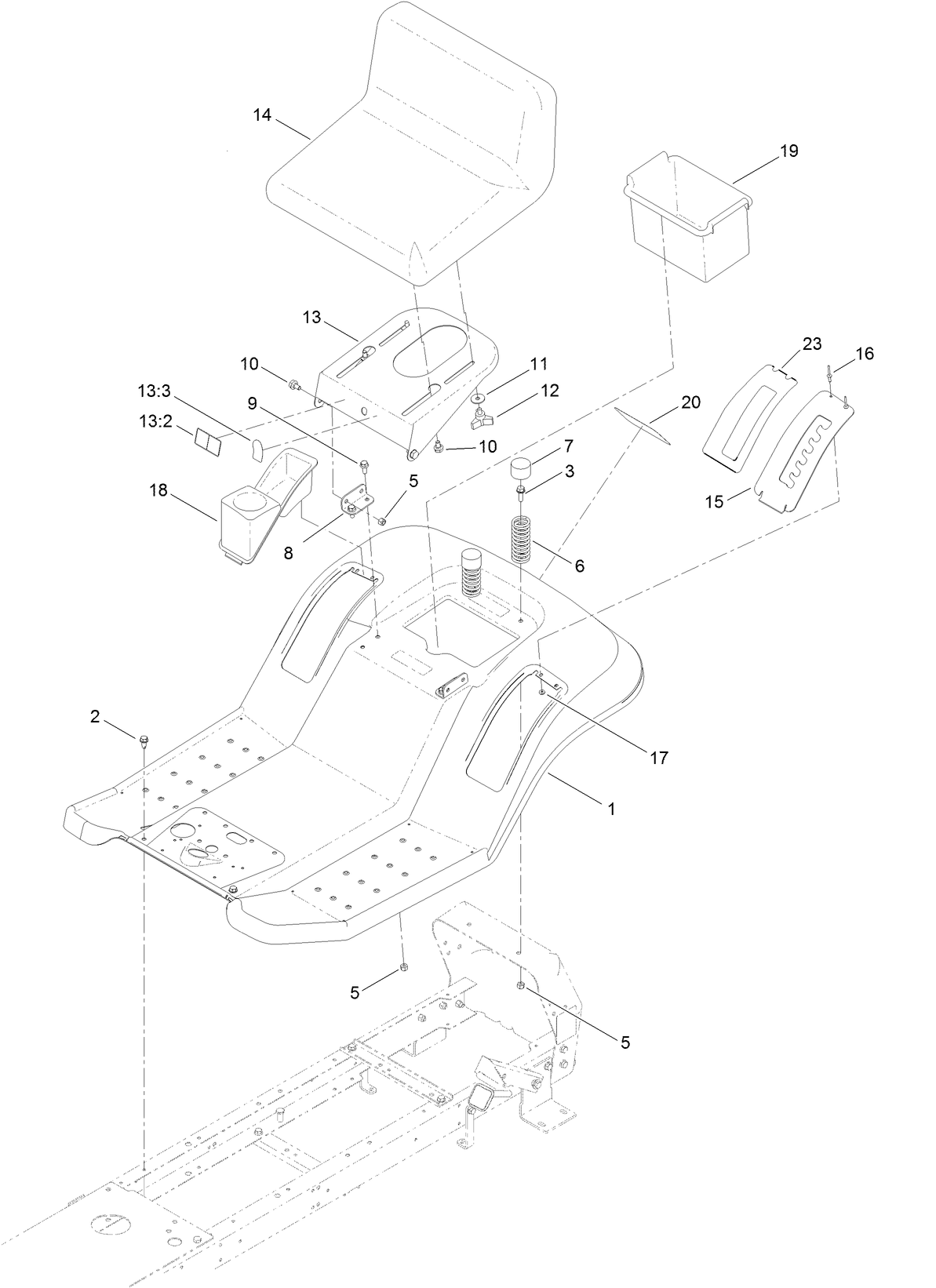
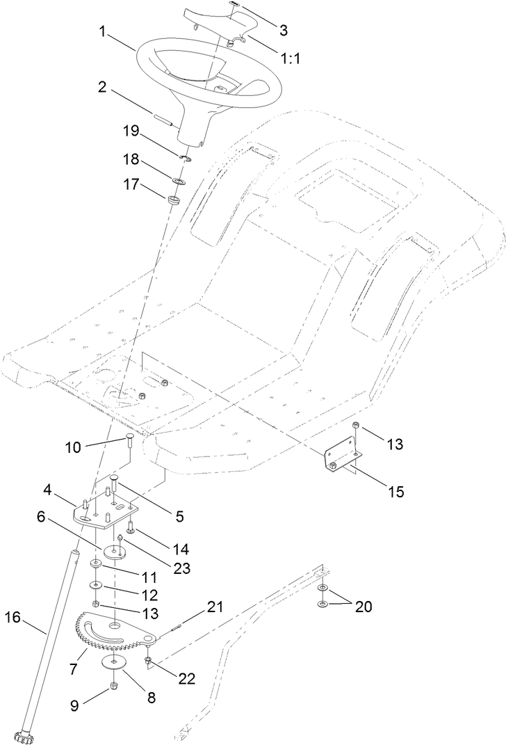
Assembly Drawings
Search for a part within assembly drawings:
-
Operator's Manual
-
Parts Catalogue
-
EU Declaration of Conformity
-
Setup Instructions
Belt Guard Kit, XLS 420T Lawn Tractor (Part number 120-7760)
Bumper Kit, XLS Lawn Tractor (Part number 79114)
Twin Soft Bagger, XLS Lawn Tractor (Part number 79118)
42in Finishing Kit, Twin Soft Bagger for XLS Lawn Tractor (Part number 79121)
107cm Recycler Kit, XLS Series Lawn Tractor (Part number 79176)
-
Model number
71255 -
Serial number
311000001 - 311999999 -
Product Name
XLS 420T Lawn Tractor -
Product Brand
Toro -
Product Type
Riding Products -
Product Series
Lawn Tractor, XL Series -
Chassis Type
Lawn Tractor -
Swath
42 inch -
Discharge
Side Discharge -
Engine/Motor Manufacturer
Kawasaki -
Engine/Motor Size
603cc -
Engine Starter
Electric
-
Engine: Battery
12V 195CCA -
Engine: Spark Plug
NGK BPR4ES -
Engine: Spark Plug Gap
.030"/ .76mm -
Engine: Engine Speed
2800±100 RPM -
Engine: Engine Oil Type
filter change 1.8 qts. (1.7 L); no filter 1.6 qts. (1.5 L) SAE 30 -
Drive System: Ground Speed
Fwd. 0 - 5.5 Rev. 0 - 1.5 mph -
Chassis: Height of Cut Range
1.2" - 4" -
Chassis: Tire Pressure
14 psi rear / 14 psi front















