TimeCutter SW 5000 Riding Mower
Product Information
- Model #: 74790
- Serial #: 400000000 - 401999999
- Product Type: Riding Products
Loading...
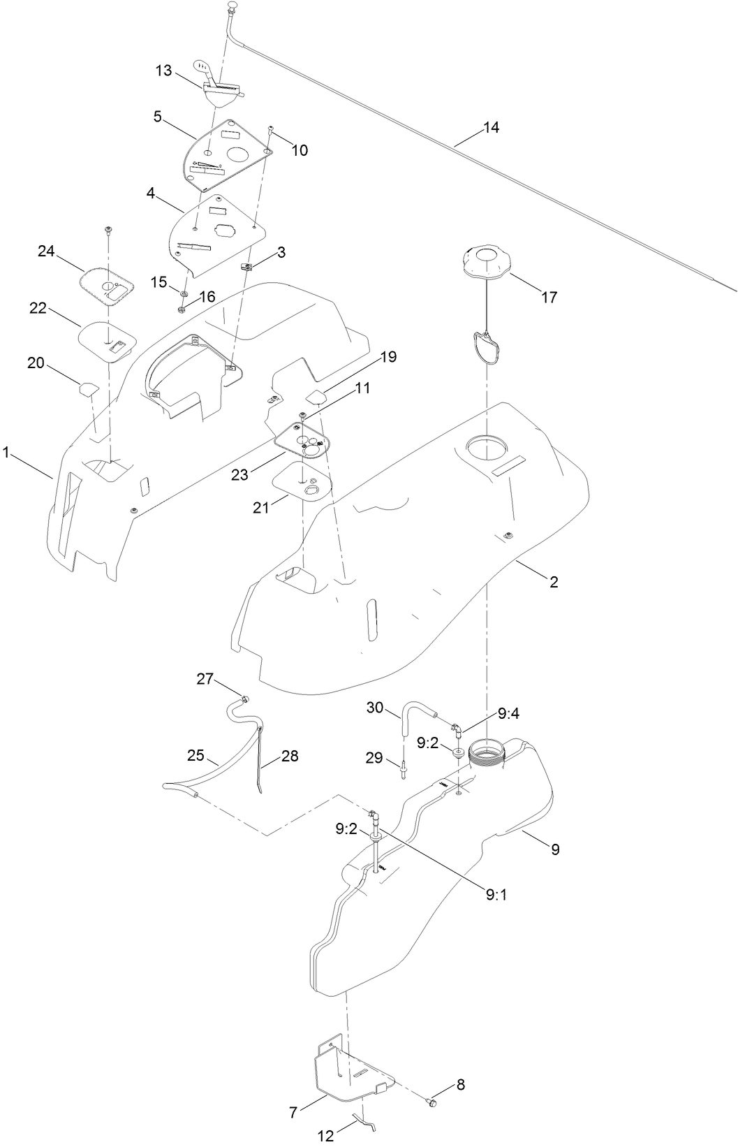
Assembly Drawings
Search for a part within assembly drawings:
-
Service Manual
-
Operator's Manual
-
Parts Catalog
-
Setup Instructions
Armrest Kit (Part # 110-5719)
Genuine OEM Part
TimeCutter 50" Bagging Enhancement Kit (Part # 114-1608)
Genuine OEM Part
Hourmeter Kit, 2011 and After Zero-Turn-Radius Riding Mower (Part # 116-5461)
Toro full synthetic 10W-30 engine oi (Part # 117-0066)
Toro full synthetic 10W-30 engine oil. The easy engine oil choice for any outdoor power equipment
to increase performance and reliability.
Seat Cover for Models With out Arm Rest (Part # 117-0096)
Protect your investment with a customized seat cover. Toro's seat cover for use on TimeCutter 18 in. seats without armrests will make old seats look new and protects new seats from future wear and tear. The fabric is coated for maximum water resistance and repellency and is cushioned for extra comfort. For serial numbers 412000001 & up only.
Striping Kit (Part # 120-7905)
Genuine OEM Part
Jack Mount Kit (Part # 126-5251)
Riding Mower Jack Kit (Part # 127-6666)
Genuine Toro jack mount kit. Mounts to the front of the mower and allows the owner to raise the mower to gain access to the underside of the deck to check blades or wash the deck. To best protect your investment and maintain optimal performance of your turf equipment, count on Toro genuine parts. When it comes to reliability, Toro delivers replacement parts designed to the exact engineering specifications of our equipment. For peace of mind, insist on Toro genuine parts.
Premium Fuel Treatment (0.5 oz.) (Part # 130-2393)
Toro Premium Fuel Treatment helps ensure clean, reliable engine performance and protection. Good for your lawnmowers, snow blowers, weed wickers, leaf blowers and other small engine power equipment. Using Toro Fuel Treatment with every fill up provides protection for two and four cycle small engines.
4-CYCLE FUEL, SNOW AND LAWN, 32OZ CAN (Part # 131-3823)
Attachment Mount Kit for Residential Z-Mowers (Part # 131-3966)
Genuine OEM Part
Premium Fuel Treatment (12 oz.) (Part # 131-6572)
Toro Premium Fuel Treatment helps ensure clean, reliable engine performance and protection. Good for your lawnmowers, snow blowers, weed whackers, leaf blowers and other small engine power equipment. Using Toro Fuel Treatment with every fill up provides protection for two and four cycle small engines.
Deluxe Seat Kit for TimeCutter Mowers (Part # 131-7699)
Genuine OEM Part
Maintenance Kit - Toro V-Twin Engine (Part # 132-4878)
HD Air Cleaner Kit (Part # 136-7860)
Heat Shield Kit, TimeCutter Riding Mower (Part # 137-7065)
10W30 4-Cycle Engine Oil - 32 oz. Bottle (Part # 38280)
The Toro 38280 Premium 4-Cycle Lawn Mower Engine Oil 10W-30 is specially formulated to meet specific 4-cycle engine manufacturer requirements calling for 10W-30. This lawn mower engine oil provides the ultimate protection for all 4-cycle OPE engines. The lawn mower engine oil is developed with Toro engineering to meet the standards for all air-cooled, liquid-cooled and diesel engines. To maximize the performance of your Toro lawn mower, we highly recommend using this Toro lawn mower engine oil, which has been specifically formulated for best results. The lawn mower engine oil provides extreme performance in all temperatures, enhancing the life of your lawn mower's engine.
SAE 30 4-Cycle Lawn Mower Engine Oil 32 oz (Part # 38903)
Toro SAE 30 4-cycle engine oil passed the strictest requirements in thousands of hours of testing in hundreds of engines before you filled your lawn mower. This oil meets or exceeds performance requirements of all OEM engines (Toro, Briggs & Stratton, KOLHER, Honda, and Tecumseh). The use of Toro SAE 30 4-cycle lawn mower oil minimizes molecular shearing for extended life in hot-air-cooled applications vs multi-grades (i.e., 10W-30).
Cover for TimeCutter Models (Part # 490-7516)
The Toro Z mower cover protects your investment by offering all-season protection. Toro covers are constructed of tough, waterproof, tear and abrasion-resistant 600-Denier polyester and will provide years of carefree protection for your mower. Toro covers protect against snow, sun damage, rain, dust, birds, tree sap and more. Toro covers also feature vents to minimize condensation and heat build-up and an elastic opening to ensure a snug, secure fit.
TimeCutter SS Sunshade (Part # 79011)
Keep cool and dry while you mow. The Toro TimeCutter sunshade increases operator comfort by shielding you from the elements. Assembles easily and offers a clean line of sight across your entire mowing area. Genuine Toro Parts and accessories are designed specifically for your machine and built to exacting standards with tight tolerances. Other parts simply don't stack up to the quality, performance, and value of Genuine Toro Parts.
17.5 Inch High Lift TimeCutter Replacement Blades (3-Pack) (Part # 79016P)
Use this 3-Pack Replacement Blade Kit to maintain your 34 or 50 inch TimeCutter's High quality cutting performance. The sharp 17.5 in. Hi-Flow blades provide a crisp cut and are compatible with select TimeCutters manufactured in and after 2011.
50" TimeCutter SS and SW Recycler Kit (Part # 79019)
Genuine OEM Part
Cargo Carrier, Zero-Turn-Radius Riding Mower (Part # 79040)
TimeCutter SS & SW 50 in. / 54 in. Twin Bagger (Part # 79392)
The Toro TimeCutter Twin Bagger with its 6.43 bushel (8 cu. ft.) capacity makes quick work of taking care of grass clippings or fallen leaves. When paired with one of Toro's top discharge decks, its performance can't be beat. It assembles easily and once initially installed, can be removed and put back on without tools. Includes bagger, mount kit and front weights.
-
Model #
74790 -
Serial #
400000000 - 401999999 -
Product Name
TimeCutter SW 5000 Riding Mower -
Product Brand
Toro -
Product Type
Riding Products -
Product Series
Zero Radius Turn, Consumer -
Chassis Type
ZRT - Consumer -
Swath
50 inch -
Discharge
Side -
Engine/Motor Manufacturer
Toro -
Engine/Motor Size
24.5 hp -
Engine/Motor Type
4 Cycle -
Engine Starter
Electric -
Transmission Type
Hydrostatic -
Traction Type
Rear WD
-
Engine: Battery
12V 195CCA -
Engine: Spark Plug Gap
.030"/ .76mm -
Chassis: Tire Pressure
13 psi / 90 kPa -
Chassis: Height of Cut Range
1.5-4.5"; 1/2" increments -
Engine: Engine Speed
3300±100 RPM -
Drive System: Ground Speed
Fwd. 0 - 7.0 Rev. 0 - 3.5 mph -
Engine: Ignition Coil Air Gap
0.011in (0.3mm) -
Engine: Spark Plug
Champion RN9YC / NGK BPR6ES -
Engine: Engine Oil Type
2.5 qts (80 oz. or 2.4L) 10W-30 with filter change -
Drive System: Gearbox Lubricant
56 oz. 20W50 Engine Oil





























