28 in. (71 cm) Power TRX HD Commercial Snow Blower 1428 OHXE
Product Information
- Model #: 38890
- Serial #: 417200000 - 999999999
- Product Type: Snowthrowers
Loading...
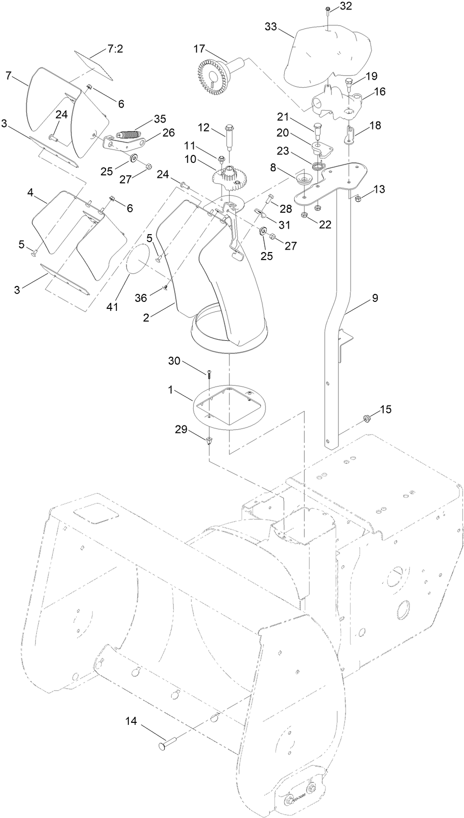
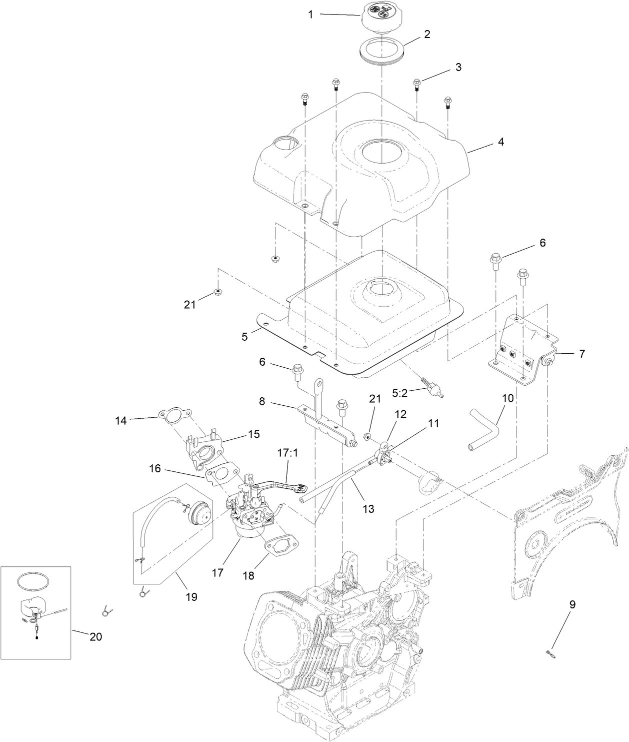
Assembly Drawings
Search for a part within assembly drawings:
-
Operator's Manual
-
Parts Catalog
-
Product Warranty
-
Quick Start Guide
Snow Blower Heated Grips (Part # 131-6460)
Maintain precise control in the harshest of winter conditions with these Toro OEM heated handgrips. These easy to install handgrips feature an ergonomic design for comfort with sure-grip technology so your gloves maintain their grip.
Snow Blower Snow Cab Kit (Part # 139-1640)
The Toro snow blower cab is the perfect addition to your Toro 2-stage snow blower. This easy-to-install cab protects you in the front, both sides and from above from blowing and swirling snow, sleet and wind. The Toro snow blower cab has clear, shatter resistant windows on 3 sides to ensure excellent visibility. In addition, the light-weight and tough, nylon reinforced, vinyl fabric resists tearing, abrasion, mold, mildew and rot. It's all designed to enhance your snow removal experience by making you more comfortable.
Winter 0W-30 Synthetic Winter Engine Oil (Part # 38913)
Toro 0W-30 Synthetic Winter Engine Oil is engineered to provide superior performance and easy
starting in extreme cold temperatures. The easiest starting winter oil in extreme cold.
Two-Stage Snow Blower Cover (Part # 490-7415)
Designed to protect your investment, the Toro Two-Stage Snow Blower Cover provides year-round season protection for your snow blower. Toro covers are constructed of tough, waterproof, tear and abrasion-resistant 600-denier polyester and will provide years of carefree protection against snow, sun damage, rain and dust. They feature vents to minimize condensation and heat buildup and an elastic opening to ensure a snug, secure fit. Designed for 2-stage snow blowers (and Snow Commanders) with a 28 in. or wider cutting width.
-
Model #
38890 -
Serial #
417200000 - 999999999 -
Product Name
28 in. (71 cm) Power TRX HD Commercial Snow Blower 1428 OHXE -
Product Brand
Toro -
Product Type
Snowthrowers -
Chassis Type
Two Stage -
Swath
28 inch -
Discharge
Two Stage -
Engine/Motor Manufacturer
Toro -
Engine/Motor Size
420cc -
Engine/Motor Type
4 Cycle -
Engine Starter
Electric/Recoil -
Transmission Type
Hydrostatic




















