66" Rake-O-Vac Sweeper
Product Information
- Model number: 07050
- Serial number: 70001 - 79999
- Product Type: Sweepers
Loading...
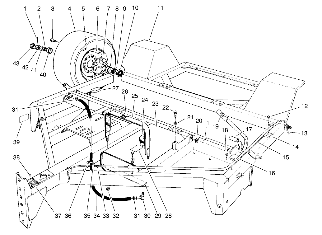
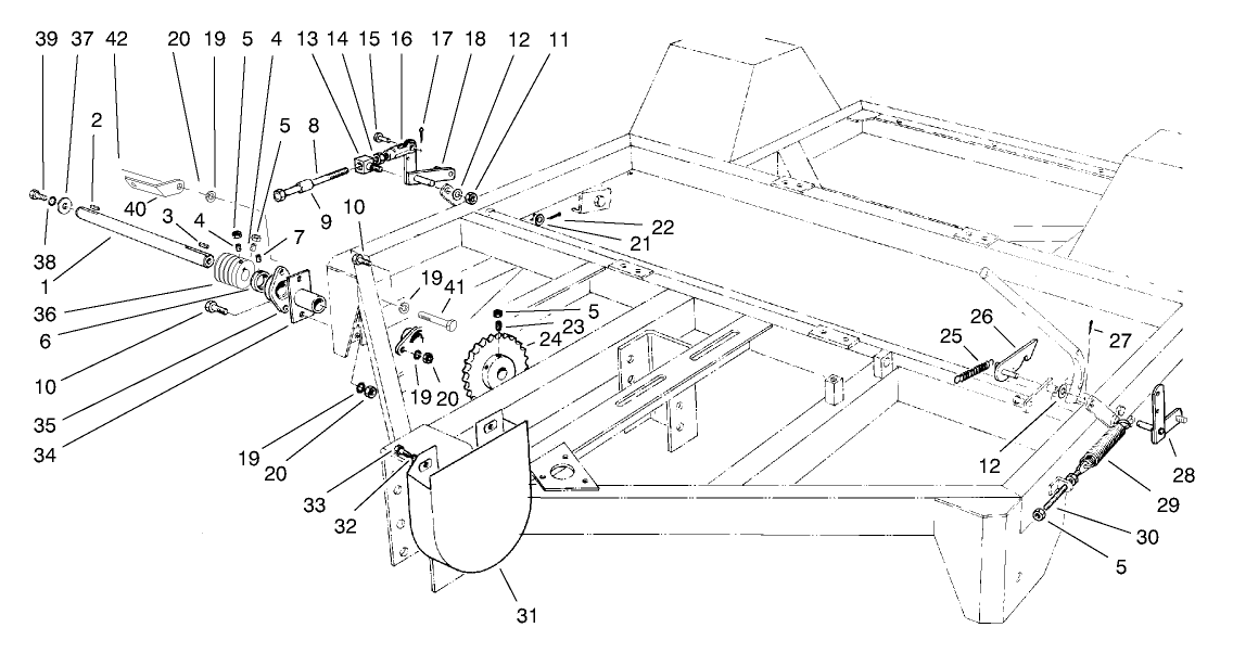
Assembly Drawings
Search for a part within assembly drawings:
-
Operator's Manual
-
Parts Catalogue
-
Service Bulletin
-
Model number
07050 -
Serial number
70001 - 79999 -
Product Name
66" Rake-O-Vac Sweeper -
Product Brand
Toro -
Product Type
Sweepers -
Product Series
Rake-O-Vac Series




















