CCR 3650 GTS Snowthrower
Product Information
- Model number: 38537
- Serial number: 240000001 - 240999999
- Product Type: Snowthrowers
Loading...
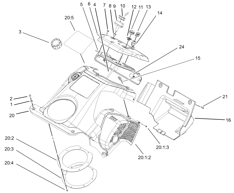
Assembly Drawings
Search for a part within assembly drawings:
-
Service Manual
-
Operator's Manual
-
Parts Catalogue
-
EU Declaration of Conformity
Toro Single Stage Cover (Part number 490-7464)
Plain Single Stage Cover (Part number 490-7465)
Snow Cab (Part number 88-0600)
-
Model number
38537 -
Serial number
240000001 - 240999999 -
Product Name
CCR 3650 GTS Snowthrower -
Product Brand
Toro -
Product Type
Snowthrowers -
Product Series
Snowthrower, Single Stage, CCR 2000/3000/3600 -
Chassis Type
Single Stage -
Swath
20 inch -
Discharge
Single Stage -
Engine/Motor Manufacturer
Toro -
Engine/Motor Size
6.5 hp -
Engine/Motor Type
2 Cycle EPA2 -
Engine Starter
Recoil -
Transmission Type
NA
-
Engine: Engine Oil Type
Toro 2 cycle / NMMA-TCW3 -
Engine: Engine Speed
4000±250 RPM -
Engine: Ignition Coil Air Gap
.010" / .25mm -
Engine: Mix Ratio
50:1 (2.6 oz./gal.) -
Engine: Spark Plug
NGK BPMR4A -
Engine: Spark Plug Gap
.030"/ .76mm









