Power Max 1028 OXE Snowthrower
Product Information
- Model number: 38644
- Serial number: 310000001 - 310999999
- Product Type: Snowthrowers
Loading...
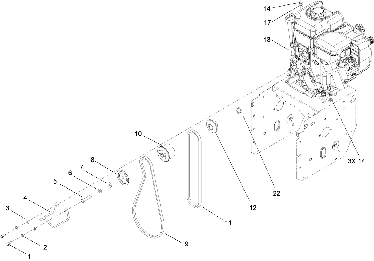
Assembly Drawings
Search for a part within assembly drawings:
-
Service Manual
-
Operator's Manual
-
Parts Catalogue
Tire Chain Kit (Part number 107-3813)
Snow Cab (Part number 107-3814)
Weight Kit (Required with Snow Cab) (Part number 107-3815)
28" Drift Breaker (Part number 107-3817)
Drive Shield Kit, Power Max Snowthrower (Part number 115-5699)
Toro 2-Stage Cover (Part number 490-7466)
Plain 2-Stage Cover (Part number 490-7467)
-
Model number
38644 -
Serial number
310000001 - 310999999 -
Product Name
Power Max 1028 OXE Snowthrower -
Product Brand
Toro -
Product Type
Snowthrowers -
Product Series
Snowthrower, Two Stage Power Max -
Chassis Type
Two Stage -
Swath
28 inch -
Discharge
Two Stage -
Engine/Motor Manufacturer
Briggs & Stratton -
Engine/Motor Size
305cc -
Engine/Motor Type
4 Cycle CARB3, EPA2 -
Engine Starter
Electric/Recoil -
Transmission Type
Friction Disc
-
Drive System: Gearbox Lubricant
4.5 oz. (133ml) SAE 90 GL5 or higher -
Engine: Spark Plug Gap
.030"/ .76mm -
Engine: Spark Plug
Champion QC12YC -
Chassis: Tire Pressure
17-20 PSI / 116-137 kPa -
Drive System: Ground Speed
Fwd. .7 / 1.1 / 1.5 / 1.9 / 2.3 / 2.7 Rev. 1.0 / 1.6 mph -
Engine: Engine Speed
3300±100 RPM -
Engine: Engine Oil Type
28 oz. (.83) 5w-30 or 10w-30 / API SH or higher








